ДП Корочкина (1221935), страница 6
Текст из файла (страница 6)
Рисунок 4.1.2. Кусторез СП-93Р
Управление рабочими органами, тормозами и дизелем осуществляется из кабины управления 13, машина оборудована системой АЛСН и радиосвязи. Питание систем управления обеспечивается напряжением 24 В постоянного тока.
Рама машины выполнена повышенной жесткости, имеет одинарное рессорное подвешивание в виде винтовых и листовых рессор. Для ограничения вертикальных перемещений рамы, в целях повышения устойчивости, в верхней части листовых рессор установлен арритер (упор) 16. Колесно-моторные блоки выполнены одинаковыми. Состоят из колесных пар с буксами на роликовых подшипниках, осевых одноступенчатых редукторов, тяговых электродвигателей Д213 с питанием от теристорного выпрямителя и реактивными подвесками. Машина оборудована автоматическими пневматическими тормозами 26 колодочного типа, имеет кран машиниста, кран вспомогательного тормоза № 254 и ручной привод тормоза.
Основным рабочим органом для срезания древесной поросли является ротор-фреза с режущими ножами (3 шт.), перемещение в рабочей зоне, которой, обеспечивается манипулятором с гидравлическим приводом. Верхнее плечо выполнено в виде балки 21, с одной её стороны установлен противовес, с другой – корпус подшипника 24 стойки нижнего плеча, в средней части приварен кронштейн стойки 9 для поворота балки в плане. Механизм поворота имеет два параллельно установленных гидроцилиндра, к штокам прикреплены концы цепи, имеющей зацепление со звездочкой, жестко посаженной на стойку 9. Выдвижение штока одного гидроцилиндра и втягивание другого, за счет перемещения цепи, обеспечивается поворот стойки и вместе с ней балки верхнего плеча. На балке установлен механизм поворота для нижнего плеча, конструкция которого аналогична. Верхнее плечо может поворачиваться только на 90 градусов на обе стороны от оси пути, поворотная рама нижнего плеча имеет возможность поворота на 180 градусов.
Нижнее плечо состоит из кронштейна 25, жестко посаженного на вал стойки 24 поворота, телескопической балки наружной 23 и внутренней выдвижной 20 на конце которой имеется сварной кронштейн с проушинами для крепления ротора-фрезы 19, гидроцилиндров выдвижения внутренней балки 20, поворота балки 1 (рисунок 4.1.2, б) ротора-фрезы и упор. Кронштейн 24 двумя боковыми щеками через проушины связан с наружной телескопической балкой. Два гидроцилиндра обеспечивают подъем и опускание фрезы-ротора (рисунок 4.1.2, а) вместе с нижним плечом.
Основные технические характеристики Кустореза СП-93Р приведены в приложении 1. таблице 8.
4.1.3. Машина для обработки растительности гербицидами РОМ-3М (рисунок 4.1.3).
В хвостовой части цистерны установлены центральные и боковые распылители водного раствора гербицидов. Рабочая скорость машины зависимости от плотности растительности на пути и регулируется от 10 до 25 км/ч. Расход рабочей жидкости (от двух насосов) 150 л/км пути и давлении полива (0,15 – 0,20) МПа. Оборудование для очистки рельсов машины РОМ-3М демонтировано. Управление распылением на ходу машины автоматизировано.
Рисунок 4.3. Машина для обработки растительности гербицидами РОМ-3М
4.1.4. Машина МПР 1-001.
Челябинский опытный завод путевых машин ЮУЖД для борьбы с растительностью на железнодорожных путях предлагает тепловой метод. Подавление растительности достигается парогазовой смесью с температурой на выходе из парогазогенератора (2 шт.) 125–250 Со. Рабочая скорость машины 3–5 км/ч при расходе воды 1160 кг/ч. Машина работает в паре с ТЭУ-400.
-
Эффективность применения гербицидов
Механическая вырубка деревьев и кустарников на железнодорожных путях малоэффективна, так как быстрое отрастание поросли от оставшихся пней и корней требует уже через год повторной вырубки. Весьма трудоемко и малоэффективно ручное (или механизированное) скашивание травянистой растительности, так как корни и корневища многолетних видов растений сохраняют жизнеспособность, поэтому через каждые 1,5 месяца приходится повторять уничтожение новой волны зарастания участков.
Многолетний опыт борьбы с нежелательной растительностью на различных объектах несельскохозяйственного пользования убедительно свидетельствует, что в настоящее время единственным реальным и высокоэффективным способом снижения затрат труда и средств на борьбу с зарастанием территорий является химический метод применения гербицидов. Технология применения гербицидов отличается высокой производительностью и мобильностью, что позволяет в сжатые сроки очистить индустриальные объекты от нежелательной растительности.
Оценка использования гербицидов должна проводиться по трем главным и равнозначным показателям: биологическая эффективность, экономическая эффективность и медико-санитарные условия безопасного использования конкретного препарата.
Из их числа наибольшую известность в последние годы получил гербицид Арсенал, ВК (250г/л) зарегистрированный фирмой БАСФ Агрокемикал продактс Б.В. (Германия). Этот препарат успешно применяется для борьбы с нежелательной растительностью на землях несельскохозяйственного пользования во многих странах мира.
В России гербицид Арсенал, 25% ВК широко и всесторонне изучался с 1990 года в качестве общеистребильного гербицида и арборицида в ряде научно- исследовательских институтов разных ведомств, сотрудничающих с системой Госхимкомиссии РФ: ВНИИ железнодорожного транспорта, ВНИИ карантина растений, ВНИИ лесного хозяйства, ВНИИ фитопатологии, ВНИИ гигиены и токсикологии пестицидов, полимеров и пластических масс, АзНИИ рыбного хозяйства.
На основании положительных результатов и заключений, названных НИУ гербицид Арсенал, 25% ВК был зарегистрирован в 1994 году для широкого применения на землях несельскохозяйственного пользования против нежелательной травянистой и древесно-кустарниковой растительности (регистрационное удостоверение № 0740, номер государственной регистрации № 840333; гербицид перерегистрирован в 2006 г. – регистрационное удостоверение №0014, номер государственной регистрации № 0014- 06-108-004-1-0-4-0).
-
Навесное оборудование для опрыскивания гербицидами растительности на железнодорожных путях
Существует несколько вариантов навесного оборудования. Рассмотрим наиболее применимое навесное оборудование для удаления растительности на железнодорожных путях в условиях ОАО «Артемовское ППЖТ» - опрыскиватель для борьбы с сорной травяной и древесно-кустарниковой растительностью на железной дороге на дрезину АГМу.
Опрыскиватель (рисунок 4.3) устанавливается на дрезину или на платформу, которая может буксироваться дрезиной. Опрыскиватель состоит из рамы, с установленной на ней баком, продольной штанги с распылителями для обработки пути от травы и боковой штанги для обработки откосов от кустарников. Опрыскиватель укомплектован баком емкостью объемом 10 м3. Обрабатываемая дистанция в зависимости от скорости обработки за одну заправку составляет от 40 до 90 км. Скорость движения при опрыскивании от 10 до 30 км/ч. Высота подъема штанги с распылителями над обрабатываемой поверхностью может регулироваться с помощью гидроцилиндра. Расход жидкости через один распылитель составляет от 1 до 1,5 литра в минуту. Рабочая жидкость распыляется с помощью распылителей - вентиляторов. Жидкость по шлангам поступает по вращающимся сетчатым барабанам и распыляется ими на однородные капли заданного размера. Для предотвращения сноса рабочей жидкости с обрабатываемого участка на распылителях установлены лопатки вентилятора, создающие направленный воздушный поток. Применение распылителей-вентиляторов позволяет выполнять обработку путей от травы без разворота дрезины. Используемый метод малообъемного опрыскивания позволяет на 40-50 % уменьшить расход препарата. Это достигается за счет более равномерного распыления, которое создается вращающимися распылителями и большей эффективностью химикатов при меньшем разведении их водой. Эффективность метода малообъемного опрыскивания доказаны многочисленными лабораторными и полевыми испытаниями.
Для приготовления рабочего раствора в бак опрыскивателя добавляется требуемое количество воды и химикатов. Для перемешивания открывается на смесители кран и на пульте включается тумблер насоса. Через 20 минут перемешивания опрыскиватель готов к работе. Для выполнения опрыскивания необходимо закрыть кран перемешивания и открыть краны подачи рабочей жидкости к распылителям, включить на пульте управления тумблеры распылителя и насоса. Перед каждым распылителем установлен отсечной клапан мембранного типа. Он необходим для предотвращения подтекания рабочей жидкости при выключении насоса и при открытом кране. Штанга с распылителем вентилятором для обработки кустарников может устанавливаться в нижнем положении и верхнем на продольной штанге. При этом все элементы конструкции опрыскивателя находятся в габаритах дрезины. В другом положении штанга устанавливается сбоку опрыскивателя в нескольких положениях, но при этом выступает за габариты дрезины. Штанга может сниматься с опрыскивателя и выполняться обработки на 3-4 метра от опрыскивателя.
1 – емкость для гербицидов, 2-гидростанция, 3-гидроцилиндр, 4-блоки, 5-рама, 6-заливная горловина, 7-распылители, 8 - платформа
Рисунок 4.3.
-
Технологический раздел
-
Описание конструкции детали
-
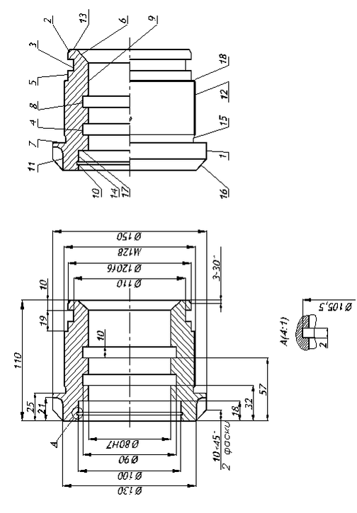
Втулка является составной частью (деталью) гидроцилиндра подъёма-опускания штанги опрыскивателя.
Деталь-втулка показана на рисунке 5.1. Изготовлена втулка из алюминиевой бронзы БрАЖ9-4 ГОСТ 18175-78. Основные характеристики материала приведены в таблице 5.1.
Таблица 5.1
Основные характеристики бронзы БрАЖ9-4
| Марка бронзы | Содержание элементов, % | Механические свойства | ||||
| БрАЖ9-4 | Al | Fe | Ni | НВ | ||
| 9 | 4 | 4 | 180 | 500 | 180 | |
Втулка гидроцилиндра предназначена для того, чтобы гидравлическое масло не могло вытечь из гильзы гидроцилиндра, она имеет посадочные места для резиновых уплотнительных колец и посадочное место для пружинного упорного плоского внутреннего кольца, которое закрепляет от осевого смещения грязесъемника. Втулки вкручиваются с двух сторон гильзы гидроцилиндра. Втулка является унифицированной деталью, каждая из поверхностей которой выполняет определенные функции и в соответствии с ними производится обработка этих поверхностей, с определенным качеством и точностью обработки. На рисунке 5.1 показано обозначение поверхностей.
Поверхности 4, 11 и 3 предназначены для посадки уплотнительных резиновых колец, поверхность 14 предназначена для посадки грязесъемника, 10 для посадки пружинного упорного кольца. Фаски 2,6 облегчает посадку резиновых колец. Канавка 15 предназначена для выхода резца при нарезании резьбы на поверхности 12.
-
Выбор заготовки
Материал заготовки - алюминиевая бронза БрАЖ9-4 ГОСТ 18175-78. Заготовку выбираем из прутка диаметром 150 мм. Принимаем заготовку из прессованной алюминиевой бронзы нормальной точности выполнения по ГОСТ 1628-78. Эскиз заготовки представлен на рисунке 5.2.















