ПОЯСНИТЕЛЬНАЯ ЗАПИСКА (1219538), страница 3
Текст из файла (страница 3)
Анализ средних метеорологических данных для городов и пунктов показал, что средняя продолжительность периода со среднесуточной температурой наружного воздуха от 0
до минус 45
составляет более 180 суток.
В Статистический анализ параметров наружного воздуха позволил определить время работы тепловозов при различных температурах и построить температурный спектр, позволяющей выделить интервал температуры, в котором основное время работают тепловоза.
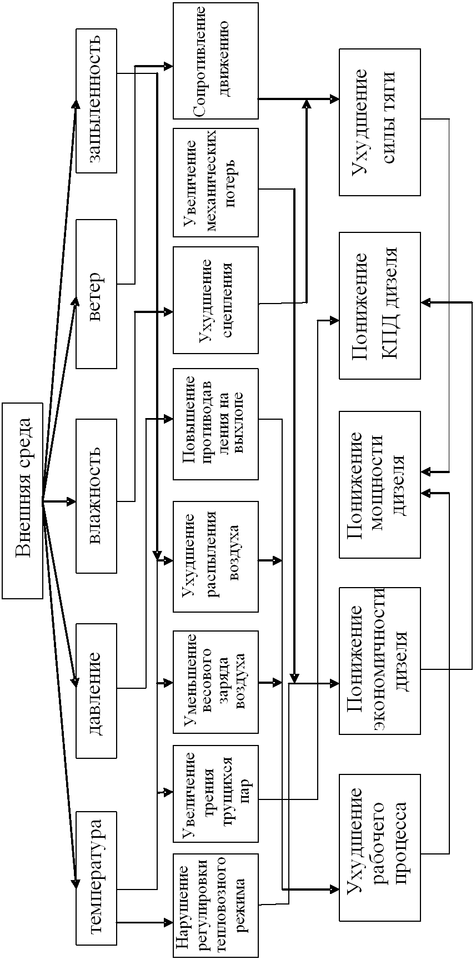
Воздействие окружающей среды на элементы аппаратуры и узлов тепловозов приводит к повышению работоспособности, изменению рабочих параметров и характеристик дизель-генераторных установок. Чтобы обеспечить безотказную работу автономных тепловозов в различных условиях эксплуатации, необходимо знать, какое влияние оказывают на них факторы внешней среды, встречающиеся в природе. На рисунке 4 показано воздействие параметров внешней среды на работоспособность и эффективность использования дизельных локомотивов.[5]
| Рисунок 1.4 - Воздействие факторов внешне среды на работоспособность и эффективность использования тепловозов |
2. СИСТЕМАТИЗАЦИЯ И АНАЛИЗ ДАННЫХ НАДЕЖНОСТИ РАБОТЫ ОБОРУДОВАНИЯ
2.1 Анализ по выходу из строя локомотивного оборудования
Во время эксплуатации тепловозов происходят отказ локомотивного оборудования. Эти отказы влияют на безопасность движения поездов. В декабре месяце 2014 год по Комсомольскому региону допущено 29 событий в безопасности движения поездов с тепловозами приписки ТЧЭ-9. Из них, 19 событий отнесено к сервисному локомотивному депо Амурское. За аналогичный период 2013 года по Комсомольскому региону по причастности к ТЧР-39 всего допущено 2 события в безопасности движения, из них по результатам разборов на ответственность ремонтного локомотивного депо Амурское отнесено 1 событие. В декабре месяце 2014 года, по сравнению с декабрем 2013 года по сервисному локомотивному депо Амурское допущен рост на 18 событий относительно прошлого года.
За 12 месяцев 2014 года по Комсомольскому региону по причастности ТЧР-39, всего допущено 165 событий в безопасности движения с тепловозами приписки ТЧЭ-9, из них по результатам разборов на ответственность сервисного локомотивного депо Амурское отнесено 113 событий. За 12 месяцев 2014 года по Комсомольскому региону по причастности ТЧР-39 допущено 82 события в безопасности движения, из них за ремонтным локомотивным депо Амурское отнесено 63 события. По итогам 12 месяцев 2014 года по сравнению с 12 месяцами 2013 года по сервисному локомотивному депо Амурское допущен рост на 50 событий (на 79% относительно прошлого года).
Положение с количеством событий в безопасности движения за декабрь и 12 месяцев 2014/2013гг. с разбивкой по участкам сервисного локомотивного депо Амурское отражено в таблице 2.1.
Таблица 2.1 - Количество событий с тепловозами приписки ТЧЭ-9 допущенных по вине сервисного (ремонтного) локомотивного депо Амурское по месяцам за 2010 – 2014 года
| Год | Месяц | Всего | ||||||||||||
| 1 | 2 | 3 | 4 | 5 | 6 | 7 | 8 | 9 | 10 | 11 | 12 | |||
| 2010 | 2 | 4 | 3 | 2 | 5 | 6 | 5 | 3 | 7 | 5 | 8 | 3 | 53 | |
| 2011 | 4 | 5 | 7 | 6 | 10 | 7 | 6 | 4 | 5 | 3 | 2 | 4 | 63 | |
| 2012 | 2 | 3 | 3 | 5 | 9 | 8 | 4 | 3 | 8 | 2 | 1 | 4 | 52 | |
| 2013 | 4 | 2 | 6 | 6 | 5 | 12 | 4 | 7 | 5 | 5 | 6 | 1 | 63 | |
| 2014 | 7 | 3 | 3 | 4 | 11 | 4 | 6 | 15 | 15 | 10 | 16 | 19 | 113 | |
Количество событий с локомотивами (всего 29 случай) по организационным причинам за декабрь месяц 2014 года распределилось следующим образом:
-
19 случаев – некачественный деповской ремонт – 65,5%;
-
3 случая – неудовлетворительная эксплуатация – 10,3%;
-
1 случай – вина других сервисных депо – 3,4%;
-
5 случаев – вина локомотиворемонтных заводов – 17,2%.
Отсюда можно сделать вывод, что большинство количество событий с локомотивами происходит из-за некачественного деповского ремонта.
За частую, во время эксплуатации локомотива на повышенных позициях контролера машиниста, да и в целом происходит отказ оборудования. Данное оборудование можно разбить на группы и провести статистику за 2013 и 2014 года.
Таблица 2.2 - Распределение событий по группам оборудования за 12 месяцев 2014 и 2013года по вине ТЧР-39
| Наименование групп | 2014 год | 2013 год | Процент от общего количества | |
| 2014 | 2013 | |||
| Дизельная | 25 | 15 | 22,12% | 23,81% |
| Вспомогательное оборудование | 16 | 8 | 14,16% | 12,70% |
| Электрооборудование | 44 | 28 | 38,94% | 44,44% |
| Экипажная часть | 14 | 9 | 12,39% | 14,29% |
| Прочие | 14 | 3 | 12,39% | 4,76% |
| Итого | 113 | 63 | 100% | 100% |
Проаналировав таблицы можно сделать вывод, что большинство событий отказов оборудования приходится на электрооборудование и дизельное оборудование. В 2014 году по сравнению с 2013 годом, отказ электрооборудование уменьшился на 5 %, а дизельное оборудование на 2 %. В основу электрооборудования входит тяговый электродвигатель и тяговый генератор. По этим двум электрическим машинам происходит наибольшее количество отказов.
Рисунок 2.1 - Распределение событий по группам неисправного оборудования за 12 месяцев 2013 год
Рисунок 2.2 - Распределение событий по группам неисправного оборудования за 12 месяцев 2014 года
2.2 Анализ по выходу из строя тяговых электродвигателей тепловозов приписки ТЧЭ-9
На тепловозах приписки ТЧЭ-9 используются тяговые электродвигатели марки ЭД-118Б. ТЭД представляет собой электрическую машину постоянного тока с последовательного возбуждения с добавочными полюсами. [3]
ООО “ТМХ - Сервис”, к которому относится ремонтное депо Амурское, и в частности эксплуатационное депо введет факторный анализ по выходу из строя локомотивного оборудования. Ежегодно проводится статистика и анализ. В данном разделе приведен анализ по выходу из строя тяговых электродвигателей и тягового генератора.
За 10 месяцев 2014 год из-за выхода из строя, снижения сопротивления изоляции и отключения в эксплуатации в сервисном локомотивном депо «Амурское» произведена как плановая, так и неплановая смена 377 тяговых электродвигателей тепловозов приписки ТЧЭ-9. Наблюдается значительное снижение по сравнению с 2013 годом на 257 тяговых электродвигателя, так за 10 месяцев 2013 года произведено 634 как неплановых, так и плановых смен ТЭД.
В среднем за 10 месяцев 2014 года локомотивными бригадами ежесуточно производит отключение 2-х тяговых электродвигателей эксплуатируемого парка тепловозов. При этом в основном депо Комсомольск ежесуточно производится смена 2-х колесно-моторных блоков только по неисправности тяговых электродвигателей, что негативно сказывается на содержании эксплуатируемого парка трехсекционных тепловозов в ремонте и эксплуатации.
Смена 377 (2013 год - 634) тяговых электродвигателей производилась на следующих видах ремонта:
-
техническое обслуживание ТО-3 - 89 ТЭД примерно 24%. (134 ТЭД - 21%);
-
текущий ремонт в объеме ТР-1 - 100 ТЭД примерно 26%. (216 ТЭД - 34%);
-
на не плановом ремонте - 188 ТЭД примерно 50%. (284 ТЭД - 45%).
Анализ тяговых электродвигателей, смененных в неплановом и плановом порядке (визуальный осмотр, измерение рабочих параметров) показывает, что основной причиной выхода из строя тяговых электродвигателей является:
-
низкое сопротивление изоляция якоря и обмотки возбуждения – 187 ТЭД примерно 50%.
-
пробой и МВЗ обмотки якоря ТЭД – 50 ТЭД примерно 13%.
Таблица 2.3 – Анализ повреждений тяговых электродвигателей за 2013года
| Причины неисправности | 2013 | год | ||||||||||||
| 1 | 2 | 3 | 4 | 5 | 6 | 7 | 8 | 9 | 10 | 11 | 12 | |||
| Пробой и МВЗ обмотки якоря | 21 | 23 | 19 | 31 | 37 | 21 | 12 | 15 | 3 | 8 | 190 | |||
| Пробой и МВЗ полюсных катушек | 16 | 12 | 9 | 18 | 23 | 14 | 6 | 5 | 2 | 2 | 107 | |||
| Низкая изоляция якорных, полюсных катушек | 28 | 27 | 31 | 34 | 36 | 30 | 19 | 29 | 24 | 21 | 279 | |||
| Повреждение, обгар полюсных катушек | - | - | - | 1 | 1 | - | - | - | - | - | 2 | |||
| Повреждение выводных кабелей | - | - | 1 | 1 | 3 | 2 | - | 3 | 3 | - | 13 | |||
| Повреждение коллекторно-щёточного узла | 3 | 2 | - | 2 | 4 | 3 | 3 | 4 | 2 | 4 | 27 | |||
| Разрушение стеклобандажа якоря | 2 | 1 | 2 | 3 | - | - | - | 2 | - | 4 | 14 | |||
| Повреждение якорной обмотки | 1 | 1 | - | - | 2 | - | - | - | 1 | - | 5 | |||
| ВСЕГО: | 71 | 66 | 62 | 90 | 106 | 70 | 40 | 58 | 35 | 39 | 634 | |||















