5. Пояснительная зaписка (1212220), страница 5
Текст из файла (страница 5)
Подобные расчеты называются механическим расчетом проводов и его основная цель – выявить условия, обеспечивающие в проводах создание необходимого запаса прочности, а основной результат – монтажные таблицы и графики, по которым монтируются провода ЛЭП.
6.1 Расчет сталеалюминевых проводов
В работе сталеалюминевого провода участвуют два металла, обладающие различными физико-механическими свойствами и поэтому по-разному воспринимающие действие внешней растягивающей силы и изменения температуры.
Ограничение напряжения провода двумя режимами – низшей температуры и наибольших нагрузок – достаточно лишь в том случае, если напряжение в проводе в третьем режиме (при среднегодовой температуре) не превышает
от временного сопротивления разрыву провода в целом. Во всех остальных случаях расчет сталеалюминевых проводов надо вести, согласно ПУЭ [1], по следующим трем исходным условиям:
а) режим низшей температуры;
б) режим наибольшей температуры;
в) режим среднегодовой температуры.
Поскольку напряжение в проводе ограничивается тремя исходными режимами, то существует три критических пролета, соответствующих пограничным условиям этих режимов:
а)
– пролет, для которого напряжение провода в режиме низшей температуры достигает допустимого значения
, а в режиме среднегодовой температуры – значения
:
, (6.1)
где
– коэффициент упругого удлинения материала провода, то есть величина, дающая изменение единицы длины провода при увеличении напряжения на 1
;
модуль упругости,
.
Рассчитаем критический пролет
по формуле (6.1):
м;
б)
– пролет, при котором напряжение провода в режиме наибольшей нагрузки равно допустимому напряжению
, а в режиме низшей температуры равно
:
. (6.2)
Рассчитаем критический пролет
по формуле (6.2):
в)
– пролет, при котором напряжение провода в режиме среднегодовой температуры равно допустимому напряжению
, а в режиме наибольшей нагрузки равно
:
. (6.3)
Рассчитаем критический пролет
по формуле (6.3):
м.
Выбор исходных расчетных условий проводов по соотношениям действительного и критических пролетов осуществляем по таблице 2.4 [5]. Принимаем крепление провода шарнирное, тогда
для каждого анкерного участка. Так как соотношение критических пролетов
>
>
и соотношение действительного и критических пролетов l >
, то исходные расчетные условия принимаются
,
и
.
После нахождения исходных режимов необходимо составить монтажные таблицы и построить монтажные графики. Так как за исходный принят режим наибольших добавочных условий, то уравнение состояния, по которому рассчитывается монтажная таблица, будет иметь вид:
. (6.4)
Подставив данные в формулу (6.4), получим уравнение состояния для построения монтажных графиков:
Численные значения величин для монтажных таблиц получают, находя напряжения в пролете по уравнению состояния провода в пролете при различных температурах.
Стрела провеса провода в каждом пролете определяется по формуле:
. (6.5)
Результаты вычислений для различных температур и анкерных участков сведем в таблицу 6.1.
Построение монтажных кривых представлено на рисунке 6.1
Таблица 6.1 – Монтажная таблица для анкерного участка (lпр=347,5 м)
| Температура, | Напряжение в проводе, | Стрела провеса, f, м |
| -47 | 3,851245 | 8,56 |
| -40 | 3,800929 | 8,673 |
| -35 | 3,766119 | 8,753 |
| -30 | 3,732208 | 8,833 |
| -25 | 3,699157 | 8,912 |
| -20 | 3,666934 | 8,99 |
| -15 | 3,635504 | 9,068 |
| -10 | 3,604838 | 9,145 |
| -5 | 3,574905 | 9,222 |
| 0 | 3,545678 | 9,298 |
| 5 | 3,517129 | 9,373 |
| 10 | 3,489235 | 9,448 |
| 15 | 3,461972 | 9,522 |
| 20 | 3,435315 | 9,596 |
| 25 | 3,409245 | 9,67 |
| 30 | 3,38374 | 9,743 |
| 35 | 3,358781 | 9,815 |
| 40 | 3,334348 | 9,887 |
По резутальтам таблицы можно сделать вывод , что стрела провеса f не превышает стрелу провеса раннее расчитануюю в пункте 5.
м.
Далее представлен рисунок, показывающий зависимость, напряжения провода и стрелу провеса от температуры.
Рисунок 6.1 – Монтажный график.
7.ЛИНЕЙНАЯ АРМАТУРА
Линейная арматура гирлянды изоляторов предназначена для ее крепления к траверсе опоры и для крепления провода к гирлянде.
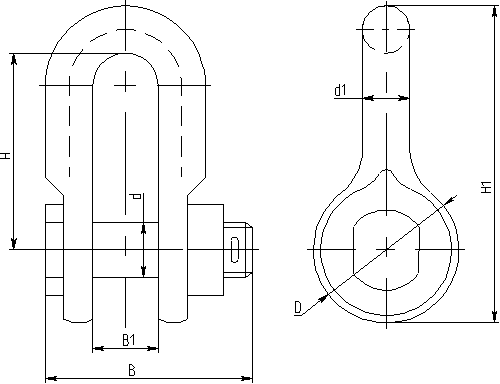
Скоба СК способствует возможности перехода со скобы одного вида нагрузки на скобы соседнего (большего или меньшего) ряда нагрузок через цепное соединение.
Таблица 7.1 размеры скобы СК-12-1А
| Тип | Размеры по рисунку 7.1, мм | ||||||
| B | B1 | D | d | d1 | H | H1 | |
| СК-12-1А | 93 | 23 | 52 | 22 | 18 | 65 | 109 |
Рисунок 7.1 – Скоба СК-12-1А
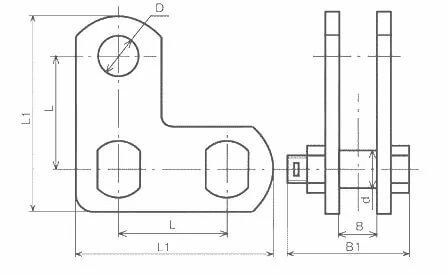
Звенья предназначены для удобства монтажа натяжных и поддерживающих изолирующих подвесок. Звенья должны соответствовать ТУ 3449-018-40064547-01.
Таблица 7.2 звено промежуточное ПРТ-12/7-2
| Тип | Размеры по рисунку 7.2, мм | |||||||
| L | А | D | H | B | B1 | d | o | |
| ПРТ-12/7-2 | 145 | 95 | 23 | 45 | 61 | 17 | 16 | 20 |
Р
исунок 7.2 –Звено промежуточное
Серьга предназначена для комплектации изолирующих подвесок проводов и молниезащитных тросов воздушный линий электропередачи. Для непосредственного соединения с шапками подвесных изоляторов , реже с головками ушек. Серьги должны соответствовать требованиям ТУ 3449-012-40064547-01.
Таблица 7.3 серьги СР-12-16
| Тип | Размеры по рисунку 7.3, мм | |||||
| b | D | D1 | d | H | H1 | |
| СР-12-16 | 17 | 45 | 23 | 17 | 100,9 | 65 |
Рисунок 7.3 – Эскиз серьги СР-12-16
Ушки укороченные типов У1К, У2К служат для комплектования изолирующих подвесок и тросовых креплений без защитной арматуры. Применение ушел типов У1К и У2К сокращает длину подвески и уменьшает её массу. Ушки всех типов должны соответствовать требованиям ТУ 3449-014-40065457-01.
Таблица 7.4 звено промежуточное ПР-12-6
| Тип | Размеры по рисунку 7.4, мм | |||||
| A | b | D | D1 | H | L | |
| ПР-12-6 | 85 | 22 | 51 | 23 | 50 | 136 |
Рисунок 7.4 – Звено промежуточное ПР-12-6
8. ГРОЗОЗАЩИТА
Самым эффективным способом защиты линий электропередачи является применение заземленных тросовых молниеотводов, подвешиваемых по всей длине (рисунок 8.1). Их используют на линиях с металлическими и железобетонными опорами напряжением 220 кВ и выше.
Рисунок 8.1 – Расположение и подвес троса: а) на опоре, б) схема подвеса














