Диплом Радионов Дмитрий Валерьевич 2017 (1210980), страница 3
Текст из файла (страница 3)
Стенд должен обладать принудительным и естественным охлаждением и рассматривалось два варианта: первый, установка радиаторов большого размера, что увеличит общую массу всего стенда, и второй установка кулера малой мощности для постоянной вентиляции стенда.
Индикация стенда, должна сигнализировать обучаемого о том, что стенд находится под напряжением и на макетное поле поступает различное напряжение. Ручки-регуляторы должны иметь прочную и надежную конструкцию и различаться по цветам.
2.1.2 Выбор наиболее подходящих материалов для изготовления учебного стенда по электронике
Для изготовления каркаса учебного стенда был выбран алюкобонд, так как этот материал очень хорошо поддается обработке, долговечность лакокрасочного покрытия и прочность, ставят его на первое место среди остальных вариантов и глянцевая пластмасса, которая облегчает всю конструкцию и на ней не оставляет следов шариковая ручка. В месте стыка пластмасса приклеивается с помощью специального клея, для соединения пластмассы. Устройства визуализации выбраны из наиболее популярных, предлагаемых на рынке товаров, которые имеют нужную функциональную “начинку”. Макетное поле выбрано самое оптимальное, согласно размеру и положению на стенде. Принудительное охлаждение достигается за счет применения больших радиаторов. Индикация стенда выбрана из светодиодов красного цвета, так как красный цвет наиболее активный с точки зрения психологии, и он оказывает влияния на поведение и работу обучаемого. Включение стенда производится с помощью тумблерного переключателя, кнопочный переключатель менее надёжный и в процессе эксплуатации выходит из строя намного чаще. Резиновые ножки для стенда устраняют скольжение по поверхности парты. Для изготовления печатной платы выбран текстолит и нанесение дорожек производится по утюжно-лазерной технологии. Лицевая крышка дополнительно залакирована для исключения стирания надписей в процессе эксплуатации.
2.2 Описание комплектующих деталей для сборки стенда
Комплектующие детали приобретаются не только в России, но и на международной торговой арене”E-bay”.Это позволяет выбирать наиболее подходящие по функциональным характеристикам электронные компоненты по меньшей цене, что в итоге влияет на общую стоимость стенда и функциональные характеристики.
2.2.1 Макетное поле MB-102
Главным элементом любого стенда является рабочая область, в стендах по электронике рабочая область стенда указывает на функциональные возможности этого стенда. Как известно из анализа наиболее популярных стендов, они построены по модульному принципу и включают заранее смонтированные электрические схемы, картриджи, и вариантность этих стендов ограничена наличием малого числа картриджей. В разрабатываемом стенде основной задачей является максимальное увеличение вариантности и возможность сборки как любых простых, так и сложных схем. И выбор рабочей области ставится на первое место. Исследуя рынок предлагаемых товаров, наиболее подходящим вариантом оказалось применение в качестве рабочей области макетного поля марки MB-102.
Макетное поле – удобное пространство для создания как простых, так и сложных проектов с большим количеством элементов и соединений. Макетное поле марки MB-102 состоит из 830 контактных гнезд, четырех шин питания, пластиковой изолирующей подставки, двустороннего скотча для крепления на поверхность и 65 соединительных проводов разной длины. Геометрический размер составляет 165.5 х 56.5 мм, а толщина 8.5мм.Специальный пружинный механизм контактов, которые состоят из сплава никеля с добавлением фосфорной бронзы, выдерживает до 5000 циклов вставки элементов в гнездо. Вес макетного поля, производством из Тайваня, составляет 102 грамма.
Рисунок 2.1 – Макетное поле MB-102
2.2.2 Мультиметр DT832
Современные измерительные приборы уже давно вышли на новый уровень – цифровые технологии прочно заняли практически все позиции, вытесняя устаревшие аналоговые приборы. В большой степени это коснулось и таких распространенных измерительных приборов, как вольтметр и амперметр. Теперь в небольшом удобном корпусе умещается прибор, позволяющий с высокой точностью производить замеры как основных параметров – силы тока, сопротивления, напряжения, так и многих других – частоты, емкости, температуры и т.д. В комплект входит батарея питания и щупы, что позволяет приступить к измерениям сразу после покупки устройства.
DT832 – недорогой мультиметр, который используется для измерения напряжения, постоянного тока, сопротивления, а также для проверки целостности диодов и коэффициента усиления транзисторов. Мультиметр снабжен защитой от перегрузки на всех пределах измерений и индикацией разряда батареи. Это идеальный инструмент для использования в лабораториях, цехах, для хобби и для работы дома. На передней панели располагается: переключатель функций и диапазонов. Этот переключатель используется как для выбора функций и желаемого предела измерений так и для выключения прибора. Для продления срока службы батареи переключатель должен быть в положении “OFF” когда прибор не используется. Дисплей 7-сегментный ЖКИ высотой 0.5дюйма. Разъем “COM”(общий). Разъем для черного (отрицательного) провода-щупа. Разъем “V,W,mA”. Разъем для красного (положительного)провода-щупа для измерения всех напряжений, сопротивлений и токов (кроме 10 А). Разъем “10А”. Разъем для красного (положительного)
провода-щупа для измерения токов в диапазоне до 10А. Данная модель обладает базовыми функциональными характеристиками и позволяет проводить все необходимые произведения.
Рисунок 2.2 – Мультиметр DT832
2.2.3 Осциллограф DSO-112
Для визуализации входных и выходных сигналов был выбран малогабаритный, легкий, переносной с полосой пропускания до 1 МГц и цветным сенсорным экраном осциллограф MS 102. Осциллограф с сенсорным экраном позиционируется производителем Jye Tech как любительский для студентов и хобби.
К основным функциональным характеристикам осциллографа можно отнести:
-
Количество каналов: 1;
-
Аналоговая ширина полосы: 0 - 1MHz ;
-
Чувствительность: 2mv / дел - 20В / дел;
-
Разрешение: 8 бит;
-
Входной импеданс: 1м Ом;
-
Максимальное входное напряжение: 50vpk;
-
Литий-ионный аккумулятор напряжением 3.7В / USB;
-
Экран 2,4» разрешением 320 x 240;
-
Потребляемый ток: 300mA @ 3.7V (LCD подсветки);
-
Встроенное зарядное устройство;
-
Размер: 80 мм х 70 мм х 18 мм;
-
Вес: 85 грамм (не включая кабели);
Рисунок 2.3 – Осциллограф DSO 112
2.2.4 Электрические схемы генераторов
Генераторами называются электрические схемы, которые производят периодические колебания различных форм: синусоидальные, прямоугольные, пилообразные. Основой любого генератора является кварцевый резонатор, резисторы, конденсаторы и катушки индуктивности.
2.2.4.1 Генератор синусоидальных сигналов
Генераторы синусоидального сигнала обычно применяются в качестве образцовых или испытательных генераторов во многих схемах. В чистом синусоидальном сигнале присутствует только основная частота и отсутствуют другие гармоники. В настоящее время широкое применение получили генераторы синусоидальных сигналов на операционных усилителях. Схемы таких генераторов называют нестабильными, их специально конструируют так, чтобы они оставались в нестабильном состоянии или в состоянии генерации. Генераторы полезны для получения стандартных сигналов, используемых как образцовые для настройки звуковой и низкочастотной радиоаппаратуры линий связи так и для разработки передового медицинского оборудования . Генераторы синусоидального сигнала работают без подачи на них внешнего сигнала. Вместо этого применяется комбинация положительной или отрицательной обратной связи, чтобы перевести усилитель в нестабильное состояние, что приводит к цикличному изменению сигнала на выходе от минимального до максимального напряжения питания с постоянным периодом. Частота и амплитуда колебаний определяется набором активных и пассивных компонентов, подключённых к операционному усилителю [7].
Рисунок 2.4 – Схема генератора синусоидального сигнала
Данная электрическая схема позволяет собрать достаточно простой и надёжный генератор синусоидальных сигналов с низким коэффициентом гармонических искажений. Это схемотехническое решение обеспечивает весьма высокое качество стабилизации уровня выходного сигнала при низких искажениях.
2.2.4.2 Генератор прямоугольных импульсов
Амплитуда генерируемого сигнала нужна очень стабильная и близкая к напряжению питания. Сигнал должен быть импульсным, причем длительность импульсов и пауз между ними должна легко регулироваться. Для получения прямоугольных импульсов собран генератор прямоугольных сигналов. Широко распространенный генератор прямоугольных сигналов – симметричный мультивибратор на двух транзисторах. В нем два стандартных усилительных каскада на транзисторах соединены в последовательную цепочку, то есть выход одного каскада соединен со входом другого через разделительные конденсаторы [5].
Рисунок 2.5 – Схема генератора сигнала прямоугольной формы
2.3 Электропитание
Электропитание учебного стенда по электронике осуществляется из сети переменного напряжения 220 вольт. Для гальванической развязки было принято решение использовать трансформатор накаливания ТН36-220-50, он имеет одну первичную обмотку и такую же нумерацию выводов, как у трансформаторов на 127/220 В.
Электрические параметры, габаритные и установочные размеры, а также масса трансформаторов ТН36 на 220 В такие же, как у соответствующих трансформаторов ТН36 на 127/220 В:
-
сердечник: ШЛ16х32;
-
мощность: 30 Вт;
-
мок первичной обмотки: 0,3 А;
-
масса: 1кг.
Напряжение на отводах первичных обмоток трансформаторов ТН36 на 127/220 В составляют:
-
между выводами 1 и 1а, 4 и 4а - 3,2 В;
-
между выводами 1 и 1б, 4 и 4б - 6,3 В;
-
между выводами 1 и 2, 4 и 5 - 110 В;
-
между выводами 1 и 3, 4 и 6 - 127 В.
При использовании трансформаторов ТН36-127/220 на 220 В необходимо:
-
соединить выводы 2 и 4;
-
подать напряжение 220 В на выводы 1 и 5
Рисунок 2.6 – Электрическая принципиальная схема накального трансформатора ТН36-220-50
В трансформаторах ТН36 возможно параллельное согласное соединение вторичных обмоток для увеличения их нагрузочной способности.
Для получения выходных напряжений, больших чем 6,3 В, вторичные накальные обмотки можно соединять последователь в согласном включении. При последовательном согласном включении обмоток с разными допустимыми токами ток через обмотки не должен превышать минимального допустимого [6].
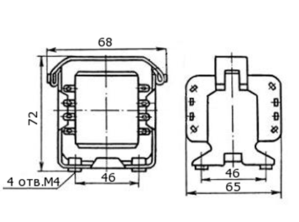
Рисунок 2.7 – Конструкция накального трансформатора ТН36
3 Расчет экономических затрат на изготовление прибора
3.1 Общие положения
В процессе реализации задач по обеспечению контроля и управления технологическими процессами на железнодорожном транспорте, широко используются различные системы автоматики и телемеханики. Для надежной и постоянной работы устройств автоматики, необходимо своевременно проводить техническое обслуживание и ремонт оборудования. То есть необходимо контролировать не только технологический процесс, но и работу устройств, обеспечивающих контроль и управление технологическим процессом. Устройства не всегда находятся в пределах станции а могут находиться на перегоне, что осложняет работу обслуживающего персонала.
Целью данного диплома является разработка учебного стенда по электронике, для качественного повышения уровня выпускаемых специалистов, это в будущем улучшит мониторинг устройств СЦБ. Разрабатываемый стенд призван улучшить материально техническое обеспечение бригады обслуживания перегонных и станционных устройств СЦБ.
С коммерческой точки зрения данный стенд заинтересует учебные учреждения (техникумы, вузы) которые выпускают специалистов в области автоматики и телемеханики. Внедрение учебного стенда по электронике в ОАО РЖД позволит диагностировать состояние различных частей электрических схем устройств сигнализации централизации и блокировки, и выявлять предотказные состояния, что способствует уменьшению возникновения опасных отказов. Предполагается внедрение одного стенда в бригаду электромехаников СЦБ, что позволит применять новые схемные решения, которые будут упрощать обслуживание устройств и увеличат срок наработки на отказ. Разработкой данного стенда занимались: Радионов Дмитрий Валерьевич, студент пятого курса и Дё Ден Бок, заведующий лабораторией по ремонту электрооборудования . Авторские права на учебный стенд закреплены с помощью патента на полезную модель № 167945 от 20.05.2016.














