Диплом Ельцов ДВ (1207704), страница 5
Текст из файла (страница 5)
Был выполнен расчет по 100 вариантам положения поверхности смещения (рис.2.9), из них программой выбран вариант с минимальным коэффициентом устойчивости, равным единице (рис.2.10).
Рис.2.9. Расчет по множеству вариантов поверхности смещения
Рис.2.10. Минимальный коэффициент устойчивости
Коэффициент устойчивости K = 1.21.
По данным расчета были определены расчетные характеристики грунта, и по ним произведены расчеты на устойчивость откоса насыпи. Таким образом, по произведенным расчетам видно, что рассчитанный коэффициент не соответствует нормативному значению, следовательно, насыпь является неустойчивой, требуется произвести ее укреплению.
3 ПРОЕКТИРОВАНИЕ МЕРОПРИЯТИЙ ПО УСИЛЕНИЮ ЗЕМЛЯНОГО ПОЛОТНА
3.1 Обзор мероприятий по усилению земляного полотна
К основным техническим решениям по усилению основной площадки, нашедшие практическое применение на отечественных и зарубежных дорогах относятся: искусственный дерновой покров, габионы, контрбанкеты, контрфорсы, подпорные стенки, армогрунтовые стены, прошивающие сваи, шпоны, стягивающие элементы, анкерные конструкции, бермы, буронабивные сваи, свайная подпорная стена.
Все виды защитных сооружений земляного полотна проектируются с учетом рельефа местности, инженерно-геологических, геокриологических и природно-климатических условий участка, а также в комплексе с имеющимися на прилегающей к железнодорожной линии территории защитными сооружениями и устройствами[2].
Искусственный дерновой покров (рис.3.1) образуется посевом семян многолетних злаковых и бобовых трав (травосеяние). Он способен предохранять поверхность земляного полотна от размыва при скорости течения поверхностной воды до 1,5 м/с и даже защитить от небольшого волнового воздействия при высоте волны до 20 см. Если откосы земляного полотна сложены переувлажненными пылеватыми грунтами, в которых способны развиваться поверхностные сплывы, то для их предотвращения и удержания семян на откосе до образования корневой системы посев трав производится в железобетонных обрешетках. Там, где посев трав невозможен по грунтовым, климатическим, техническим условиям или экономически не оправдан, применяют покрытие откосов крупнообломочными грунтами.
Рис.3.1. Железобетонные обрешетки для посева трав: 1 - обрешетка, 2 - посев трав, 3 - железобетонная свайка
Габионы, (рис.3.2-3.3) конструктивно представляющие собой проволочный остов, заполненный камнем. Наиболее распространены коробчатые габионы - ящики прямоугольной формы с откидными крышками, изготовленные из металлической оцинкованной сетки, имеющей шестигранные звенья с двойным кручением. Ящики заполняются камнем, крышка закрывается и прикрепляется к стенкам габиона проволокой. В зависимости от высоты ящика коробчатые габионы подразделяются на высокие (высота от 0,5 до 1,0 м) и низкие (высота от 0,17 до 0,30 м - матрасы Рено). Габионы могут быть разделены на ячейки путем введения диафрагм, которые упрочняют конструкцию и облегчают работы по устройству и эксплуатации таких сооружений. Проволока для изготовления габионов имеет цинковое покрытие плотностью 0,240-0,290 кг/м2, предел прочности 380-500 МПа; ее относительное удлинение составляет менее 12%. При устройстве габионных сооружений в особо коррозионной среде используются габионы с поливинил-хлоридным покрытием.
Рис.3.2.Подпорная стенка из габионов
Рис.3.3.Конструкции коробчатых габионов: а — без диафрагмы, б — с диафрагмой, в — матрас Рено
Контрбанкет — (рис.3.4) насыпной массив из камня, гравия, песка или местного грунта в виде призмы у основания откоса насыпи; наиболее распространенное поддерживающее сооружение. Контрбанкеты устраивают для увеличения устойчивости откоса насыпи или оползневого косогора, как правило, при крутом поперечном уклоне основания насыпи (более 1:3) с низовой ее стороны. Размеры и конфигурация контрбанкетов определяются расчетами устойчивости откоса (склона). Контрбанкеты надежны, имеют значительный срок службы. Для уменьшения размеров контрбанкета и увеличения сил сопротивления сдвигу по его контакту с основанием насыпи применяют армированные контрбанкеты, представляющие собой массивы дренирующего грунта, армированного в основании различными конструкциями или материалами (сваями, старогодными железобетонными шпалами и др.), а внутри массива - арматурой в виде металлических сеток, геотекстиля, полимерных нитей.
Контрфорсы –(рис.3.5) небольшие массивы прямоугольного или трапецеидального сечения, как правило, встроенные в насыпь или откос выемки или прислоненные к крутому откосу скальных полувыемок. Материалами служат камень, бетон, обожженный грунт.
Рис 3.4.Армированные контрбанкеты (размеры в м): а - со старогодными железобетонными шпалами, б - с геотекстильной арматурой и щебнем
Рис 3.5.Контрфорсы в насыпи: расстояние l определяется исходя из обеспечения устойчивости массива грунта между контрфорсами с учетом образования арочного эффекта и обеспечения достаточных сил сопротивления по поверхности abcd
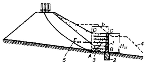
Подпорные (рис.3.6) стены применяются при устройстве насыпей на крутых косогорах, для поддержания трещиноватых крутых откосов скальных выемок, полувыемок и в других аналогичных случаях. Выполняются бутовой кладкой насухо, на цементном растворе, из бетона, железобетона, а также из габионов. Фундамент подпорных стен, в зависимости от характеристик грунтов, сооружается на естественном, либо на свайном основании.
Рис 3.6.Подпорные стены: а - поддерживающие откос насыпи,б — поддерживающие откос скальной выемки, 1 — застенный дренаж, 2 — лоток
Армогрунтовая стена (рис.3.7) представляет собой массив дренирующего грунта, армированный снаружи облицовочной стеной из железобетонных блоков, а внутри арматурой (металлические сетки, геотекстиль, геосетки). По поддерживающему воздействию такая стена заменяет собой контрбанкет из дренирующего грунта. Фундамент выполняется монолитным или из железобетонных блоков. Глубина его заложения определяется глубиной промерзания основания насыпи Облицовочная стена состоит из железобетонных блоков, уложенных друг на друга и объединенных песчано-цементным раствором. Металлические армирующие элементы располагаются дискретно по высоте, нетканый синтетический материал укладывается сплошными полосами шириной, необходимой для обеспечения внутренней и внешней устойчивости стены. Для отвода атмосферной воды, попа дающей в массив стены, за облицовочной стеной устраивают застенный дренаж и дренажные отверстия в швах между блоками. Стена системы Террамеш (рис.3.8) обычно армирована снаружи габионами, а внутри - металлическими сетками, при этом габион и сетка составляют единый элемент системы.
Для обеспечения устойчивости откосов насыпей и выемок, а также оползневых склонов применяют удерживающие устройства, такие, как прошивающие сваи и шпоны, стягивающие элементы [4].
Рис 3.7.Армогрунтовая стена: 1 - блоки облицовочной стены, 2 — фундамент, 3 — арматура, 4 — контур альтернативного решения – контрбанкета, 5 - критическая поверхность смещения
Рис.3.8.Стены системы Террамеш: а - с вертикальной лицевой гранью, б - со ступенчатой лицевой гранью, в - с лицевой гранью из сетки двойного кручения к которой прикреплено биополотно (так называемый «зеленый» Террамеш)
Анкерные конструкции (рис.3.9) используют для удержания балластного шлейфа конструкции. Они представляют собой один или несколько рядов инъецируемых анкеров, закрепленных в устойчивом ядре насыпи, которые передают требуемое натяжение на поверхность шлейфа через железобетонные плиты, расположенные на откосе. За счет натяжения анкеров происходит обжатие шлейфа с увеличением сил сопротивления смещению на контакте между шлейфом и грунтом ядра насыпи.
Рис. 3.9.Анкерные конструкции: а – разрез, б – план, 1 – железобетонная плита, 2 – балластный шлейф, 3 – анкер, 4 – ядро насыпи, расстояния la,l3,l0–по расчету
Берма (рис.3.10) – это поддерживающее устройство, представляющее собой призму грунта, которая отсыпается при строительстве тем же грунтом, которым насыпается насыпь. Она представляет собой площадку, идущую вдоль пути у низа откоса земляного полотна или на самом откосе, берма устраивается для уменьшения давления массы грунта на бока канавы. Отсыпка берм является надежным способом повышения откосов.
Ширина бермы около насыпи в обычных условиях должна быть минимум 2 м; высота 4—6 м.
Рис3.10.Пример бермы
При использовании свайных конструкций в комплексе противооползневых мероприятий, решает ряд задач:
- проведение комплексных мероприятий по осушению тела оползня путем устройства дренажей под защитой свайных конструкций.
- механическое удержание смещающихся оползневых масс;
- локальных зон увлажнения у поверхности смещения;
Свайные противооползневые конструкций применяются в следующих инженерно-геологических условиях, которые характеризуются наличием:
- в пределах оползневого склона не смещающихся массивов, которые могут быть использованы, в частности, и для анкеровки удерживающей свайной конструкции.
Буронабивные сваи применяют в том случае, если мощность оползневых или покровных грунтов более пяти метров (рис.3.11).
Рис 3.11. Схема противооползневой конструкции, на буронабивных сваях, закрепляющих скол, подрезанный выемкой: 1 – железобетонный ростверк; 2- анкерная тяга; 3 – верховая подпорная стенка; 4 – оползневые грунты; 5 – коренные породы; 6 – совершенный дренаж; 7 – буронабивные сваи
При значительных оползневых давлениях в качестве свайной конструкции используют железобетонные столбы глубокого заложения. Следует помнить, что свайные столбы требуется размещать рядами на таком расстоянии друг от друга в ряду, которое исключает обтекание их оползневым грунтом [4].
Свайная подпорная стена на исследуемом объекте рассматривается как один из вариантов решения укрепления откоса насыпи, так как данный метод укрепления является достаточно технологичным, максимально механизированным и требующий минимального выполнения земляных работ.
Берма является одним из наиболее распространенных мероприятий по регулированию оползневого рельефа, так как данное мероприятие является надежным способом повышения устойчивости откосов.
3.2 Расчет и проектирование усиления насыпи бермой
Для определения геометрических размеров бермы, выполнены расчеты устойчивости методом конечных элементов.
Для достижения устойчивости откоса насыпи, ширина бермы должна составлять 8 метров, а ее высота 9 метров. Берма отсыпается из тех же грунтов что и насыпь.
3.2.1 Расчет устойчивости откоса насыпи поперечного профиля насыпи, усиленной бермой КМ120 ПК9
Сформирована исходная модель земляного полотна, основания и бермы включающая четыре макроэлемента: основание, земляное полотно, балластную призму и шпалу.
Физико-механические характеристики грунтов задавались по материалам инженерно-геологических изысканий. Прочностные характеристики (угол внутреннего трения и удельное сцепление) приняты в соответствии с ручными расчетами методом Г.М. Шахунянца (С = 17 кПа, φ = 22,85
). Физико-механические характеристики приведены в табл. 2.5.
Исходные макроэлементы разбиты сеткой конечных элементов. Общее количество конечных элементов – 866. Минимальный размер 0,4 м, максимальный размер 4м.
Макроэлементы разбивалась так, чтобы конечные элементы были максимально близки по форме к равностороннему треугольнику.
К шпале прикладывается распределенная нагрузка, ее интенсивность равна 100 кПа.
Расчетная модель приведена на рис.3.12.
Рис.3.12.Расчетная модель
Был выполнен расчет по 100 вариантам положения поверхности смещения (рис.3.13), из них программой выбран вариант с минимальным коэффициентом устойчивости (рис 3.14).
Рис.3.13.Расчет по множеству вариантов поверхности смещения















