Диплом_Шалыгин (1207197), страница 7
Текст из файла (страница 7)
Одним из типов электромеханических реле, являются электромагнитные. Они делятся на два вида, в зависимости от типа тока, постоянные и переменные. Реле постоянного тока в свою очередь делятся на нейтральные и поляризованные. Нейтральные реле одинаково реагируют на постоянный ток обеих направлений, протекающий по его обмотке, а поляризованные реагируют на полярность управляющего сигнала. Электромагнитное нейтральное реле состоит из трех основных частей: контактной системы; магнитопровода (ярмо, сердечник, якорь), катушки. Магнитопровод выполняется из мягкой стали/4/.
Чаще всего встречается реле с поворотным якорем, когда якорь перемещается на некоторый угол, и реле с втяжным якорем, когда якорь перемещается внутри катушки.
Рисунок 2.5 – Схемы электромагнитных нейтральных реле: а – с поворотным якорем клапанного типа; б – с втягиваемым якорем внутри катушки.
1 – каркас с обмоткой; 2 – ярмо; 3 – выводы обмотки; 4 – колодка; 5 – контактные пружины; 6 – замыкающий контакт; 7 – подвижные контакты; 8 – размыкающие контакты РК; 9 – возвратная пружина; 10 – якорь; 11 – штифт отлипания, служащий для облегчения отрыва якоря от сердечника при выключении управляющего сигнала; 12 – сердечник; δН(О) – длина начального воздушного зазора; δО – длина штифта отлипания.
Для уменьшения магнитного сопротивления воздушного зазора, зачастую сердечник снабжают полюсным наконечником
На рисунке 2.5 представлен принцип действия электромагнитных нейтральных реле, который основывается на том, что магнитные поток создается из-за подачи на обмотку тока, который действует на сердечник и притягивает к нему якорь. На колодку оказывается воздействие со стороны якоря, в результате чего контакты замыкаются (размыкаются) /4/.
Силу притяжения
, которая действует на якорь можно найти по следующей формуле:
(2.4)
где
– коэффициент пропорциональности;
I – ток, проходящий через обмотку реле, А;
W – число витков обмотки;
– воздушный зазор между якорем и сердечником.
Когда сила притяжения
зависит от того как изменяется воздушный зазор
, то такую характеристику реле называют тяговой. И если усилия, которое создает противодействующая пружина
меньше, чем сила притяжения
, то тогда происходит срабатывание реле.
Для нахождения тока срабатывания (трогания)
, нужно принять что
будет равным
, и вычислить по формуле 2.3.
(2.3)
В результате срабатывания реле, зазор уменьшается из-за того, что якорь притянулся к электромагниту. И можно сделать заключения , что из за того что зазор стал меньше, для поддержки якоря в притянутом положении, ток должен уменьшиться.
Из соотношения 2.4 можно найти коэффициент возврата:
(2.4)
где
– коэффициент возврата;
– ток возврата, A.
Способы, которыми можно изменить ток срабатывания:
-
Изменением натяжения
противодействующей пружины (чем сильнее натянута пружина, тем больше ток срабатывания)/4/; -
Изменением воздушного зазора δ /4/;
-
Изменением числа витков обмотки реле W (чем больше витков, тем меньший ток нужен для создания силы
, достаточной для преодоления усилия пружины (
)/4/.
2.2.3 Порядок выполнения работы
1. Ознакомиться с назначением и конструкцией реле типа РКН и РЭН-18. Для этого по мимо внешних источниках информации, в программе можно кликнув на кнопку «Принцип действия и конструкция», перейти на страницу программы. Наводя мышкой на части устройства, можно узнать конструкцию. Нажав на кнопку, «анимация» посмотреть принцип действия.
2. Определить напряжение и токи в режимах срабатывания и отпускания реле РКН и РЭН-18.
Для этого необходимо:
а) запустите программу «Реле»;
б) ознакомьтесь с интерфейсом программы;
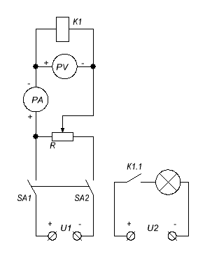
в) нажать кнопку «Сборка схемы лабораторной установки» и собрать схему, показанную на рисунке 2.6, для исследуемого реле РКН. За прогрессом сборки можно наблюдать на индикаторе в правом верхнем углу. После полной сборки программа автоматически переносит непосредственно к процессу снятия показаний со стенда;
Рисунок 2.6 - Схема лабораторной установки.
е) Выбрать тип реле РЭН-18 и установить необходимые величины напряжений каналов блока питания и нажать кнопки «Out»;
ж) включить переключатель S1;
з) изменяя потенциометром R напряжение, подаваемое на обмотку реле, зафиксировать момент его срабатывания (сигнальная лампочка загорается) и определить
и ток срабатывания реле
. Найденные значения
и
занести в таблицу 2.3;
и) уменьшая потенциометром R напряжение, подаваемое на обмотку реле, зафиксировать момент его отпускания (сигнальная лампочка гаснет) и определить напряжение
и ток
отпускания реле.
Найденные значения
и
занести в таблицу 2.3;
к) отожмите кнопку «сброс», выберите реле РКН и повторите пункты е) – и)
д) определить мощность срабатывания
и мощность управления реле
по формулам:
(2.5)
; (2.6)
Для определения мощности
необходимо последовательно с сигнальной лампочкой включить миллиамперметр). Полученные расчетные данные занести в таблицу 4.1
е) определить коэффициент управления
по формуле 2.7, коэффициент возврата реле
по формуле 2.8.
(2.7)
(2.8)
д) Все полученные результаты занести в таблицу 2.3.
Таблица 2.3 – Таблица результатов наблюдений
| Тип реле | | | | | | | | |
| РКН | ||||||||
| РЭН-18 |
3. Выполнение работы оформить в виде отчета:
Содержание отчёта:
-
Краткая теория;
-
схема установки;
-
таблицы с результатами измерений;
-
выводы о проделанной работе.
2.3 Лабораторная работа «Электропневматический командоаппарат КЭП – 12У» и «Настройка командоаппарата по заданной программе»
2.3.1 Цель работы
Изучить устройство и принцип действия командоаппарата КЭП-12У, а также отработать навыки настройки командоаппарата по заданной программе
2.3.2 Теоретические сведения
Конструкция и принцип работы командоаппарата КЭП-12У
Одним из распространенных видов автоматического управления является порядково-временное связывание производственных процессов. Оно осуществляется с помощью различных релейных схем, включающих реле времени, или с помощью командных приборов. Командоаппарат дает команды для выполнения автоматическими устройствами определенных движений по заранее установленному графику времени; он широко применяется в вагоноремонтном производстве для автоматического управления работой поточно-конвейерных линий в сборочных, тележных, малярных и других цехах. Он может быть использован для автоматического управления электрическими или пневматическими цепями.
Командоаппарат, изображенный на рисунке 2.7, состоит из синхронного электродвигателя 1 с встроенным редуктором), храпового расцепляющего механизма 8, редуктора с четырехступенчатым переключением скоростей 7, распределительного вала 2 (с большими и малыми кулачками в его 24 пазах), 12 быстродействующих путевых выключателей 3 с электрическими контактами 4 или пневматическими золотниками (на схеме не показаны). Для ручного управления прибором имеется тумблер 5, для дистанционного – соленоид 6.
Приборы КЭП-12У изготовляются с продолжительностью цикла от 30с до 18ч. Контакты выходных цепей обеспечивают коммутацию мощности 500Вт при напряжении до 220 в и силе тока не более 5А. Минимальное время команды (длительность замкнутого состояния контактов) – не менее 10%, а погрешность прибора не более 2,5% от длительности цикла.
Рассмотрим более подробно работу командоаппарата КЭП-12У
Электродвигатель, изображенный на рисунке 2.7, с встроенным редуктором через валик 8 приводит во вращение поводок 3 с храповой собачкой 4 и защелкой 5. Пока собачка 4 не дошла до неподвижного упора 1, она приводит во вращение храповое колесо 2 и в таком положении фиксируется защелкой 5; зубчатые колеса редуктора прекратят вращаться. При дальнейшем вращении защелка упрется в регулируемый упор 7 настроечного колокола и освободит собачку 4, которая пружиной 6 прижмется к храповому колесу 2 и вновь приведет во вращение колеса редуктора.
Рисунок 2.7 – Командоаппарат КЭП –12У
В результате за один оборот валика, присоединенного к электродвигателю, храповое колесо повернется на угол, величина которого зависит от положения регулируемого упора, настраиваемого поворотом колокола (он имеет деления от 0 до 100). Подача производится кулачковым барабаном, насаженного на валике, вдоль которого может перемещаться зубчатое колесо. Это колесо в зависимости от ритма работы командоаппарата может быть введено в зацепление с любой из зубчатых передач, закрепленных на валу.
На кулачковом барабане имеются пазы для закрепления кулачков взаимодействующих с контактами контактной панели. Число пар кулачков равняется числу переключаемых цепей линии.
Вращающийся вал короткими кулачками освобождает защелки путевых выключателей, замыкающих свои контакты 1КЭП, 2КЭП, 3КЭП и т.д., а длинными кулачками взводит их. В приборе с соленоидами в конце оборота распределительного вала первый от редуктора кулачок взводит защелку и выключает двигатель, завершая цикл управления. В приборе без соленоида двигатель продолжает вращаться и цикл управления непрерывно повторяется.
Кулачки в пазах распределительного вала можно переставлять по окружности, настраивая КЭП-12У в соответствии с заданной временной диаграммой. Угловое расстояние между короткими и длинными кулачками для одного путевого выключателя, выраженное в долях оборота распределительного вала. Для облегчения расстановки кулачков на требуемый порядок переключения контактного устройства прибора распределительный вал можно поворачивать вручную за колокол с делениями от 0 до 100 (при этом зубчатое колесо должно быть выведено из зацепления с зубчатым колесом редуктора).
, достаточной для преодоления усилия пружины (
)/4/.














