Диплом (Назаров) (1205456), страница 5
Текст из файла (страница 5)
Кроме того, если при вычислениях использовать ин
формацию, получаемую ультразвуковым или другим измерительным модулем, а именно: значение расстояния до аномальной зоны - L, ее толщину -
и площадь зоны -
, то можно рассчитать
- величину энергии, запасенной в скоплении дислокаций и определяющей активность зарождения или роста трещины:
|
|
Таким образом, самый значительный параметр в анализе сбоя в ферромагнитных трубопроводах – напряжение. Это напряжение обычно проявляется в редукции в охватывающей разные слои области стенки трубопровода, что ведет к дальнейшей концентрации и повышению напряжения и, в связи с этим, к прогрессированию повреждения. Раннее обнаружение и устранение может к тому же помочь предотвратить повреждения в трубопроводе.
2.2 Описание конструкции и технологии работы внутритрубного инспекционного прибора, определяющего напряженно-деформированное состояние
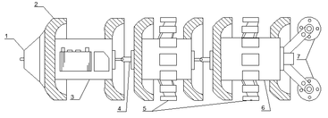
Внутритрубный инспекционный прибор, изображенный на рисунке 3.2.1, предназначен для обнаружения напряженно-деформированного состояния при обследовании трубопроводов, оснащен множеством датчиков 5. Прибор включает одометрическую систему 7 для измерения пройденного пути, секцию 3, оснащенную бортовым компьютером, элемент для записывания данных, и элемент питания.
Рисунок 3.2.1 Внутритрубный инспекционный прибор для определения НДС
Типичное клинообразное тело в представленном воплощении прибора состоит из бампера-обтекателя 1, установленного для ведения сегмента тела 3 и 6, соединенные шарнирами Гука 4. Блок бампера-обтекателя
1 смягчает удары, возникающие при контакте с препятствиями. Опорно-двигательные элементы 2 могут быть выполнены в виде манжет, изготовленных из износостойкого полиуретана большой прочности, либо в виде дисков, также изготовленных из полиуретана, противостоят износу и обеспечивают положение прибора в центре трубы.
Клинообразное тело также оснащено блоком электрического оборудования в соответствии с его использованием. Элемент питания – батарея, запаянная внутри сегмента тела 3, чтобы изолировать батарею от потоков в трубопроводе. Батарея должна иметь достаточную мощность, чтобы обеспечивать работу целой системы электрического оборудования во время прохода прибора через трубопровод.
Система сбора информации обеспечивается питанием за счет элемента питания и получает данные от каждого из множества элементов магнитного датчиков 5 и блока одометра 7. Система сбора информации также герметично закрыта, таким образом она изолирована от продукта, перекачиваемого в трубопроводе. Система сбора д
анных должна быть способной точно обрабатывать и постоянно сохранять всю информацию, вырабатываемую множеством датчиков 5, выбор системы сбора данных для данного прибора также известен и практикуется на других снарядах. Регистрация всей диагностической информации в приборе производится в отдельный модуль памяти - флэш-память. На основании исследований и расчетов требуемого времени непрерывной работы автономного прибора за один запуск (исходя из минимальной скорости движения потока и максимальной протяженности обследуемого участка МН) установлено, что время непрерывной работы не должно быть менее 80 - 100 часов.
Исходя из требований к быстродействию, энергопотреблению, температурным, вибрационным и другим техническим характеристикам электронного блока прибора в качестве их элементной базы были выбраны освоенные в производстве комплекты интегральных микросхем (аналого-цифровых преобразователей, операционных усилителей и микроконтроллеров) различных серий отечественного и импортного производства, обеспечивающих микромощное потребление для встраиваемых вычислительных систем.
Блок одометра 7 снабжается питанием при помощи элемента питания и состоит из одного колеса точно известной окружности, вертящееся на внутренней поверхности трубы без пробуксовки и вырабатывающее выходной сигнал, который после обработки обеспечит точную информацию о пройденной дистанции, также как скорость прибора, когда он проходит через трубопровод. Сигнал, вырабатываемый блоком одометра 7, принимается и сохраняется системой сбора информации.
Множество элементов магнитных датчиков 5, обеспечивающихся питанием при помощи элемента питания, прикрепляются к блоку крепления датчика способом, который хорошо известен в науке. Каждый элемент должен крепиться и поддерживаться в относящейся к окружности позиции, таким образом, он будет крепко удерживаться на внутренней поверхности трубопровода, но не очень крепко для того, чтобы иметь возможность сгибаться, когда необходимо преодолеть типичные препятствия, такие как включают изгибы, гофры и вмятины.
Как показано на рисунке 7, множество элементов магнитных датчиков 5 закреплено на теле прибора так, чтобы закрыть всю внутреннюю поверхность трубопровода по окружности. В представленном образце это достигается путем закрепления первого множества на второй секции прибора. Отдельный элемент магнитного прикрепления второго подмножества включают изгибы, чтобы работать в промежутках первого подмножества с некоторым наложением. Каждый из множества элементов магнитных датчиков 5 вырабатывает и передает сигнал, который принимается и хранится системой сбора информации.
Отдельным элементом электромагнитного датчика из множества элементов 5 является элемент, изображенный на рисунке 3.2.2, показывает, что элементы расположены поперек и продольно, согласно направлению потока в трубопроводе. Сердечник сделан из ферромагнитного материала и в форме, подходящей к внутренней поверхности трубопровода. Обмотка состоит из главной спирали, состоящей примерно из 405 оборотов провода.
1 – сердечник из ферромагнитного материала, 2 – обмотка,
3 – датчик магнитной индукции, 4 – трубопровод
Рисунок 3.2.2 Элементы датчика магнитной напряженности
Главная спираль колеблется с частотой приблизительно 62 Гц, чтобы соединить сердечник с поверхностью трубы и вызвать магнитный поток в сердечнике. Выходящий сигнал второй спирали усиливается,
регулируется и сохраняется записывающими элементами (все они хорошо известны в науке). Сохраненный сигнал затем варьируется, как и локализованная магнитная проницаемость трубопровода. Для получения максимальной мощности передающей катушки необходимо выполнить следующие условия:
-
Использовать сердечник из материала с высоким значением магнитной индукции и высокой магнитной проницаемостью;
-
Обеспечить минимальное сопротивление обмотки;
-
Обеспечить максимально большее сечение сердечника.
В методе изобретения прибор помещается и продвигается вдоль заранее выбранной длины трубопровода также как и внутритрубные инспекционные приборы, широко известные в науке. Основные условия эксплуатации автономных приборов средств диагностирования в МТ следующие:
-
расстояние от места запуска автономного прибора до пункта приема из трубопровода до 250 - 300 км;
-
избыточное давление перекачиваемого продукта до 10 МПа;
-
скорость движения автономного прибора до 3,0 - 3,5 м/с.
Блок электрических приборов, указанный на рисунке 3.2.3 отключается, когда прибор закончил свое прохождение. Когда прохождение закончено и прибор извлечен из трубопровода, данные сохраненные записывающим устройством, изымаются и анализируются.
Рисунок 3.2.3 Принципиальная схема размещения оборудования ВИП, определяющего НДС
Методы соотнесения данных, выработанных множеством магнитных элементов 5 с участками трубы, используя данные, выработанные блоком одометра 7, хорошо известны в науке.
2.3 Расчет и проектирование нефтепровода
1. Определение расчетных параметров нефтепродукта и трубопровода
1.1. Для обеспечения заданного расхода G=14 млн.т/год. в соответствии со таблицей 1 приложения необходим трубопровод диаметром Dн=720 мм. В данных условиях минимальна
я глубина укладки до верхней образующей трубы hз=2100 мм. Для этих значений определим глубину заложения Нз трубопровода:
|
|
В соответствии со справочными данными на этой глубине в районе прохождения трубопровода минимальная температура составляет 30С. Тогда tр=276 К.
1.2. Расчет толщины стенки нефтепровода:
|
|
где
– расчетное сопротивление металла труб растяжению (сжатию).
=560 Мпа – нормативное сопротивление растяжению (сжатию) равное временному сопротивлению стали на разрыв, МПа;
=0,9 – коэффициент условий работы;
К1=1,47 – коэффициент надежности по материалу;
Кн=1,0 – коэффициент надежности по назначению.
Значения коэффициентов были приняты по таблицам 2-4 приложения.
Таким образом, толщина стенки нефтепровода
1.3. Внутренний диаметр нефтепровода:
1.4. Проверка трубопровода на прочность.
Проверим возможность развития пластических деформаций в продольном направлении согласно СНиП 2.05.06-85 из условия:
где p=5,9Мпа – рабочее давление (избыточное); R2н – нормативные сопротивления сварных соединений, следует принимать равными минимальным значениям предела текучести, принимаемым по государственным стандартам и техническим условиям на трубы. Изготовление и техническая характеристика принятых проектом труб отвечает требованиям СниП 2.05.06.-85* п.13 «Материалы и изделия» и ГОСТ 20295-85 «Трубы стальные сварные для магистральных газонефтепроводов». Для стали марки К60:
,
;
Условие соблюдается, следовательно, пластические деформации не возникнут.
1.5. Определение плотности при расчетной температуре.
, где
-температурная поправка
м2/с.
ρt=847,5+0,7105(293-276)=859,58 кг/м3
1.6 Вязкость при расчетной температуре.
,
где u – коэффициент крутизны вискограммы, значение которого определяют по известным значениям вязкостей при двух тем
пературах, 1/К
,














