ПЗ-Митрофанов (1195175), страница 5
Текст из файла (страница 5)
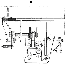
Рис. 2.10. Привод конвейера
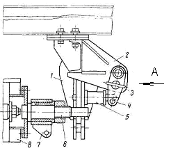
ьдоскалыватель - двухрядная борона, состоящая из подъемной плиты и закрепленных на ней в шахматном порядке резцов. Поднимает и опускает льдоскалыватель 2 пневматический цилиндр 3, установленный да цапфах в кронштейнах, приваренных к раме машины.
В рабочем положении плита льдоскалывателя опирается на литые упоры, приваренные к балкам рамы машины. В транспортном положении льдоскалывающее устройство закрепляется штырями и винтовыми стяжками на раме машины. Боковые льдоскалыватели 1 смонтированы на поворотных кронштейнах и могут, кроме подъема и опускания, поворачиваться вокруг вертикальной оси на угол 70° для введения в габарит. В рабочем положении плита с резцами установлена под углом 70° к поверхности пути, а резцы заглубляются на 80 мм ниже уровня головки рельса. Льдоскалыватели расположены за заборным органом-питателем, поэтому сначала скалывают лед или рыхлят уплотненный снег, а затем следующим проходом убирают их питателем.
Боковые щетки (на снегоуборочных машинах первых лет выпуска) выполнены в виде отдельного узла и расположены не на крыльях, а между тележками, под рамой машины. Боковая щетка (рис. 2.12) состоит из трубчатого барабана 1, на котором расположены 4 ряда тросовых прядей 2. Барабан щетки закреплен на выходном валу нижнего конического редуктора 3 привода.
Р
1, 2 - льдоскалыватели боковой, средний; 3, 4 – цилиндры - подъема среднего льдоскалывателя, бокового; 5 - цилиндр поворота бокового льдоскалывателя
Рис. 2.11. Льдоскалывающее устройство (вид сбоку)
едуктор подвешен к вертикальной трубе, перемещающейся внутри колонны, закрепленной на раме машины. Выше колонны на раме машины неподвижно установлен верхний конический редуктор 8 с приводным электродвигателем 7.
Щетка приводится во вращение через верхний конический редуктор 8, вертикальный вал, проходящий внутри направляющей трубы, и нижний конический редуктор 3. Каждая щетка поворачивается и поднимается пневматическими цилиндрами 5 и 6 и системой рычагов 4. Поворот щетки ограничивается упорами, установленными на колонне, и цепью, прикрепленной к подшипнику, сидящему на конце вала, и к раме машины.
1 - барабан; 2 - тросовые пряди; 3, 8 – редукторы - нижний, верхний; 4 - рычаги подъема; 5, 6 – цилиндры - подъема, поворота; 7 - электродвигатель
Рис. 2.12. Боковые щетки с механизмом привода
В транспортном положении щетка закрепляется полуавтоматическими транспортными креплениями (рис. 2.13).
Транспортные крепления состоят из двух кронштейнов 1, приваренных к раме машины. В углубления на кронштейнах в транспортном положении заходят пальцы 6, прикрепленные к корпусу нижнего редуктора и к концу вала щетки.
1, 2 - кронштейны; 3, 5 – фиксаторы - ручки, защелки; 4 - рукоятка; 6 - палец;
7 – подшипник крепления цепи; 8 - щеточный барабан; 9 - вал; 10 - защелка;
11 - противовес защелки
Рис. 2.13. Полуавтоматический фиксатор боковой щетки
Палец 6 в углублении кронштейна 1 закрепляется поворотной защелкой 10 с противовесом 11. Конфигурация вырезов в защелке выполнена так, что при отстопоренном фиксаторе 5 защелка не препятствует выведению пальца 6 из кронштейна 1. Но если фиксатор 5 застопорен - защелка запирает палец. Для выведения щетки из транспортного положения и приведения в рабочее положение ее нужно сначала приподнять, затем развернуть до упора и опустить. Из рабочего в транспортное положение щетка приводится так: поднимается вверх до упора, затем поворачивается внутрь и опускается на кронштейны транспортных креплений. При выезде на перегон щетка дополнительно закрепляется поворотом рукоятки 4, выведенной на наружную сторону рамы машины.
Боковые щетки установлены таким образом, что щетки работают при заднем ходе машины. Поэтому, чтобы очистить междупутье, нужно сделать два прохода машины - при следовании задним ходом щетки забрасывают материал в середину колеи, а при следующем проходе убирают его питателем. В этом одна из причин переноса щеток на крылья: путь очищается по всей ширине за один проход.
Пневматическое оборудование и тормоз. Пневматическое оборудование. Приведение рабочих механизмов в рабочее или транспортное положение, подача звуковых сигналов, очистка механизмов от загрязнения, торможение снегоуборочного поезда выполняются пневматическим оборудованием. Вдоль состава снегоуборочного поезда проложены две не связанные между собой пневматические магистрали - рабочая и тормозная. Питает систему сжатым воздухом компрессор, установленный в кабине электростанции головной машины. Компрессор приводится во вращение электродвигателем. Для автоматического выключения и включения компрессора служит регулятор давления, установленный в кабине управления. Регулятор давления настраивается таким образом, что компрессор останавливается при достижении давления в рабочей магистрали 0,65 МПа, а включается при давлении 0,45 МПа. Запас сжатого воздуха в системе создается в четырех резервуарах, установленных на головной машине под наклонной частью конвейера. Между компрессором и резервуарами находятся обратный клапан и влагоотделитель.
Магистрали отдельных вагонов соединяются типовыми рукавами с соединительными головками. На концевом полувагоне установлены краны управления разгрузочным конвейером, а также пневматическими стопорами конвейера.
Тормоз. На головной машине СМ-2 и полувагонах установлены автоматические тормоза с типовым воздухораспределителем. В состав тормозного оборудования каждой подвижной единицы, кроме воздухораспределителя, входит запасный резервуар и тормозной цилиндр. На головной машине диаметр тормозного цилиндра 356 мм, а на полувагонах - 254 мм.
Электростанция. Электростанция состоит из дизель-электрического агрегата У36-М (дизель-генератора) со всем необходимым оборудованием и шкафа дистанционного управления. Дизель-генератор установлен в кабине, электростанции, а шкаф дистанционного управления - в кабине управления.
Кабина электростанции расположена в хвостовой части машины на основной раме. Над крышей кабины находится горизонтальная часть продольного конвейера. Кабина выполнена из металлического каркаса уголкового профиля, обшитого снаружи металлическим листом, а внутри - деревянной обшивкой. Между наружной и внутренней обшивками заложена теплоизоляционная прослойка. Кабина разделена на 2 отсека: в одном отсеке расположен дизель-генератор со всем необходимым оборудованием, в другом - компрессор и аккумуляторная батарея.
Дизель-генератор состоит из дизеля, синхронного генератора со статической системой возбуждения (установлены на общей раме) и систем питания топливом, смазки, охлаждения, подогрева, воздушного пуска, управления и электрооборудования.
П
1 - ходовая рама; 2 - конвейер-накопитель; 3 - тормозное оборудование
Рис. 2.14. Промежуточный полувагон
ромежуточный полувагон. В состав снегоуборочного поезда, кроме головной машины, входят два промежуточных и один концевой полувагоны, предназначенные для приема снега или засорителей, поступающих с конвейера головной машины, перевозки и разгрузки их. Промежуточный полувагон (рис. 2.14) - это специальный четырехосный полувагон без торцовых стенок, у которого поверх основной рамы наклонно установлен пластинчатый конвейер, образующий как бы подвижный пол вагона.
Полувагон состоит из сварной ходовой рамы 1 (установлена на двухосные вагонные тележки), продольного конвейера-накопителя 2 с приводом, переходных щитков и тормозного оборудования 3. Оба буферных бруса оборудованы автосцепками с розетками пассажирского типа.
Конвейер-накопитель установлен наклонно (ведущий вал приподнят и вынесен вперед за пределы ходовой рамы), что дает возможность перекрыть конвейер соседнего полувагона. Конвейер состоит из рамы, ленты с бортами, ведущего вала, натяжного устройства и привода. Рама конвейера состоит из продольных и поперечных балок и вварена между вертикальными стойками основной рамы полувагона. В верхней части рамы продольные швеллеры с приваренными к ним полосами образуют направляющие для перемещения опорных роликов верхней ветви ленты. В верхней части рамы конвейера расположены два продольных швеллера - между ними движутся направляющие ролики ленты, препятствующие ее боковому перемещению.
Продольные швеллеры в нижней части рамы конвейера служат направляющими для опорных роликов нижней ветви конвейера.
К
1 - кабина; 2 - разгрузочное устройство; 3 - конвейер-накопитель; 4 - ходовая рама
Рис. 2.15. Концевой полувагон
онцевой полувагон. Концевой полувагон (рис. 2.15), кроме конвейера-накопителя 3, аналогичного по конструкции конвейеру промежуточного полувагона, имеет разгрузочное устройство.
3. КОНСТРУКЦИЯ И МОДЕРНИЗАЦИЯ
РАЗГРУЗОЧНОГО КОНВЕЙЕРА
В настоящей выпускной квалификационной работе предлагается модернизация разгрузочного конвейера снегоуборочного поезда СМ-2.
Кинематическая схема концевого полувагона машины СМ-2 дана на рис.3.1.
Разгрузочное устройство состоит из рыхлителя и разгрузочного конвейера. Рыхлитель предназначен для рыхления крупных глыб снега, поступающих с конвейера-накопителя на разгрузочный конвейер при разгрузке машины. Рыхлитель (установлен над разгрузочным конвейером) состоит из вала с закрепленными на нем лопастями. Вал рыхлителя приводится во вращение от электродвигателя через редуктор и цепную передачу. При разгрузке загрязнителей рыхлитель в работу не включают.
Разгрузочный конвейер поворотный, в рабочем положении установлен поперек полувагона, может выгружать материал в любую сторону от оси пути на расстояние 6—7 м. Конвейер (рис. 3.2) ленточный, резинотканевый, с ведущими тяговыми цепями. Он состоит из рамы 1, опорно-поворотного устройства 2, механизма поворота 7, ленты 10 с цепями и болтами, приводного электродвигателя 3, ведущего 8 и ведомого 4 валов, поддерживающих роликов 9 и стопорных устройств 6. Поворотный круг крановый, закрытый, роликового типа. Лента 10 конвейера через угольники и пластины прикреплена к двум тяговым цепям, приводимым звездочками, закрепленными на приводном валу.
Приводной вал установлен в задней части конвейера, т. е. ведущая ветвь нижняя. Привод ленты осуществляется на ведущий вал при помощи цепной передачи. Электродвигатель установлен сбоку рамы конвейера. Натяжное устройство 5 обеспечивает натяжение тяговых цепей и ленты. Ведущая ветвь конвейера нижняя, поэтому натяжное устройство имеет пружины, установленные на винтах между упором и гайкой. Вертикальные нагрузки от материала, находящегося на ленте, воспринимают опорные ролики и поддерживающие листы, установленные на раме конвейера.
| I - конвейер-накопитель; II - рыхлитель; III - конвейер разгрузочный; 1, 7 -звездочки, z=9, t=130; 2—подшипник; 3, 9 - редуктор, i=63, i=16; 4 - электродвигатель, N=15,0 кВт, n=750 об/мин; 5 - звездочка, z=14, t=50,8; 6 - звездочка, z=30; 8, 10 - звездочки, z=15, t=50,8; 11 - звездочка, z=56, t=25,4; 12, 16 - звездочки, z=16, t=50,8; 13 - звездочка, z=14; 14, 21 - пневмоцилиндры стопора; 15 - электродвигатель, N=18,5 кВт, n=750 об/мин; 17, 22, 24 - подшипники; 18 - звездочка, z=12, t=50,8; 19 - звездочка, z=30; 20 - пневмоцилиндр; 23 - электродвигатель, N=10 кВт, n=1000 об/мин Рис. 3.1. Кинематическая схема концевого полувагона машины СМ-2 |
1 - рама конвейера; 2 - опорно-поворотное устройство; 3 - электродвигатель;
4 - ведомый вал; 5 - натяжное устройство; 6 - стопорное устройство;
7 - механизм поворота; 8 - ведущий вал; 9 - поддерживающий ролик;
10 - лента
Рис. 3.2. Разгрузочный конвейер
Поворачивается конвейер пневматическим цилиндром, воздействующим на рычаг, закрепленный на звездочке, связанной цепью с другой звездочкой, сидящей на вертикальном валу поворота конвейера. Ведущая звездочка с рычагом имеет 30 зубьев, а ведомая - 12, поэтому при повороте ведущей звездочки на 72°, ведомая поворачивается на 180°, обеспечивая необходимый поворот конвейера.
В транспортном положении конвейер устанавливается вдоль оси полувагона под кабиной управления и закрепляется транспортными креплениями. Транспортные крепления состоят из пневматических стопоров, винтовых стяжек и дополнительных цепных растяжек (на рис. 3.2 не показаны).
Для поворота конвейера из транспортного положения в правую или левую сторону сначала снимают винтовые стяжки, дополнительные цепные растяжки, а затем из кабины управления пневматическим краном открывают один из пневматических стопоров. После выполнения этих операций включают пневмоцилиндр поворота. Конвейер будет поворачиваться в нужную сторону до упора. Во время разгрузки кран управления поворотом конвейера должен находиться в том же положении.
В кабине управления концевого полувагона установлены пульт управления конвейерами всех полувагонов, рыхлителем и поворотным конвейером, а также пульты с пневматическими кранами управления поворотом и стопорами конвейера.
Разгрузочный конвейер является одним из “проблемных” узлов машины. Опыт эксплуатации показывает, что скорость выброса, а соответственно и производительность не достаточны для производительности разгрузки машины. Кроме этого наблюдались частые выходы электродвигателя привода из строя (перегрев и как следствие сгорание обмотки).
В первых моделях машин использовались двигатели мощностью 17 кВт и частотой вращения 970 об/мин. В последствии мощность увеличили до 18,5 кВт с частотой вращения вала 750 об/мин. Однако это также недостаточно повысило надежность и его производительность. В качестве модернизации предлагается увеличить скорость конвейерной ленты до 4 м/с и соответственно дальность выброса снега до 15 метров.















