ГОТОВЫЙ ДИПЛОМ (1194757), страница 28
Текст из файла (страница 28)
4. По результатам гидробиологической оценки вод большинство исследованных рек может использоваться для орошения, рыболовства, технического водопользования и даже рекреации.
В ходе нашего исследования была проведена оценка уровня загрязнения десяти рек Оренбургской области тремя методами биоиндикации.
Подводя общий итог проделанной работе, можно сделать следующие выводы:
1. Были отобраны и в дальнейшем проанализированы 30 проб зообентоса на десяти створах, проведен анализ видового состава проб.
2. Анализ выявил, что обнаруженные животные относятся к трем типам и шести классам: тип Кольчатые черви (класс Олигохеты), тип Моллюски (класс Брюхоногие и класс Двустворчатые), тип Членистоногие (класс Ракообразные, класс Паукообразные и класс Насекомые). Видовой состав охарактеризован как типичный для нашей области, фаунистический список гидробионтов не выявил новых для области видов.
3. По результатам биоиндикации водоемов вод самого высокого класса качества обнаружено не было. Подавляющее большинство проб выявило умеренное (среднее) загрязнение. По методу Майера умеренное загрязнение обнаружено в 60% проб, по методу Вудивисса – в 50%, по методу Николаева – в 70%.
4. По результатам гидробиологической оценки вод большинство исследованных рек может использоваться для орошения, рыболовства, технического водопользования и даже рекреации.
В ходе нашего исследования была проведена оценка уровня загрязнения десяти рек Оренбургской области тремя методами биоиндикации.
Подводя общий итог проделанной работе, можно сделать следующие выводы:
1. Были отобраны и в дальнейшем проанализированы 30 проб зообентоса на десяти створах, проведен анализ видового состава проб.
2. Анализ выявил, что обнаруженные животные относятся к трем типам и шести классам: тип Кольчатые черви (класс Олигохеты), тип Моллюски (класс Брюхоногие и класс Двустворчатые), тип Членистоногие (класс Ракообразные, класс Паукообразные и класс Насекомые). Видовой состав охарактеризован как типичный для нашей области, фаунистический список гидробионтов не выявил новых для области видов.
3. По результатам биоиндикации водоемов вод самого высокого класса качества обнаружено не было. Подавляющее большинство проб выявило умеренное (среднее) загрязнение. По методу Майера умеренное загрязнение обнаружено в 60% проб, по методу Вудивисса – в 50%, по методу Николаева – в 70%.
4. По результатам гидробиологической оценки вод большинство исследованных рек может использоваться для орошения, рыболовства, технического водопользования и даже рекреации.
В ходе нашего исследования была проведена оценка уровня загрязнения десяти рек Оренбургской области тремя методами биоиндикации.
Подводя общий итог проделанной работе, можно сделать следующие выводы:
1. Были отобраны и в дальнейшем проанализированы 30 проб зообентоса на десяти створах, проведен анализ видового состава проб.
2. Анализ выявил, что обнаруженные животные относятся к трем типам и шести классам: тип Кольчатые черви (класс Олигохеты), тип Моллюски (класс Брюхоногие и класс Двустворчатые), тип Членистоногие (класс Ракообразные, класс Паукообразные и класс Насекомые). Видовой состав охарактеризован как типичный для нашей области, фаунистический список гидробионтов не выявил новых для области видов.
3. По результатам биоиндикации водоемов вод самого высокого класса качества обнаружено не было. Подавляющее большинство проб выявило умеренное (среднее) загрязнение. По методу Майера умеренное загрязнение обнаружено в 60% проб, по методу Вудивисса – в 50%, по методу Николаева – в 70%.
4. По результатам гидробиологической оценки вод большинство исследованных рек может использоваться для орошения, рыболовства, технического водопользования и даже рекреации.
4 Теплотехнические методы подавления оксидов азота и сопутствующих вредных веществ в топках котлов
4.1. Подавление образования оксидов азота.
Особенностью образования окислов азота является малая зависимость от вида и состава топлива, но большая зависимость от режима горения и организации топочного процесса. Существенное влияние на образование окислов азота оказывает также концентрация кислорода, определяемая избытком воздуха в топке.
В топочной камере образуется в основном окись азота. При перемешивании дымовых газов с атмосферным воздухом после выхода из дымовой трубы происходит превращение окиси азота в более токсичную двуокись азота. В расчетах условно принимается, что в дымовых газах содержится только двуокись азота.
Снижение выбросов окислов азота должно решаться путем внедрения специальных технологических мероприятий (первичные мероприятия), направленных на подавление образования окислов азота в процессе сгорания топлива в топках котлов и путем разложения образовавшихся окислов азота в специальных установках, встроенных в тракт котла (вторичные мероприятия)-очистка газов. Технологические методы в 5–6 раз дешевле устройств очистки газов и они могут быть учтены непосредственно в конструкции котла и не требуют химических добавок. Поэтому система очистки газов (вторичные мероприятия) должна осуществляться только после выполнения на котле всех технологических мероприятий по подавлению образования окислов азота. Основные технологические мероприятия по подавлению образования окислов азота в топках котлов:
1) уменьшение избытка воздуха (L=1,02–1,03) топке до минимальной величины при условии полного сгорания топлива;
2) уменьшение температуры подогрева воздуха, поступающего в топку в пределах, допустимых по условиям эффективного его сжигания;
3) рециркуляция дымовых газов в топку, при этом понижаются температурный уровень и концентрация кислорода в зоне горения. Наибольший эффект снижения окислов азота получается (по данным И. Я. Сигала) при вводе дымовых газов непосредственно в горелочные устройства (подмешивая приблизительно 20% дымовых газов, удается снизить концентрацию окислов азота на 40%);
4) двухстадийное сжигание топлива, когда в нижний пояс горелочных устройств подается все топливо и часть воздуха, необходимого для его сжигания (0,8–0,9 теоретически необходимого количества). При этом происходит частичная газификация топлива при пониженной температуре в ядре факела по сравнению с полным сжиганием. Далее в верхний пояс подается остальное количество воздуха для дожигания продуктов неполного сгорания;
5) ввод воды вместо пара в мазутные форсунки в количестве 8–10% массы топлива позволяет уменьшить концентрацию оксидов азота на 20–30%.
Применение впрыска приводит к снижению к.п.д. котла с увеличением расхода «сухого» топлива на 0,7%. Впрыск воды в зону горения следует применять на котельных, расположенных в городах и промышленных центрах с высоким уровнем загрязнения атмосферного воздуха, или на котельных, расположенных в курортных зонах в периоды повышения концентраций вредных выбросов выше санитарных норм;
6) установка специальных по конструкции горелочных устройств, обеспечивающих пониженный выход окислов азота;
7) повышенная степень экранирования.
К вторичным мероприятиям глубокой очистки дымовых газов от окислов азота следует отнести высокотемпературный гомогенный метод и каталитический. При высокотемпературном гомогенном методе аммиак вводится в тракт дымовых газов с температурой 850 – 1100°С. Степень очистки газов от окислов азота данным методом составляет около 70%.
При каталитическом методе аммиак, разбавленный воздухом, вводится в газоход котла перед каталитическим реактором, расположенным в зоне температур дымовых газов 350–450°С. Могут использоваться катализаторы пластинчатой и сотовой формы с малым аэродинамическим сопротивлением, пригодные также для очистки запыленных газов. Но данный метод не нашел широкого применения в связи с тем, что отечественная промышленность не выпускает катализаторы с малым аэродинамическим сопротивлением, катализаторы дороги и требуют периодической регенерации.
4.2 Очистка вредных выбросов дымовых газов котельных.
4.2.1 Очистка дымовых газов от золы.
При проектировании новых и реконструкции действующих котельных установок должны быть предусмотрены мероприятия, обеспечивающие очистку дымовых газов от золы с тем, чтобы концентрация ее в приземном слое атмосферного воздуха не превышала заданной величины. Выбор типа золоуловителей производится в зависимости от требуемой степени очистки, возможных компоновочных решении, технико-экономического сравнения вариантов установки золоуловителей различных типов. Степень очистки дымовых газов от золы должна быть не менее 90%.При повышенном требовании к очистке выбросов в атмосферу в качестве золоуловителей применяются: электрофильтры — со степенью очистки газов 96%; мокрые золоуловители типа скруббера с трубой Вентури — со степенью очистки газов до 97–98%. Применение мокрых золоуловителей не допускается, если общее содержание окиси кальция в летучей золе более 20%, а произведение Aпр (CaOCВ) меньше 6, из-за опасности образования карбонатных отложений в орошающих устройствах. Для топлив с СаОоб в летучей золе выше 20% применение мокрого золоулавливания исключается. Газоходы перед и после золоуловителей, их компоновка должны обеспечивать равномерную раздачу дымовых газов по аппаратам при минимальном сопротивлении газового тракта и исключать отложения в них золы.
Сухие золоуловители при улавливании золы, склонной к схватыванию или налипанию на стенках, должны иметь теплоизоляцию, обеспечивающую температуру стенок бункеров не менее, чем на 15ºС выше точки росы дымовых газов. Мокрые золоуловители могут применяться при температурах от 130 до 200°С. Температура дымовых газов за мокрыми золоуловителями при любых режимах работы котлов должна превышать температуру точки росы газов по водяным парам не менее чем на 15°.
Электрофильтры могут применяться для очистки дымовых газов с температурой, превышающей температуру точки росы на 5°С и до 250°С.
Температура и влагосодержание дымовых газов, поступающих, в электрофильтры, должны обеспечивать возможность высокоэффективной очистки газов от золы сжигаемого топлива с учетом ее электрофизических свойств.
Одним из перспективных путей снижения вредных веществ в атмосферу с дымовыми газами от котельных, работающих на твердом топливе, является совмещение процессов сжигания топлива с процессом улавливания серы и понижения концентрации окислов азота в одном устройстве. Таким устройством является котлоагрегат с псевдоожиденным слоем, работающий при низких температурах до 900–950°С, именуемый топкой кипящего слоя. Важной особенностью указанного метода сжигания является то обстоятельство, что его можно использовать как в новом строительстве, так и при реконструкции действующих котельных. В топках кипящего слоя возможно сжигание низкокачественных углей.
4.2.2 Сухие золоуловители. Циклоны.
Для улавливания твердых частиц из дымовых газов существуют сухие и мокрые золоуловители. Аппараты для сухой очистка дымовых газов основаны на использовании сил инерции, тяжести и центробежных или на образовании коронного разряда между электродами и направленного движения газа, несущего твердые частицы к положительному электроду, на котором частицы осаждаются.
К сухим золоуловителям относятся жалюзийные золоуловители, циклоны различного типа и электрофильтры.
Жалюзийный золоуловитель ВТИ состоит из решетки- жалюзи, бункера и циклона. Поток газов с золой со скоростью 12 - 16 м/с входит в жалюзи, изменяет свое направление почти на 180° и разделяется на две части: один поток в количестве 7 - 10% поступает в циклон вместе с золой, другой - в газоходы; степень очистка дымовых газов около 50%, сопротивление от 0,3 до 0,9 кПа (от 30 до 90 кгс/м2).
Такие золоуловители применяются при слоевом сжигании твердого топлива, так как они не улавливают мелких твердых частиц (с размером примерно до 20 мкм), и при любом способе сжигания твердого топлива для временно работающих котельных установок.
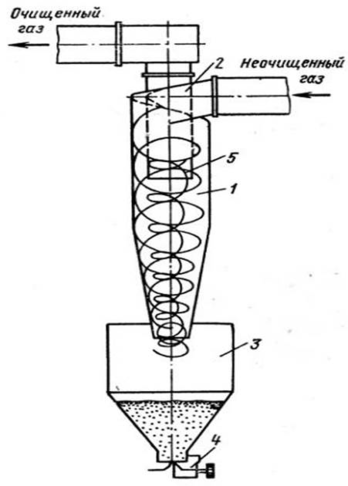
Для лучшей очистка дымовых газов в тех случаях, когда твердое топливо сжигается в слое и количество дымовых газов не превышает 1,4 м3/с (50-103 м3/ч), т. е. теплопроизводительность котельной не более 3,5 МВт (3 Гкал/ч), применяются циклоны НИИОГАЗ. (рис.4.1).выброс котельная циклон очистка.
1-стенка циклона; 2-тангенциальный короб; 3-емкость циклона; 4-канал циклона;5-патрубок














