Пояснительная записка (1194247)
Текст из файла
Министерство транспорта Российской Федерации
Федеральное агентство железнодорожного транспорта
ФЕДЕРАЛЬНОЕ ГОСУДАРСТВЕННОЕ БЮДЖЕТНОЕ ОБРАЗОВАТЕЛЬНОЕ УЧРЕЖДЕНИЕ ВЫСШЕГО ОБРАЗОВАНИЯ
«ДАЛЬНЕВОСТОЧНЫЙ ГОСУДАРСТВЕННЫЙ УНИВЕРСИТЕТ
ПУТЕЙ СООБЩЕНИЯ»
Кафедра «Транспортно-технологические комплексы»
К ЗАЩИТЕ ДОПУСТИТЬ
Заведующий кафедрой
________Ю.А. Гамоля
«____»________2016г.
ЛЕНТОЧНЫЙ КОНВЕЙЕР
С ПОДБУНКЕРНЫМ ПИТАТЕЛЕМ
Пояснительная записка к выпускной квалификационной работе бакалавра
ВКР 23.03.02.00.00.ПЗ - КТ12-НТК(БТ)ПМ-088
Студент ИИФО Д.В. Воронин
Руководитель
(преподаватель) Е.К. Позынич
Нормоконтроль
(доцент, к.т.н.) А.С. Клементов
СОДЕРЖАНИЕ
ВВЕДЕНИЕ........................................................................................................... 5
1. ОБЗОР И АНАЛИЗ СОСТОЯНИЯ ПРОБЛЕМЫ..................................... 7
1.1 Обзор транспортирующих машин и
сведения о перемещаемом грузе................................................................ 7
1.2 Общие сведения о ленточных конвейерах................................................ 9
1.3 Общее устройство и принцип действия
ленточного конвейера................................................................................ 10
1.4 Исторические сведения и тенденции развития
ленточных конвейеров................................................................................ 14
1.5 Обзор существующих конструкций питателей........................................ 15
2. ПРОЕКТ И РАСЧЕТ ЛЕНТОЧНОГО
КОНВЕЙЕРА С ПОДБУНКЕРНЫМ ПИТАТЕЛЕМ................................ 21
2.1 Проект ленточного конвейера.................................................................... 21
2.2 Выбор тягового органа ленточного конвейера......................................... 24
2.3 Выбор конструкций и параметров поддерживающих
и направляющих устройств ленточного конвейера................................. 28
2.4 Выбор параметров направляющего лотка и
металлоконструкций конвейера................................................................. 35
2.5 Тяговый расчет конвейера.......................................................................... 36
2.6 Проверка на прочность выбранной ленты................................................ 42
2.7 Выбор элементов привода конвейера....................................................... 43
2.8 Тяговая диаграмма конвейера.................................................................... 47
2.9 Расчет ленточного питателя....................................................................... 48
3. ТЕХНОЛОГИЯ ИЗГОТОВЛЕНИЯ ВАЛА
ПРИВОДНОГО БАРАБАНА ПИТАТЕЛЯ................................................. 59
3.1 Конструктивные особенности и технические требования,
предъявляемые к валам............................................................................... 59
3.2 Обработка вала............................................................................................ 60
3.3 Выбор заготовки........................................................................................... 61
3.4 Разработка маршрута обработки детали.................................................... 62
3.5 Расчет припусков аналитическим методом............................................... 64
3.6 Расчет режимов резания.............................................................................. 67
4. ОСНОВНЫЕ ПОЛОЖЕНИЯ О БЕЗОПАСНОСТИ
ЖИЗНЕДЕЯТЕЛЬНОСТИ ПРИ РАБОТЕ С
КОНВЕЙЕРНЫМ ТРАНСПОРТОМ............................................................ 71
ЗАКЛЮЧЕНИЕ..................................................................................................... 73
Список использованных источников................................................................ 74
ВВЕДЕНИЕ
В основных направлениях экономического развития любого предприятия поставлена задача существенного увеличения производительности труда. На предприятиях сельскохозяйственной отрасли, и не только, одним из таких направлений является автоматизация линий переработки зерна. Для осуществления целей, поставленных в данное направление, на предприятия агропродовольственного сектора внедряют различного рода средства механизации. Этими средствами являются различные комплексы по переработке зерна, и конечно, машины непрерывного транспорта.
Машины непрерывного транспорта перемещают груз по заранее определенной трассе. Это облегчает совмещение транспортирования с распределением грузов по заданным пунктам, накоплением и их складированием, выполнением в необходимом ритме технологических операций с грузами.
Целью данной работы является рассчитать определенную техническим заданием машину, способную транспортировать зерновые грузы на заданное расстояние и высоту – ленточный конвейер. Рассчитать и внедрить в конвейер подбункерный питатель.
Для того, чтобы понять, как решить поставленную задачу, в работе коротко представлены сведения о транспортируемом грузе, его основных свойствах. Также даны краткие сведения о возможных способах транспортировки зерновых грузов и решении проблемы в области модернизации ленточного конвейера путем применения подбункерных питателей. Даны представления о конструкциях различных питателей, с целью правильного и обоснованного принятия решения о применении именно той машины, которая способна удовлетворить потребности поставленной задачи.
Во втором разделе более раскрыто представлены расчетные сведения. Показаны расчеты, на основании которых была подобрана лента для конвейера, поддерживающие и направляющие устройства. Рассчитаны параметры привода
конвейера и подобраны его элементы. Также, исходя из принятого решения в выборе подбункерного питателя, показаны расчеты последнего, последовательность которых определена в том же порядке, что и в случае с конвейером.
В третьем разделе работы рассмотрена технологическая последовательность изготовления одной из ответственейших деталей машины – приводной вал подбункерного питателя, в соответствии с техническими требованиями и стандартам.
1. ОБЗОР И АНАЛИЗ СОСТОЯНИЯ ПРОБЛЕМЫ
1.1 Обзор транспортирующих машин и сведения о перемещаемом грузе
1.1.1 Сведения о транспортирующих машинах. Для транспортирования зерновых грузов в зерноскладах на сегодняшний день существует огромный ряд специализированных машин. К таким относятся различного рода конвейерный транспорт и специальные транспортирующие машины. Перечислим некоторые из них:
- Нория зерновая или ковшовый элеватор зерновой предназначен для вертикального транспортирования зерновой массы в составе технологических линий зерноочистительных и зерноочистительно-сушильных комплексов.
- Конвейеры винтовые перемещают грузы на незначительные расстояния. Недостаток таких конвейеров заключается в том, что их рабочее оборудование несет за собой огромное динамические воздействия на зерно и приводят к его разрушению. Винтовые конвейеры также потребляют достаточно много энергии.
- Конвейеры ленточные предназначены для перемещения насыпных и штучных грузов и загрузки их в машины, железнодорожные вагоны и т.д. Являются самыми универсальными транспортирующими средствами в виду своих преимуществ: дальность транспортирования, минимальные динамические и физические воздействия на груз, большая производительность.
- Метатели зерна и зернометатели-погрузчики самопередвижные предназначены для механизации погрузочно-разгрузочных работ на открытых площадках с твердым покрытием и зерноскладах. Выполняют погрузку зерна в транспортные средства, механическое перелопачивание зерна, формирование буртов высотой до 4 м, сепарацию зерна с отделением легких примесей.
- Самоподаватели шнековые предназначены для подачи зерна из насыпи в транспортирующие средства.
- Пневмотранспортные установки служат для перемещения насыпных и единичных грузов по трубам или желобам при помощи сжатого или разреженного воздуха. Недостаток пневмотранспорта заключается в огромных энергозатратах и динамических воздействий на груз.
1.1.2 Сведения о зерновых грузах. Зерновые культуры по номенклатуре с точки зрения погрузочно-разгрузочных и транспортно-складских операций относятся прежде всего к сыпучим грузам закрытого хранения. К ним приписывают пшеницу, рожь, овес, просо, рис, кукурузу и т.д. Такие грузы в виду своих характеристик требуют весьма щепетильного внимания к транспортированию и хранению.
Характерной особенностью зерна является гигроскопичность – способность поглощать свободную влагу воздуха. Поглощение влаги приводит к изменению массы, объема, физико-химических свойств, к прямым потерям или порче. Так ускоряются процессы дыхания зерновой массы и жизнедеятельности микроорганизмов и амбарных вредителей, которые способствуют гниению, брожению и плесневению. В большой степени влажность зерна зависит от влажности окружающей среды. Также большое влияние на качество зерна оказывает температура и газовый состав воздуха, запыленность, наличие в его составе микробиологических форм и свет. Под действием указанных факторов в зернах происходят различные биохимические, физико-химические и микробиологические процессы.
Еще одним важным свойством является гранулометрический состав зерна. Гранулометрический состав характеризует количественное распределение частиц по крупности. В зависимости от гранулометрического состава его делят на две группы: мелкозернистые, размер кусков которых составляет 0,5-2 мм, и крупнозернистые, размером кусков 2-10 мм. Гранулометрический состав оказывает значительное влияние на сыпучесть.
От всех этих свойств зависят выбор условий перевозки, перегрузки и хранения груза, а также конструкция, эффективность действия и срок службы погрузочно-разгрузочных и транспортирующих машин.
1.2 Общие сведения о ленточных конвейерах
Ленточным конвейером называют транспортирующую машину для перемещения насыпных и штучных грузов непрерывным потоком без остановок на загрузку и выгрузку.
Ленточные конвейеры являются наиболее распространенным типом машин непрерывного транспорта. Благодаря их высокой производительности, достаточно большой длине транспортирования, простоте конструкции, эксплуатации и высокой надежности даже при работе в тяжелых условиях. Их применяют для перемещения насыпных и штучных грузов на короткие, средние и дальние расстояния во всех областях современного промышленного и сельскохозяйственного производства.
Существенным преимуществом ленточных конвейеров является значительная производительность, которая при больших скоростях движения (до 8 м/с) и ширине ленты может быть достигнута до 30000 т/ч, что во много раз превышает производительность конвейеров другого типа.
К недостаткам ленточных конвейеров относится высокая стоимость ленты и роликов, составляющая соответственно около 50 и 30 % общей стоимости конвейера. Ленточный конвейер чувствителен к характеру перемещаемого груза. Обычным ленточным конвейером можно перемещать грузы крупностью до 400 мм.
Ленточные конвейеры классифицируют по следующим признакам:
- по области применения – на конвейеры общего назначения, специальные (для погрузочных машин, транспортирования людей, передвижные) и подземные;
- по форме трассы – на простые с одним прямолинейным участком и сложные с ломаной трассой, состоящие из горизонтальных и наклонных
участков, соединенных перегибами, а также криволинейные, изгибающиеся в плоскости ленты (пространственные);
- по направлению движения груза – на подъемные с уклоном вверх и спускные с уклоном вниз;
- по форме ленты и размещению груза на ней – на конвейеры с плоской и желобчатой лентой, с верхней (основной тип) и нижней или с обеими несущими ветвями;
- по типу тягового элемента – на конвейеры с резинотканевой, резинотросовой, стальной и проволочной лентами;
- по углу наклона трассы – на горизонтальные, пологонаклонные, крутонаклонные (более 22о) и вертикальные;
- по разделению тяговой и несущей функции между элементами – на канатно-ленточные и ленточно-цепные.
1.3 Общее устройство и принцип действия ленточного конвейера
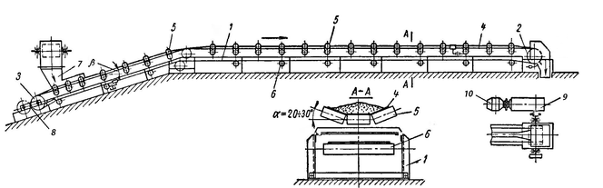
1.3.1 Устройство и принцип действия. Ленточный конвейер (рис. 1.1) состоит из станины 1, на концах которой устанавливаются два барабана: приводной 2 и натяжной 3. Закольцованная лента 4 огибает эти барабаны и по всей длине конвейера поддерживается от чрезмерного провисания опорными элементами – роликоопорами верхними 5 и нижними 6, прикрепленными к станине конвейера, или же неподвижным настилом (столом). Предварительное натяжение ленты создается с помощью натяжного устройства 8. Приводной барабан получает вращение от привода, состоящего из редуктора 9, двигателя 10 и соединительных муфт, сообщая ленте продольное (поступательное) движение. Транспортируемый груз загружается на верхнюю (рабочую) ветвь ленты через загрузочную воронку 7 и перемещается по длине конвейера; нижняя ветвь ленты является возвратной (холостой). Разгрузка происходит обычно через приводной барабан. В некоторых случаях возможно перемещение груза на нижней ветви ленты или же одновременно на верхней и нижней ветвях во взаимообратных направлениях. Таким образом, у ленточного конвейера лента является одновременно как несущим (перемещающим груз), так и тяговым (передающим тяговое усилие) элементом.
Характеристики
Тип файла документ
Документы такого типа открываются такими программами, как Microsoft Office Word на компьютерах Windows, Apple Pages на компьютерах Mac, Open Office - бесплатная альтернатива на различных платформах, в том числе Linux. Наиболее простым и современным решением будут Google документы, так как открываются онлайн без скачивания прямо в браузере на любой платформе. Существуют российские качественные аналоги, например от Яндекса.
Будьте внимательны на мобильных устройствах, так как там используются упрощённый функционал даже в официальном приложении от Microsoft, поэтому для просмотра скачивайте PDF-версию. А если нужно редактировать файл, то используйте оригинальный файл.
Файлы такого типа обычно разбиты на страницы, а текст может быть форматированным (жирный, курсив, выбор шрифта, таблицы и т.п.), а также в него можно добавлять изображения. Формат идеально подходит для рефератов, докладов и РПЗ курсовых проектов, которые необходимо распечатать. Кстати перед печатью также сохраняйте файл в PDF, так как принтер может начудить со шрифтами.














