Кац 1 (1193611), страница 7
Текст из файла (страница 7)
6 РАСЧЕТ МОНТАЖНЫХ СТРЕЛ ПРОВЕСА ПРОВОДОВ
Правильное определение величин стрел провеса провода для условий монтажа является важной задачей, т.к. если при этом стрела провеса будет занижена, то напряжение в ряде режимов может превысить допустимое. Завышение стрелы провеса вызовет нарушение габарита. [6]
Результатами монтажных расчетов являются зависимости напряжения, тяжения и стрелы провеса в пролете известной длины от температуры окружающей среды в диапазоне от
до
. Они могут быть представлены как в виде таблиц, так и в виде графиков.
Несмотря на то, что расчет монтажных стрел провеса провода должен выполняться для всех пролетов анкерного участка, в действительности достаточно получить указанные зависимости для пролетов наименьшей
и наибольшей
длины. Имея такие зависимости можно получить интересующее значение стрелы провеса для любого пролета анкерного участка.
В качестве исходного принимается режим, определенный ранее в п. 3.4 для механического расчета провода – режим максимальной нагрузки:
;
;
.
Расчет напряжения при монтаже осуществляется с помощью уравнения:
| | (6.1) |
Рассчитаем напряжение в проводе для первого анкерного участка при температуре монтажа
и
. В результате получим:
| |
Стрела провеса провода в интересующем пролете
определяется из выражения:
| | (6.2) |
Для наибольшего пролета
м и наименьшего пролета
м, определенных при расстановке опор, соответственно стрелы провеса при максимальной и минимальной температуре, рассчитанные по формуле (6.2) будут иметь следующие значения:
| |
Тяжение в проводе рассчитывается по формуле:
| | (6.3) |
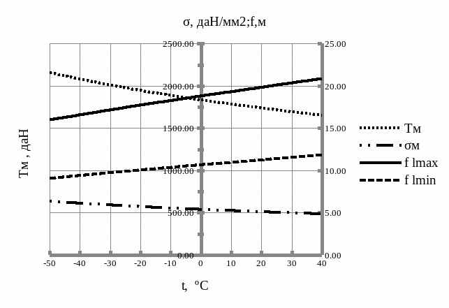
Все остальные расчеты выполнялись на ПК в программе “Microsoft Excel”. Результаты расчетов для первых трех анкерных участков представлены в виде зависимостей
,
,
,
(рисунок 6.1 – 6.3).
Рисунок 6.1 – Монтажный график провода для первого анкерного участка
Таблица 6.1 – Монтажная таблица провода для первого анкерного участка
| Температура, 0С | Напряжение, даН/мм2 | Тяжение, даН | Стрела провеса в пролете длиной, м | |
| 465 | 455 | |||
| -50 | 6,22 | 2112,31 | 14,47 | 13,85 |
| -40 | 6,02 | 2044,39 | 14,95 | 14,31 |
| -30 | 5,83 | 1979,87 | 15,44 | 14,78 |
| -20 | 5,66 | 1922,14 | 15,90 | 15,23 |
| -10 | 5,51 | 1871,20 | 16,33 | 15,64 |
| 0 | 5,36 | 1820,26 | 16,79 | 16,08 |
| 10 | 5,23 | 1776,11 | 17,21 | 16,48 |
| 20 | 5,10 | 1731,96 | 17,65 | 16,90 |
| 30 | 4,98 | 1691,21 | 18,07 | 17,30 |
| 40 | 4,87 | 1653,85 | 18,48 | 17,69 |
Рисунок 6.2 – Монтажный график провода для второго анкерного участка
Таблица 6.2 – Монтажная таблица провода для второго анкерного участка
| Температура, 0С | Напряжение, даН/мм2 | Тяжение, даН | Стрела провеса в пролете длиной, м | |
| 480 | 341,8 | |||
| -50 | 6,51 | 2210,80 | 14,73 | 7,47 |
| -40 | 6,26 | 2125,90 | 15,32 | 7,77 |
| -30 | 6,03 | 2047,79 | 15,90 | 8,06 |
| -20 | 5,82 | 1976,47 | 16,48 | 8,36 |
| -10 | 5,63 | 1911,95 | 17,03 | 8,64 |
| 0 | 5,45 | 1850,82 | 17,60 | 8,92 |
| 10 | 5,29 | 1796,48 | 18,13 | 9,19 |
| 20 | 5,14 | 1745,54 | 18,66 | 9,46 |
| 30 | 5,01 | 1701,40 | 19,14 | 9,71 |
| 40 | 4,88 | 1657,25 | 19,65 | 9,97 |
Рисунок 6.3 – Монтажный график провода для третьего анкерного участка
Таблица 6.2 – Монтажная таблица провода для второго анкерного участка
| Температура, 0С | Напряжение, даН/мм2 | Тяжение, даН | Стрела провеса в пролете длиной, м | |
| 494 | 372.15 | |||
| -50 | 6,35 | 2156,46 | 16,00 | 9,08 |
| -40 | 6,13 | 2081,75 | 16,57 | 9,40 |
| -30 | 5,92 | 2010,43 | 17,16 | 9,74 |
| -20 | 5,73 | 1945,91 | 17,73 | 10,06 |
| -10 | 5,56 | 1888,18 | 18,27 | 10,37 |
| 0 | 5,40 | 1833,84 | 18,81 | 10,68 |
| 10 | 5,26 | 1786,30 | 19,31 | 10,96 |
| 20 | 5,12 | 1738,75 | 19,84 | 11,26 |
| 30 | 4,99 | 1694,60 | 20,36 | 11,55 |
| 40 | 4,87 | 1653,85 | 20,86 | 11,84 |
7. ВЫБОР И РАСЧЕТ ГРОЗОЗАЩИТНОГО ТРОСА
Грозозащитный трос является самым эффективным способом защиты ЛЭП от импульсных токов, возникающих при ударе молнии в опору или трос. Их используют на линиях с металлическими и железобетонными опорами напряжением от 35 кВ и выше.
Так как напряжение, рассматриваемого в курсовой работе, участка 220 кВ, выберем провод многопроволочный оцинкованный ПС 70, в соответствии с пунктом 2.5.79[3].
При подвеске грозозащитного троса должен соблюдаться габарит и угол защиты провода.
Далее определим напряжения в тросе и сравним с допустимым. Напряжения будем находить для следующих трех режимов:
- Режим гололеда
- Режим низшей температуры
- Режим среднегодовой температуры
Стрела провеса при температуре +15°С и отсутствии ветра, м:
, (7.1)
где
‒ стрела провеса провода в середине пролета при температуре +15°С без ветра;
‒ расстояние по вертикали между тросом и проводом на опоре, м;
‒ требуемое расстояние между тросом и проводом в середине пролета при температуре +15°С.
Для первого анкерного участка с
, в соответствии с типом опоры
.
Для того чтобы определить расстояние
воспользуемся линейной интерполяцией построив зависимость данного расстояния от длины пролета по значениям из методических указаний [8]:
.
.
.
.














