Айнулов2 (1193549), страница 2
Текст из файла (страница 2)
Развитие промышленности, транспорта и других отраслей народного хозяйства требует непрерывного роста производства электроэнергии и совершенствования ее передачи и распределения. Непрерывно совершенствуются конструкции и оборудование ВЛ, повышаются их надежность и экономичность.
В данной выпускной квалификационной работе с учетом специфики региона необходимо рассмотреть вариант проектирования воздушно линии (ВЛ) электропередачи 35 кВ «Амурская – Северная» с учетом повышения передачи электрической энергии. Началом трассы ВЛ 35 кВ является ОРУ-35 кВ подстанции ПС «Северная», конец трассы – ОРУ-35 кВ подстанции ПС «Амурская».
Для выполнения проекта необходимо данные по климатологии и геофизики района прохождения трассы воздушной линии, произвести выбор типов металлических опор.
Далее необходимо произвести обоснование и проверку провода АС 150/24 на механическую прочность, рассчитать удельные нагрузки на провод, максимальную стрелу провеса провода, а также проверить провод на механическую прочность в аварийном режиме.
Для подвески провода на опоре необходимо выбрать изоляторы и линейную арматуру для подвесных и натяжных гирлянд изоляторов.
Следующим этапом будет расстановка опор по профилю трассы с помощью специального шаблона. После расстановки опор необходимо проверить их на прочность и на соответствие фактических ветровых и весовых пролетов допустимым. Также в работе следует рассчитать монтажные стрелы провеса проводов, построить монтажные таблицы и графики для анкерных участков.
1 ИСХОДНЫЕ ДАННЫЕ ДЛЯ ПРОЕКТИРОВАНИЯ ЛЭП
1.1 Климатические условия
Климатические условия для строительства ВЛ 35 кВ «Амурская – Северная», принятые в соответствии с требованиями ПУЭ седьмого издания (далее по тексту ПУЭ) и на основании отчетной документации по инженерным изысканиям сведены в таблицу 1.1
Таблица 1.1 - Сводная таблица климатических параметров
| № п/п | Метеоэлементы | Значения | Размер ность |
| 1 | Преобладающее направление ветра | з. сз | |
| 2 | Нормативная скорость ветра (один раз в 25 лет) на высоте 10 м | 32 | м/с |
| 3 | Скорость ветра при гололеде (один раз в 25 лет) на высоте 10 м | 16 | м/с |
| 4 | Нормативная толщина стенки гололеда (один раз в 25 лет) | 20 | мм |
| 5 | Температура воздуха при гололеде | Минус 5 | град. С |
| 6 | Среднегодовая температура воздуха | Минус 1,4 | град. С |
| 7 | Абсолютный минимум температуры воздуха | Минус 4 9,9 | град. С |
| 8 | Абсолютный максимум температуры воздуха | Плюс 4 2 | град. С |
| 9 | Температура воздуха наиболее холодной пятидневки обеспеченностью - 0,92 | Минус 39 | град. С |
| 10 | Среднегодовая продолжительность гроз | 41 | час |
| 11 | Среднегодовое количество осадков | 554 | мм |
Данные, принятые для расчетов:
Климат района - муссонный.
Степень загрязнения атмосферы - I.
Среднегодовая температура воздуха – 00 С.
Абсолютный минимум температуры воздуха - минус 500 С.
Абсолютный максимум температуры воздуха - плюс 400 С.
Климатические параметры по ветру и гололеду:
- нормативная толщина стенки гололеда - 20 мм (район по гололеду – III);
- нормативное ветровое давление - 650 Па (район по ветру - III);
- ветровое давление при гололеде - 160 Па.
Сейсмичность района работ - менее 6 баллов.
1.2 Инженерно-геологические условия
Район работ приурочен к Средне-Амурскому инженерно-геологическому региону. В тектоническом отношении регион соответствует кайнозойской межгорной впадине наложенного типа. Фундамент впадины имеет сложное блоковое строение и представляет собой сочетание многочисленных гребеноподобных сооружений, разделенных поднятиями в виде останцовых сопок и среднегорных и высокогорных хребтов.
Аллювиальные средне-верхнеплейстоценовые и голооценовые отложения слагают I. II. III и IV надпойменные террасы реки Амур и Зея и их притоков. В составе комплекса в верхней части доминируют супеси, суглинки, глины. В центральной части депрессии в составе аллювия доминируют пески мелкие, средней крупности и в основании разреза они сменяются гравелистыми песками и галечниками.
В разрезе геологического строения участка работ до глубины 8,0 м скважинами вскрыты два комплекса пород: аллювиальные современные отложения и техногенные современные отложения. На участке исследований почвенно-растительный слой вскрывается повсеместно мощностью 0,2-0,3 м. На участке, где трасса проектируемой линии пересекает переувлажненную лощину, встречен заторфованный слой, мощностью 0,5-0,6 м.
В зависимости от литологических и генетических признаков, а также физикомеханических свойств, комплексы пород подразделены на 4 инженерно-геологических элементов:
ИГЭ-1 - насыпной грунт, представленный механической смесью гравия, песка в разном процентном отношении с включениями строительного мусора. Грунты непучинистые, маловлажные с давностью отсыпки более 10 лет и относятся к слежавшимся (СНиП 2.02.01-83).
ИГЭ-2 - суглинок легкий тугопластичный коричневого цвета с редким гравием. Грунты непросадочные, ненабухающие. По относительной деформации морозного пучения среднепучинистые.
ИГЭ-3 - супесь коричневая песчанистая, пластичная, имеет ограниченное распространение. грунты непросадочные, ненабухающие. По относительной деформации морозного пучения - среднепучинистые.
ИГЭ-4 - песок средней плотности. По гранулометрическому составу - однородный. На период изысканий находился 8 обводненном состоянии. Грунты, по относительной деформации морозного пучения, залегающие на отдельных участках близко поверхности, относятся к среднепучинистым.
Коррозионная активность грунтов по отношению к углеродистой стали, свинцовым и алюминиевым оболочкам кабелей - средняя, по отношению к железобетонным конструкциям грунт - неагрессивен.
По трассе проектируемой ВЛ 35 кВ «Амурская – Северная» отсутствуют склоновые процессы, распространение карста, элювиальные грунты.
1.3 Инженерно-гидрологические условия
В период Выполнения изысканий при бурении скважин повсеместно встречены подземные воды аллювиального грунтового типа. Водовмещающими грунтами являются пески мелкие с редким включением гравия. Уровни проявления и установления грунтовых вод на глубине 4,0-5,0 м.
Питание рек осуществляется в основном подземными водами подруслового и поверхностного стока р. Зея.
При паводках в р. Зея следует ожидать подъем воды на 0,5 - 1,0 м против зафиксированных уровней.
По результатам химического анализа и согласно СНиП 2.03.11-85 подземные воды слабоагрессивны к бетону нормальной плотности водонепроницаемости марки W4. К арматуре железобетонных конструкций при периодическом смачивании по содержанию хлоридов и водородному показателю - среднеагрессивная.
1.4 Характеристика объекта
Проектируемая ВЛ 35 кВ расположена на территории г. Свободный Амурской области.
Исполнение проектируемой линии электропередач необходимо принять воздушным.
В соответствии с техническими требованиями при строительстве ВЛ 35 кВ от ПС 35/10 кВ Северная до ПС 35/10 кВ Амурская необходимо:
- применить полимерную изоляцию;
- применить провод марки АС;
- предусмотреть подвеску грозозащитного троса со встроенным волоконно-оптическим кабелем (ОКГТ) емкостью не менее 16 оптических волокон;
- для кабельных заходов на территорию подстанции применить силовой кабель с изоляцией из сшитого полиэтилена.
Количество цепей на проектируемой ВЛ 35кВ - две.
Общая протяженность магистральной BЛ 35 кВ – 5,042 км.
Передаваемая мощность - 19,4 МВА.
1.5 Определение сечения проводов ЛЭП
На рассматриваемом участке ЛЭП 35 кВ «Амурская – Северная» необходимо просчитать сечения проводов ЛЭП под сложившиеся условия с учетом заявлений на подключение мощностей (Sнб.вн =19,4 МВА).
Находим ток в ЛЭП в режиме наибольших нагрузок по формуле, А
, (1.1)
где mц – количество цепей ЛЭП, mц=2; Sнб.вн – полная мощность нагрузок на шинах высокого напряжения в режиме наибольших нагрузок, МВА; Uном – номинальное напряжение ЛЭП.
А.
Для выбора, экономической плотности тока jэ необходимо знать продолжительность использования максимальной; нагрузки для ЛЭП, которую находим по формуле, час/год
, (1.2)
где
– активная мощность k-го потребителя в режиме наибольших нагрузок, МВТ;
– продолжительность использования: наибольшей нагрузки k-го потребителя, час/год.
час/год.
Поскольку в качестве проводов ЛЭП выбираем сталеалюминевые провода типа АС, в соответствии с материалом проводника, и продолжительностью использования наибольшей нагрузки, принимаем jэк=1,3 А/мм2.
Тогда экономическое сечение проводника ЛЭП равно тока, мм2
(1.3)
мм2.
Принимаем из ряда стандартных сечений ПУЭ, ближайшее стандартное значение Fпр=150 мм2 (провод АС-150).
Делаем вывод, что провод АС-150 удовлетворяет заданным критериям, и в дальнейшем будет использован в проектируемой ЛЭП.
2 ВЫБОР ТИПА ОПОР
На воздушных линиях следует использовать, как правило, унифицированные и типовые конструкции.
В целях повышения технологичности строительства и обеспечения условий комплектации строительными деталями в проекте рекомендуется принимать минимальное количество опор.
Выбор тех или иных типов опор производится сопоставлением конкретных условий в районе расположения проектируемой линии с технологическими характеристиками опор и в зависимости от типа линии электропередачи по классу напряжения и марки проводов.
Необходимо учесть характеристики провода марки АС-150.
ВЛ 35 кВ «Амурская – Северная» проходит в населенной местности. В соответствии с заданными климатическими условиями.
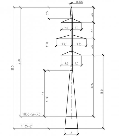
Выбираем металлические унифицированные нормальные опоры марки П35-2Т (рисунок 2.1) и У35-2Т (рисунок 2.2) по типовому проекту №3.407-68/74 [11]. Характеристики опор представлены в таблице 2.3 [12].
Таблица 2.1 – Характеристики металлических опор
| Тип и условное обозначение | Марка провода | Район по гололеду | Расчетные пролеты, м | Масса, кг | |||
| габаритного | весового | ветрового | без цинка | с цинком | |||
| Промежуточная двухцепная свободностоящая П35-2Т | АС 150/24 | IV | 165 | 205 | 295 | 1499 | 1558 |
| Анкерная угловая двухцепная свободностоящая на угол поворота до 600 У35-2Т | АС 150/24 | IV | - | - | - | 1635 | 1700 |
Рисунок 2.1 – Промежуточная опора П 35-2Т















