Пояснительная записка (1193248), страница 11
Текст из файла (страница 11)
Для случая аварии предусматривается устройство перемычки на напорном водоводе.
Таблица 7.1 – Параметры работы насосной станции второго подъема
| Режим работы насосной станции | Параметры работы насосов | Марка насоса | ||||
| Q, м3/ч | H, м | N, кВт | η, % | ∆hдоп, м | ||
| Нормальный максимальный | 277 | 71,6 | ||||
| Нормальный минимальный | 114 | 61,3 | ||||
| Пожаротушение | 422 | 64,7 | ||||
| При аварии | 257,9 | 94,8 | ||||
Подбор насосов и анализ их работы на водопроводную сеть
По расчетным параметрам подачи Q и напора H подбираем марки насосов.
Первоначально марки насосов выбираем по графику полей. В первую очередь подбираем насосы для нормального режима эксплуатации.
Анализ работы выбранных насосов в данной системе водоснабжения производим графоаналитическим методом на основании совмещения характеристик выбранных насосов и трубопроводов. .
К установке на станции приняты насосы марки WILO: в час максимальной подачи один рабочий насос SCP 200/480HA-110/4-T4-R1-ROHS/E1; в час минимальной подачи один рабочий насос SCP 80/380DS-37/4-T4-R1-ROHS/E1, в соответствии с категорией насосной станции по рекомендациям таблицы 23[1] устанавливается один резервный насос большей производительности. На случай неисправности рабочего насоса меньшей производительности резервный насос марки SCP 80/380DS-37/4-T4-R1-ROHS/E1 хранится на складе.
При возникновении пожара система обслуживается двумя параллельно работающими насосами большей производительности (марки SCP 200/480HA-110/4-T4-R1-ROHS/E1).
Составление монтажной схемы насосных агрегатов
Насосы и электродвигатели размещаются на фундаментной плите заводского изготовления, которая устанавливается на фундамент и крепится к нему болтами. Размеры насоса, двигателя и фундаментной плиты из приложения 5 [3]
Насос и двигатель устанавливаются на общей фундаментной плите. Расстояние от края фундаментной плиты до края фундамента принимаем
50 мм. Для защиты агрегатов от затопления в заглубленной насосной станции высоту фундамента над полом принимаем 0,5м. Глубину заложения фундамента от пола принимаем 0,6 м.
Размеры насосов, двигателей и фундаментов указаны на монтажных схемах: рисунок 7.1 и рисунок 7.2.
Рисунок 7.1Монтажная схема для насосного агрегата
SCP 200/480HA-110/4-T4-R1-ROHS/E1, размеры в миллиметрах
Рисунок 7.2 Монтажная схема для насосного агрегата
SCP 80/380DS-37/4-T4-R1-ROHS/E1
Определение отметки осей насосов
Насосные агрегаты в насосной станции второго подъема устанавливаем ниже уровня воды в резервуаре, из которого забираем воду (установка под залив), так как для насосных станций второй категории подающих воду на пожаротушение рекомендуется установка под залив. При установке насоса под залив принимаем отметку верха(Zвн) насоса ниже минимального расчетного уровня воды в резервуаре (Zнр) , из которого ведется откачка, на 0,3м. Далее по известной высоте насоса(Hнас) и фундамента(hф) определяем отметку пола машинного зала. Так как в насосной станции установлены насосы разных марок, то отметку пола принимаем по насосу, у которого она минимальная. Насос второй ступени выше, соответственно, для него отметка пола будет ниже, это значение принимаем к проектированию
Вычисляем отметки осей насосов,м
Определение отметки осей всасывающих и напорных патрубков
Для построения аксонометрической схемы расположения трубопроводов в насосной станции необходимо рассчитаны отметки осей всасывающего и напорного патрубков насосов.
Для насоса марки SCP 200/480HA-110/4-T4-R1-ROHS/E1 оси будут
Для насоса марки SCP 80/380DS-37/4-T4-R1-ROHS/E1 оси:
Всасывающие и напорные трубопроводы насосных станций
Количество всасывающих и напорных водоводов в проекте одинаковое и равно двум.
Внутристанционные трубопроводы выполняются стальными со сварным соединением. Подключение труб к насосам и арматуре обеспечивается фланцевыми соединениями. Всасывающие и напорные трубопроводы объединяются коллекторами, расположенными в здании НС-2 в пределах машинного зала. Диаметры трубопроводов внутри насосной станции, фасонных частей и арматуры принимаем исходя из рекомендуемых скоростей движения воды по таблице 3.1 [13]. Принятые диаметры и наибольшие расходы трубопроводов приведены на рисунке 6.3.
Рисунок 7.3- Схема принятых диаметров и расходов трубопроводов внутри насосной станции.
Трубопроводы в пределах насосной станции и наружные всасывающие водоводы выполняются стальными со сварными соединениями. Арматура присоединяется к трубам с помощью фланцев.
Количество и места размещения запорной арматуры на трубопроводах в насосной станции устанавливаем исходя из обеспечения возможности замены или ремонта насосов, обратных клапанов и задвижек без нарушения требований [1] по обеспеченности подачи воды.
Исходя из условия установки насосов под залив, на всасывающих трубопроводах устанавливаем задвижки. На этих трубопроводах устанавливаем эксцентрические(косые) переходы, препятствующие образованию воздушных «мешков».
Напорный трубопровод от каждого насоса оборудуем обратным клапаном и задвижкой, размещенными до места присоединения к коллектору. Монтажные вставки устанавливаем между обратным клапаном и задвижкой.
Размещение оборудования в насосной станции второго подъема
Размещение насосных агрегатов в насосной станции второго подъема производится с учетом их количества и размеров, удобства прокладки всасывающих и напорных трубопроводов с наименьшим числом их поворотов, стандартных размеров строительных конструкций.
Всасывающие и напорные трубопроводы внутри насосной станции проектируются по общим правилам, выполняются стальными со сварным соединением. Для подключения труб к насосам и арматуре применяются фланцевые соединения.
Трубы в насосной станции устанавливаются на полу на подставках. Для перехода через трубы устраиваем специальные мостики.
В местах поворотов устанавливаем упоры, а под арматурой – опоры.
Ввод водоводов в здание насосной станции производим на отметке их наружной прокладки, поэтому участки подъема труб до отметки прокладки внутристанционных труб размещаем внутри насосной станции в каналах. При проходе через стену применяем гибкую заделку с сальниковым уплотнением.
Места размещения арматуры определяем таким образом, чтобы обеспечивалась бесперебойная работа насосной станции при отключении любого агрегата и любого участка трубопровода.
Размещение насосов и трубопроводов в насосной станции
Схема размещения насосных агрегатов в насосной станции зависит от числа насосов, их типа, заглубления машинного зала. Однако существуют общие принципы расположения агрегатов и трубопроводов: ширина проходов между выступающими частями насосов принимается не менее 1 м, между агрегатами и стеной – 1 м( в заглубленных станциях – 0,7 м), между выступающими частями насосных агрегатов и трубопроводами – 0,7 м, между трубопроводами – 0,7 м.
Насосные агрегаты расположены в линейном порядке.
Определены диаметры всех внутристанционных трубопроводов по наибольшему для каждого участка расходу.
Для того чтобы объединительные коллекторы располагались на одной оси, на трубопроводах устанавливаем монтажные вставки, а также определяем положение и размеры монтажной площадки, и место расположения дренажных насосов.
Гидравлический расчет внутристанционных трубопроводов
Гидравлический расчет выполняется для случая максимальной производительности насосной станции при нормальном режиме эксплуатации. Диаметры трубопроводов и границы расчетных участков показаны на аксонометрической схеме (рисунок 7.4). Расчетный расход
, один рабочий насос 1, расположенный в точке 4.
На расчетной схеме самый невыгодный маршрут движения воды – расчетная ветвь, которая разбивается на участки с постоянной скоростью движения воды заключена между точками 1-7. Первая и последняя точки являются точками входа трубопровода в насосную станцию и выхода из нее.
На расчетной ветви имеются следующие сопротивления: 2 колена, 6 тройников, 2 переход расширяющихся, 2 перехода сужающихся, 8 задвижек и обратный клапан.
1 – Насос марки SCP 200/480; 2 - SCP 80/380
Рисунок 7.4 – Аксонометрическая расчетная схема
внутристанционных трубопроводов
Результаты расчета приведены в таблице 7.2.
Таблица 7.2 – Гидравлический расчет внутристанционных трубопроводов
|
| Длина, L, м | Диа-метр, d,мм | Расход, q, л/с | Скорость, V,м/с | Гидравли-ческий уклон, i·1000 | Σξуч | Потери напора, м | ||
|
| iL | | ΣΔh | ||||||
| 1-2 | 1,59 | 250 | 38,42 | 0,72 | 4,1 | 0,5 | 0,007 | 0,01 | 0,020 |
| 2-3 | 4,19 | 250 | 38,42 | 0,72 | 4,1 | 4,1 | 0,017 | 0,11 | 0,125 |
| 3-4 | 3,50 | 300 | 76,94 | 1,01 | 6,0 | 1,4 | 0,021 | 0,07 | 0,091 |
| 4-5 | 3,61 | 250 | 76,94 | 1,45 | 12,9 | 3,1 | 0,047 | 0,33 | 0,373 |
| 5-6 | 3,55 | 200 | 38,42 | 1,12 | 12,2 | 2,6 | 0,043 | 0,17 | 0,210 |
| 6-7 | 1,53 | 200 | 38,42 | 1,12 | 12,2 | 2,0 | 0,019 | 0,13 | 0,146 |
|
| Сумма Σhw уч | 0,966 | |||||||
В первоначальном расчете требуемого напора насосов внутристанционные потери напора приняты равными 1 м, по расчету сумма потерь напора 0,966 м, значит диаметры трубопроводов приняты верно.
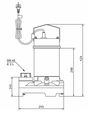
Отвод дренажных вод
Подобранные центробежные насосы, установленные под залив, перед запуском заполняются водой из водозаборного резервуара (РЧВ) открытием задвижек на всасывающих трубопроводах.
В заглубленном павильоне насосной станции образуются дренажные воды за счет утечек через сальники и в случае аварии, а также дополнительно могут накапливаться грунтовые воды, фильтрующиеся через стены. Дренажные воды отводятся в лоток технической канализации. Для отведения скапливающихся вод устанавливается дренажный насос марки Wilo TS 40/14 A 3.















