ПЗ-Бушмин (1192173), страница 4
Текст из файла (страница 4)
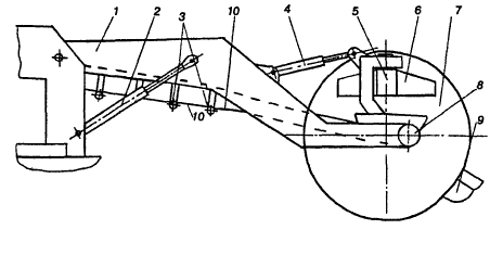
Привод ротора гидростатический с плавным изменением скорости вращения. Вторым рабочим органом являются плуги, которые установлены по обеим сторонам рабочей машины. Они используются для работ по выравниванию грунта, планировке грунта, профилирования балластной призмы и вспомогательных работ в выемках. Ротор 7 (см. рисунок 2.3) шарнирно подвешен к стреле 1, которая установлена на клети. Стрела поднимается и опускается цилиндрами 2. На стреле установлен конвейер с роликоопорами 3. Изменение наклона ротора 7 выполняется гидроцилиндром 4, соединенным с карданным шарниром 5, Материал из ковшей ротора высыпается в бункер 6, откуда на о
Рисунок 2.3. Стрела с ротором: 1 - стрела ротора; 2, 4 - гидроцилиндры; 3 -роликоопоры; 5 - карданный шарнир; 6 -бункер; 7 - ротор; 8 - барабан;
9 - ковш; 10 - лента
сновной конвейер с барабаном 8 и лентой 9.
Поворотный механизм обеспечивает поворот стрелы ротора и конвейера вокруг общей вертикальной оси. В конструкции опор применены крупногабаритные роликовые опорно-упорные подшипники.
Конвейерная система включает в себя: основной, защитный и поворотный конвейеры ленточного типа. Основной конвейер предназначен для транспортирования добытого материала из загрузочного бункера на поворотный конвейер. Несущей рамой основного конвейера служит стрела ротора, на концах которой установлены два барабана, приводной и оборотный. Лента огибает эти барабаны и опирается на роликоопоры верхней ветви ленты. Загрузка конвейера - через воронку. Максимальный угол подъема при этом не более 34°. Лента соединена способом горячей вулканизации материала. Приводной барабан с гидромотором установлен на кронштейне стрелы ротора в зоне выгрузки. Поворот вокруг вертикальной оси осуществляется запасованными в направляющие 5, 9 (рисунок 2.4, а) и блоках 8, канатами 7, гидроцилиндрами 7, подвижных блоках 8 и опор с направляющими. Концы канатов заделаны в коушах 2 и крепятся одними концами через натяжные устройства к кронштейнам 10, 12, 13 рамы стрелы 5, другими 11 - к раме ротора. Для получения нужного профиля поверхности земляного полотна после ротора и установки приемного конвейера 7 (рисунок 2.4, б) в горизонтальное положение служит гидроцилиндр 4, опрокидывающий ротор 6 (см. рисунок 2.4, а), с ковшами 8, устанавливает и удерживает его в нужном положении относительно вертикальной плоскости.
Рисунок 2.4. Приводы: а) опрокидывания ротора: 1 - гидроцилиндр; 2 - кронштейн; 3 - стрела; 5 - направляющие; 6 - закрепление каната, 7 - канат; 8 - подвижной блок; б) поворота ротора; 1 - стрела; 2, 3 - гидроцилиндры; 4, 5 - кардан; 6 - ротор; 7 - конвейер; 8 - ковш
Ротор имеет безсекционную конструкцию (рисунок 2.5). На внешнем поворотном кожухе ротор имеет двенадцать равномерно распределенных прямоугольных отверстий, над которыми находятся прикреплённые ковши 5. Способ прикрепления ковшей позволяет их переустановку в обратном направлении без их демонтажа. При вращении ковшового колеса грунт по кожуху поступает наверх, где кольцо кожуха является открытым, и просыпается в загрузочный бункер ротора и далее через кожух на основной конвейер 6. Карданный шарнир является соединяющим звеном между ротором и стрелой. Он обеспечивает поворот ротора вокруг вертикальной оси на 180° и его опрокидывание вокруг горизонтальной оси. Это позволяет ротору на глубине 2,2 м ниже УГР занять вертикальное положение. На карданном шарнире находится направляющая троса для поворота ротора. Трос одновременно служит для устойчивости ротора. Карданный шарнир представляет собой сварную деталь, состоящую из балок кронштейнов устойчивых от кручения.
П
Рисунок 2.5. Схема ротора: а) ротор: 1 - колесо; 2 - гидромотор; 3 - кронштейн и крепление ротора к стреле; 4 - бункер; 5 - ковш; 6 - конвейер; б) ковш; в) механизм крепления ротора; 1 - ротор; 2, 3 - кронштейны
луги представляют собой две сварные конструкции, установленные по обеим сторонам машины в главной раме (рисунок 2.6). На консоли в подшипниках скольжения, установлен поворотный кронштейн, на котором крепится стрела 3. Поворот стрелы в вертикальной плоскости осуществляется гидроцилиндром 4 в проушинах верхней части поворотного кронштейна 6. В горизонтальной плоскости стрела 3 перемешается вместе с поворотным кронштейном гидроцилиндром. Крылья 1 плуга подвижно укреплены на подвеске, и имеют возможность независимо перемещения относительно друг друга вокруг вертикальной оси.
Гидросистема СЗП-600 состоит из органов включения замкнутых гидравлических цепей, привода вращения ротора, привода конвейера, привода левого плуга и узла стрелы, ротора и четырех открытых цепей: привода защитного конвейера, цепи вспомогательного источника, цепи аварийного источника, загрузочной цепи. Все гидрогенераторы получают привод от электродвигателей, кроме гидрогенератора аварийного источника, который получает привод от ДВС. Электрическую энергию для привода электродвигателей гидросистемы поставляет приводной агрегат УТМ.
Гидросистема заправляется маслом МГЕ-46У. Отдельные цепи взаимно соединены, с целью возможности фиксирования движений рабочих органов. Гидромоторы рабочих органов являются регулируемыми.
Добытый материал при вращении ротора высыпается в приемный бункер. Из бункера добытый материал поступает на основной конвейер ротора, который транспортирует его в загрузочную воронку поворотного конвейера для перемещения его на откос земляного полотна или в вагоны. При очистке или заглублении кюветов ротор может поворачиваться вокруг вертикальной оси, при этом поперечный профиль кювета получит эллиптическую форму в зависимости от глубины копания и угла поворота ротора.
Д
Рисунок 2.7. Схемы работы: а) машины; б) ротора; в) плугов
ругим рабочим органом являются плуги, которые смонтированы по обеим сторонам рабочей машины. Лемех плуга изготовлен из двух крыльев, которыми можно самостоятельно управлять. От положения крыльев зависит профиль планированной поверхности. Кроме того, можно устанавливать наклон лемеха в горизонтальной и вертикальной плоскостях, изменять высоту и вылет плугов.Машина может работать двумя рабочими органами - ротором и плугами (рисунок 2.7) или каждым в отдельности. При этом ротор может поворачиваться вокруг вертикальной оси (рисунок 2.7, б).
В
Рисунок 2.8. Пример технологии работ при объеме вырезки 1 м3/м пути
ремя очистки кювета, а также скорость движения машины и число проходов зависит от типа грунта, его объема на 1 погонный метр пути. Пример выполнения технологических операций при объеме грунта в 1 м3/м пути показан на рисунке 2.8.
Машина СЗП-600 и комплекс имеют следующие технические показатели
Габарит по ГОСТ 9230-83...................................................................………. 1-Т
Длина комплекса по осям автосцепок, м..........................................……...53,52
УТМ-1...................................................................................................……..14,42
СЗП-600................................................................................................……..24,48
ВП-1.....................................................................................................………14,62
Масса комплекса, т:................................................................................……..209
УТМ-1........................................................................................................……..76
СЗП-600.....................................................................................................…….104
ВП-1...........................................................................................................……..29
Передвижное устройство....................................………две трехосные тележки
Осевая нагрузка машины СЗП-600, т не более.....................................………20
Минимальный радиус проходимой кривой, м....................................………150
Скорость при постановке в поезд, км/ч.................................................………80
самоходом.................................................................................................……...65
рабочая скорость.................................................................................………0,3-3
Экипаж, чел:
машины СЗП-600......................................................................................………2
комплекса..................................................................................................………4
Тормоза
эксплуатационный........................................................………..пневматический
не прямодействующий стояночный......................……...механический ручной
Характеристики рабочих органов
Мощность привода ротора, кВт............................................................……….55
Производительность, м3/ч.................................................................…….…..350
Максимальный вылет ротора, м.....................................………..7,8 от оси пути
Глубина копания ротора, м.....................................................………..2,8 от УГР
Диаметр ротора, мм...........................................................................………..3460
Окружная скорость, м/с..................................................................………..0-2,17
Количество ковшей...............................................................................………..12
Форма ковша..............................................................................………...закрытая
Усилие резания ковша, кН, не более...................................................………..23
Продолжительность рабочих движений:
быстро.....................................................…………15,5 с на полный ход поршня
медленно..................................................…………100 с на полный ход поршня
Опрокидывание ротора:
к машине....................................................…………12 с на полный ход поршня
от машины........................................................................................………...то же
Поворот ротора вокруг вертикальной оси:
угол поворота.....................................................................................………..175°
время поворота....................................................................................……….30 с
Мощность привода основного конвейера, кВт...................................………11
Ширина ленты, мм...............................................................................………650
Скорость ленты, м/с............................................................................………1,68
Транспортная производительность, м3/ч...........................................……….160
Максимальный наклон ленты.............................................................………..34°
Тип ленты…. транспортерная лента с вулканизированным профилем; расположение рифлей шевронное
Мощность привода защитного конвейера, кВт..................................……….11
Ширина ленты, мм..............................................................................……….800
Тип ленты .......................................................………резинотканевая гладкая
Мощность привода поворотного конвейера, кВт..............................………11
Ширина ленты, мм..............................................................................………800
Скорость ленты, м/с...........................................................................……….1,68
Транспортерная производительность, м3/ч.......................................………200
Максимальный наклон ленты............................................................……….17°
Тип ленты .......................................................………резинотканевая гладкая
Расстояние высыпания.....на радиусе 8,2 мм от центра поворотного механизма
Высота высыпания, мм.........................................................………4460 от УГР
Скорость перестановки (подъем, опускание):…15 с на полный ход цилиндра
Скорость поворота....................................................................……….206 0/мин
Максимальный боковой вылет плуга, м........................……….5,5 от оси пути
Каждая сторона СЗП-600 оснащена одним плугом















