Бондаренко (1189809), страница 9
Текст из файла (страница 9)
30. Захидов, Р.А. Зеркальные системы концентрации лучистой энергии [Текст] / Р.А. Захидов // ФАН, 1975. − № 2. – С. 175.
31. Клычев, Ш.И. Коэффициенты равномерного распределения солнечного излучения в составных концентраторах [Текст] / Ш.И. Клычев, Р.А. Захидов, Х. Ахмедов // Гелиотехника. – 1997. − № 2. – С. 62-64.
32. Герметичные солнечные резервуары для производства электроэнергии [Текст]: Colonnell Energie fiternative. – 1984. − № 28. – Р. 103-113.
33. Саламов, А.А. Гелиотермические электростанции в США [Текст] / А.А. Саламов. − М.: Энергохозяйство за рубежом, 1987. − № 5. – С. 34-41.
34. Материалы о гелиотермических системах. Энергетический институт [Текст]: Ea Solar Energy. – 1981. – № 5. – Р. 37-53.
35. Keller, L. Optimizing the Panel Area of a Photovoltaic System in Relation to Static Inverter Practical Results [Текст] / L. Keller, P. Affolter // SE. – 1995. – Vol. 55. № 1. – Р. 1-7.
36. Григорьев, В.А. Теплотехника и теплоэнергетика. Общие вопросы [Текст]: справочник / В.А. Григорьев, В.М. Зорин. – М.: Энергоатомиздат, 1987. – С. 397-399.
37. Использование солнечных печей [Текст]: Solar Energy. – 1981. – Vol. 26. № 5. – Р. 377-390.
38. Солнечные и ветровые энергетические системы [Текст]: process Engineerino magazine. – 1983. – Vol. 23. – Р. 3-4.
39. Телешов, В.Г. Организация использования нетрадиционных источников энергии [Текст]: учебн. пособие / В.Г. Телешов. – Чита: ЧитГУ, 2004. – 97 с.
40. Жигарев, А.А. Электронно-лучевые и фотоэлектрические приборы [Текст] / А.А. Жигарев, Г.Г. Шамаев. − М.: Высшая школа, 1982. – 463 с.
41. Амброзяк, А. Конструкция и технология полупроводниковых фото-электрических приборов [Текст] / А. Амброзяк. − М.: Советское радио, 1970. − 270 с.
42. Чопра, К. Тонкопленочные солнечные элементы [Текст] / К. Чопра, С. Дас. – М.: Мир, 1986. − 435 с.
43. Амброзяк, А. Конструкция и технология полупроводниковых фотоэлектрических приборов [Текст] / А. Амброзяк. − М.: Советское радио, 1970.
44. Twidell, J. Renewable Energy Systems [Текст] / J. Twidell, J. Weir // Chapman and Hall. – 1994.
45. Centre for Resources and Environmental Studies, ANU, Sustainable Energy Systems [Текст] – Pathways for Australian Energy Reforms, Cambridge University Press –1994.
46. Fahrenburch, A. Fundamentals of solar cells [Текст] / A. Fahrenburch, R. Bube // Academic Press. – New York, 1983.
47. Александович, Н. Основы астрономии. Учебный курс на базе основ физики и математики [Электронный ресурс] – Режим доступа: http://hea.iki.rssi.ru/~nik/astro.
48. Frolkis, V.A. Radiation code for climate and general circulation models [Текст] / V.A. Frolkis, E.V. Rozanov // Current problems in atmospheric radiation.–1993.– P. 176.
49. Пригарин, В.Е. Расчет переноса излучения в замутненной и облачной атмосфере: описание модели [Текст] / В.Е. Пригарин, Г.Л. Стенчиков, В.А. Фролькис. – М.: ВЦ АН СССР, 1990. – 14 с.
50. Dunlop, E. Solar Energy Resource Management for Electricity Generation from Local Level to Global Scale [Текст] / E. Dunlop, L. Wald, M. Šúri // Nova Science Publishers. – 2006.
51. Petrov, L.A. Solar Tracking Strategies [Текст] / L.A. Petrov // BSc (Hons) Dissertation – University of dundee 2010/2011. – 79 p.
52. Пантелеев, В.Л. Физика Земли и планет [Текст] / В.Л. Пантелеев // Курс лекций. – М.: МГУ. – 2001.
53. Damm, J. An active solar tracking system [Текст] / J. Damm // HomeBrew Magazine. – 1990.
54. Рылов, Ю.М. Описание изобретения к патенту РФ Параболоцилиндрический концентратор солнечной энергии с системой слежения за Солнцем [Текст] / Ю.М. Рылов. – 2007.
55. Саврасов, В.Ф. Информационно-аналитические аспекты использования солнечной энергии [Текст] / В.Ф. Саврасов, А.В. Юрченко, В.И. Юрченко // Сборник материалов I Научно-практической конференции. – Томск: ТПУ, 2010. – С. 10-17.
56. Внутренний фотоэффект [Электронный ресурс] – Режим доступа: http://www.vevivi.ru/best/Vnutrennii-fotoyeffekt-ref131087.html.
57. Прокопов, О.И. Описание изобретения к патенту РФ № 2280918 [Текст] / О.И. Прокопов, У.Р. Ярмухаметов. – БИ, 2006. – № 21.
58. Юрченко, А.В. Планарная неоднородность фоточувствительных кремниевых фотоэлектрических преобразователей [Текст]: дис. на соиск. учен. степ. канд. техн. наук / А.В. Юрченко. – Томск, 2001.
59. Эффект Саньяка [Электронный ресурс] – Режим доступа: http://ru.wikipedia.org/Эффект_Саньяка.
60. Тимошенко, К. Концентрирующий параболический солнечный коллектор [Электронный ресурс] – Режим доступа: http://delaysam.ru.
61. Ярмухаметов, У.Р. Солнечные энергетические установки с системой слежения за Солнцем для энергоснабжения сельскохозяйственных потребителей [Текст]: автореф. дис. на соиск. учен. степ. канд. техн. наук / У.Р. Ярмухаметов. – СПб., 2008. – 18 с.
62. Intelligent Solar Tracking Control System Implemented on an FP [Электронный ресурс] – Режим доступа: http://www.altera.co.jp/literature/ dc/2007/t3c.pdf.
63. Solar tracking project [Электронный ресурс] – Режим доступа: http://ecorenovator.org/forum/solar-power/875-solar-tracker-project-14.html.
64. Mysolar tracker [Электронный ресурс] – Режим доступа: http://www.zrimir.ru/wvbTHF0Hyno/My_Solar_Tracker.html.
65. Arduino Solar Tracker [Электронный ресурс] – Режим доступа: http://www.instructables.com/id/Arduino-Solar-Tracker.
66. Щелевые солнечные датчики [Электронный ресурс] – Режим доступа: http://www.vniiem.ru.
67. Байере, Т. 20 конструкций с солнечными элементами [Текст] / Т. Байере. – М.: Мир, 1988.
68. Двигатель Стирлинга [Электронный ресурс] – Режим доступа: http://www.physicstoys.narod.ru.
69. Сидоренко, В.П. Описание изобретения к патенту РФ № 2125686 [Текст] / В.П. Сидоренко, Е.В. Ханин. – 1999.
70. Сивков, С.И. Методы расчета характеристик солнечной радиации [Текст] / С.И. Сивков. – Л.: Гидрометеоиздат, 1968. – 234 с.
71. Kondratjev, K.Ya. Radiation calculation of the slope planes [Текст] / K.Ya. Kondratjev, Z.I. Pivovarova, M.P. Fedorova. – М.: Gidrometeoizdat. – 1978.
72. Stine W., Geyer M. Power From The Sun [Электронный ресурс] – Режим доступа: http://www.powerfromthesun.net/index.html.
73. Кондратьев, К.Я. Радиационный расчет наклонных поверхностей [Текст] / К.Я. Кондратьев, З.И. Пивоварова, М.П. Федорова. – Л.: Гидрометеоиздат, 1978.
74. Бринкворт, Б.Дж. Солнечная энергия для человека [Текст] / Б.Дж. Бринкворт – М., 1976.
75. Астрономические опыты [Электронный ресурс] – Режим доступа: http://astroexperiment.ru/astro/utime.shtml.
76. Географический информационный проект [Электронный ресурс] – Режим доступа: http://gect.ru/astronomy.html.
77. Wichert, B. First Experiences with a Novel Predictive Control Strategy for PV [Текст] / B. Wichert, W. Lawrance, T. Friese // Diesel Hybrid Energy Systems – Solar, 1999.
78. Уравнение времени [Электронный ресурс] – Режим доступа: http://ru.wikipedia.org/Уравнение_времени.
79. Колтун, М.М. Оптика и метрология солнечных элементов [Текст] / М.М. Колтун. – М.: Наука, 1985. – 280 с.
80. Козлов А.В. Контроль влияния параметров атмосферы на энергетические характеристики кремниевой солнечной батареи [Текст]: дис. на соиск. учен. степ. канд. техн. наук / А.В. Козлов. – Томск, 2008.
81. Наумов, А.В. Развитие солнечной энергетики на основе тонкопленочных CIGS-элементов [Текст] / А.В. Наумов, С.И. Плеханов // Энергия: экономика, техника, экология. – М., 2013. – № 7. – С. 14.
82. Экскурсия в лабораторию альтернативных источников энергии [Электронный ресурс] – Режим доступа: http://fs.nashaucheba.ru/docs/180/index-
238103.html.
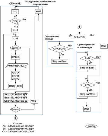
ПРИЛОЖЕНИЕ
Рисунок 1 – Алгоритм работы системы
ОКОНЧАНИЕ ПРИЛОЖЕНИЯ
Алгоритм состоит из трех основных блоков: блок определения необходимости ориентирования, блок определения восхода и блок ориентирования в течение дня
Начинается алгоритм с блока определения необходимости ориентирования. Для этого проводятся измерения и запись сигналов каждого элемента датчика с интервалом 10 с три раза. В первый шаг получим значения А1, В1 и С1, следующий А2, В2 и С2, а в третий соответственно А3, В3 и С3. Затем, если значения, полученные с одного и того же элемента, расходятся между собой более чем на 10%, то полученные записи удаляются, а измерения и запись проводятся заново. При необходимости цикл повторяется три раза. Если за три раза не удалось получить значения с расхождением менее 10%, это свидетельствует о переменной облачности, при которой ориентирование невозможно, т.к. положение яркого пятна меняется. В таком случае подается команда перехода в «спящий режим.
Если разница трех значений сигналов одного элемента менее 10%, то программа переходит к следующему действию. Средние значения сигналов каждого элемента сравниваются с пороговым, соответствующим сигналу в ночное время. Если хотя бы одно значение превышает пороговое значение, то осуществляется переход к блоку определения восхода. В противном случае (когда сигналы трех элементов ниже порогового) система переходит в режим ожидания.
Для определения восхода сигнал элемента С сравнивается с сигналами элементов А и В. Если в обоих случаях он больше, это свидетельствует о наступлении восхода и блок контроллера подает команду повернуть ФМ на восток до крайнего положения.
Следующий блок отвечает за ориентирование плоскости ФМ в течение дня. Средние значения сигналов А и В датчика сравниваются между собой. Если одно значение превышает другое более, подается команда поворота на один шаг в сторону большего. Так происходит, пока разница между А и В не станет менее 1,5%, что свидетельствует об ориентировании ФМ на самое яркое пятно. После этого система переходит в спящий режим.















