Лекция №1-2. Конспекты к слайдам (1186391), страница 4
Текст из файла (страница 4)
Информация, получаемая в устройстве первичной обработки, поступает в автоматизированное рабочее место (АРМ), в котором может осуществляться дополнительная обработка радиолокационной информации, а результаты измерения координат (первичная информация) помещаются на индикатор кругового обзора.
Из АРМ ведется управление РЛС, в том числе производится выбор зондирующего сигнала.
В Кодере осуществляется формирование зондирующего сигнала на видеочастоте и при необходимости задаются параметры манипуляции в случае использования сложных сигналов.
В модуляторе сигналы, сформированные в Кодере, переносятся на несущую частоту РЛС
. Требуемый уровень мощности обеспечивается усилителем мощности (УМ), с которого зондирующие сигналы через Антенный переключатель поступают в антенную систему.
Следует отметить, что согласованная работа всех узлов РЛС обеспечивается работой Синхронизатора, который включает опорный генератор и формирователь сигналов синхронизации.
В представленной схеме под приемным устройством понимается аналоговая часть приемного тракта.
Формально АЦП также является элементом приемного тракта.
Для АЦП требуется согласование с приемным устройством по коэффициенту шума и динамическому диапазону. Последнее достигается выбором разрядности АЦП.
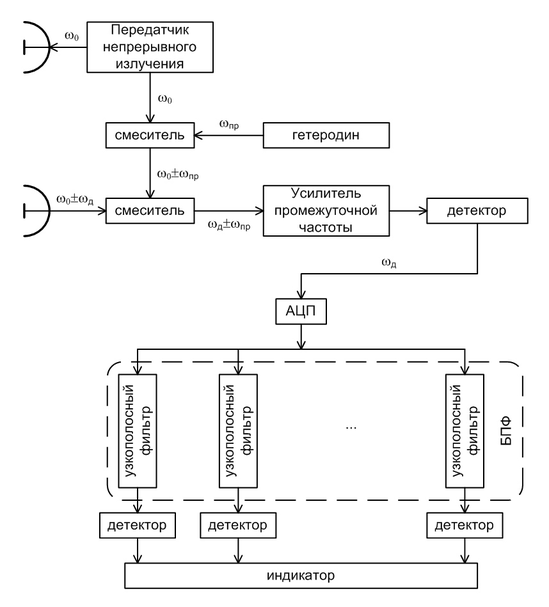
2.5.7 Совмещенная РЛС непрерывного излучения
Слайд 30
Данная РЛС передает в эфир непрерывный (а не импульсный) сигнал.
В отличие от совмещенной импульсной для РЛС непрерывного излучения необходимо две антенны: передающая и приемная.
Рис. 7 – Структурная схема совмещенной РЛС непрерывного излучения
РЛС непрерывного излучения применяются для измерения доплеровских частот.
Данные измерения осуществляются по биениям передаваемого и принимаемых колебаний.
Биения формируются на промежуточной частоте (ПЧ)
на выходе смесителя.
После усиления и переноса спектра на нулевую частоту (детектирования) производится аналого-цифровое преобразование.
Цифровой сигнал поступает на последовательность узкополосных фильтров с полосой пропускания
.
Количество фильтров определяет требуемое разрешение по частоте.
2.6 Типы радиолокационных целей
Классификация целей может быть проведена следующим образом:
– аэродинамические (ракеты, самолеты, вертолеты);
– наземные;
– подземные (полости в грунте, металлические предметы, мины);
– надводные;
– подводные;
– космические (КА и БР);
– естественного (природного) происхождения (планеты, звезды, облака, карстовые полости в грунте).
Совершенствование радиолокационных комплексов приводит к необходимости уделять большее внимание космическим целям, в частности, баллистическим ракетам (БР) и связанным с ними объектам.
-
Стартующая баллистическая ракета.
В зависимости от дальности действия баллистические ракеты подразделяются на
межконтинентальные,
средней дальности,
малой дальности,
оперативно-тактические и
тактические.
При выходе баллистической ракеты за пределы атмосферы в область ближнего космоса для межконтинентальных ракет и ракет средней и малой дальности, являющихся многоступенчатыми, происходит отделение головной части, а в ряде случаев и прикрывающих ее ложных целей и иных средств преодоления.
Формируется так называемая сложная баллистическая цель.
Характер движения данной цели является неуправляемым, а баллистическая траектория, имеющая место до разделения, расщепляется на несколько автономных, параметры которых оказываются отличающимися от нее.
В случае применения межконтинентальных ракет в составе сложной цели может оказаться несколько головных частей, нацеливаемых после разделения на разные объекты поражения.
Процесс формирования сложной цели носит название разведение.
-
Головная часть баллистической ракеты отличается малыми геометрическими размерами (до 3 м в длину и до 1 м в диаметре), а также наличием теплозащитного покрытия.
Скорость движения головной части может достигать значений до 5 км/с.
Для повышения точности наведения после разделения проводится стабилизация движения головных частей путем закручивания вокруг продольной оси (реализуется принцип гироскопа).
В этом случае параметры траектории головной части после входа в атмосферу являются прогнозируемыми, в отличие от случая неуправляемого входа в атмосферу, когда параметры траектории устанавливаются в зависимости от начальных углов входа в атмосферу и других параметров хаотического движения.
Для снижения заметности головной части применяется скругление ее носовой части, а также скругление плоской кромки.
Кроме того, в последнее время зарубежные головные части ракет в промышленно развитых странах производятся по технологии "Стелс".
-
Ложные цели.
Для прикрытия головных частей баллистических ракет в составе сложной баллистической цели и противодействия радиолокационным средствам противоракетной обороны применяются ложные цели.
Ложные цели укрупнено можно разделить на легкие и тяжелые.
Легкие ложные цели применяются преимущественно на внеатмосферном участке полета сложной баллистической цели.
Учитывая безвоздушный характер среды, движение объектов в области ближнего космоса оказывается практически независимым от их массогабаритных характеристик.
Это позволяет применять в качестве ложных целей надувные баллоны с различными покрытиями для имитации в той или иной степени параметров головной части.
Учитывая малую массу ложных целей их число, в составе сложной баллистической может достигать нескольких десятков или сотен.
23
















