2020.05.13 Лекция № 13 Электробезопасность (1175815), страница 3
Текст из файла (страница 3)
Явления при стекании тока в землю.
Напряжение шага
Шаговое напряжение представляет собой разность потенциалов между двумя точками в зоне растекания тока, находящимися на расстоянии шага 0,8 м.
|
Распределение потенциала на поверхности земли |
Попав в зону растекания, человек может оказаться под разностью потенциалов с напряжением шага (В):
- ток замыкания на землю (стекающий через заземлитель), А;
- удельное сопротивление грунта, Ом·м;
- расстояние от центра заземлителя до человека, м;
- расстояние шага, м.
Из формулы ясно, что чем шире шаг, тем больше напряжение шага. Ток, протекающий через человека, попавшего под шаговое напряжение, можно рассчитать по формуле:
При расстоянии более 20 м от места стекания тока на землю дальнейшим уменьшением потенциала земли можно пренебреч.
Напряжение прикосновения при одиночном заземлителе
На рисунке представлены электродвигатели, корпуса которых заземлены одиночным заземлителем.
При замыкании фазы на корпус одного из электродвигателей на заземлителе и на всех присоединенных к нему металлических частях появится потенциал φз. Поверхность земли вокруг заземлителя также будет иметь потенциал, изменяющийся по кривой, зависящей от формы заземлителя.
Напряжение прикосновения характеризуется отрезком АВ и зависит от формы потенциальной кривой и расстояния Х между человеком, прикасающимся к заземленному оборудованию, и заземлителем: чем дальше от заземлителя находится человек, тем больше Uпр, и наоборот. Так, при расстоянии х=
, а практическая при х=20 м (точка 1 на рисунке) напряжение прикосновения имеет наибольшее значение Uпр=φз. Это наиболее опасный случай прикосновения. При наименьшем значении х, когда человек стоит непосредственно на заземлителе, Uпр=0.
Уравнение для напряжения прикосновения можно написать в следующем виде
– коэффициент напряжения прикосновения или просто коэффициент
прикосновения.
ОСНОВНЫЕ НАПРАВЛЕНИЯ ОБЕСПЕЧЕНИЯ ЭЛЕКТРОБЕЗОПАСНОСТИ
-
Недоступность токоведущих частей. Может осуществляться за счет:
а) изоляции проводов;
б) размещения на недоступной высоте;
в) ограждений.
-
Использование малых напряжений:
а) напряжение < 42 В (ручные машины и переносные лампы);
б) напряжение < 12 В (лампы в особо опасных условиях).
-
Электрическое разделение сети. Разделение электросети на отдельные не связанные участки с помощью специальных разделяющих трансформаторов. В результате снижается ёмкость проводов относительно земли, повышается безопасность.
-
Двойная изоляция состоит из:
а) рабочей изоляции (изолирует токоведущие части электроустановки);
б) дополнительная изоляция (металлические нетоковедущие части
между руками и электроустановкой).
-
Защитное заземление – преднамеренное электрическое соединение с землей или её эквивалентом металлических нетоковедущих частей, которые могут оказаться под напряжением.
-
Зануление – преднамеренное электрическое соединение с нулевым защитным проводником металлических нетоковедущих частей, которые могут оказаться под напряжением.
-
Защитное отключение (ОЗУ – отключающее защитное устройство) – быстродействующая защита, обеспечивающая автоматическое отключение электроустановки при возникновении в ней опасности поражения током.
-
Средства защиты, применяемые в электроустановках:
а) изолирующие электрозащитные средства (диэлектрические резиновые перчатки, инструмент с изолирующими рукоятками, изолирующие штанги, клещи, указатели напряжения; диэлектрические галоши, коврики и подставки);
б) ограждающие средства защиты (ограждения-щиты, ограждения-клетки, изолирующие накладки и колпаки, предупредительные плакаты, временные заземления);
в) предохранительные средства индивидуальной защиты СИЗ (защитные очки, противогазы, специальные рукавицы).
-
Организационные мероприятия.
а) касающиеся персонала:
- обязательный медосмотр;
- обучение и квалификация.
б) касающиеся эксплуатации установок:
- оперативное обслуживание (дежурство, обходы и осмотры,
оперативные переключения);
- производство работ (ремонт, монтаж, строительные работы).
Классификация помещений по опасности поражения током
Все помещения делятся по степени поражения людей электрическим током на три класса:
-
Помещения без повышенной опасности. Сюда относятся сухие, беспыльные помещения с нормальной температурой воздуха и с изолирующими полами.
-
Помещения с повышенной опасностью. Сюда относятся помещения, характеризующиеся одним из пяти условий, создающих повышенную опсность:
-
Сырость, относительная влажность более 75 %;
-
Жаркие помещения, температура более + 35о С;
-
Пыльные помещения с токопроводящей пылью (угольная,
металлическая и др.);
-
Токопроводящие полы (металлические, земляные,
железобетонные, кирпичные и т.п.);
-
Возможность одновременного прикосновения человека к
имеющим соединение с землей металлоконструкциям зданий,
технологическим аппаратам, механизмам и т.п., с одной стороны, и к металлическим корпусам электрооборудования – с другой.
-
Особо опасные помещения. Сюда относятся помещения, характеризующиеся одним из трех условий, создающих особую опасность:
-
Особо сырые помещения, относительная влажность близка к 100 %;
-
Помещения с химически активной или органической средой,
содержащие пары, газы, жидкости, действующие разрушающе на
изоляцию и токоведущие части электрооборудовании;
-
Одновременное наличие двух и более условий, свойственных
помещениям с повышенной опасностью.
Защитное заземление электроустановок
| Принципиальная схема защитного заземления в сети с изолированной нейтралью до 1000 В и выше: 1 – заземленное оборудование; 2 – заземлитель защитного заземления; rз – сопротивление защитного заземления; Iз – ток замыкания на землю. |
Заземление предназначено для устранения опасности поражения людей электрическим током при появлении напряжения на конструктивных частях электрооборудования, т.е. при замыкании фазы на корпус.
Цель заземления:
-
Снижение до безопасных значений напряжения прикосновения;
-
Снижение до безопасных значений напряжения шага.
Защитное заземление используется в трехфазной трехпроводной сети напряжением до 1000 В с изолированной нейтралью.
Различают два типа заземляющих устройств: выносное (или сосредоточенное) и контурное (или распределенное).
Выносное заземляющее устройство отличается тем, что заземлитель вынесен за пределы площадки заземляемого оборудования или сосредоточено на некоторой части этой площадки. Недостаток:
-
Отдаленность заземлителя от заземляемого объекта, вследствие чего напряжение прикосновения равно потенциалу заземленных конструкций;
-
Применяется только при малых значениях тока замыкания на землю в установках до 1000 В.
Согласно ПУЭ «Правила устройства электроустановок», если мощность источника Рист
10 кВ·А, то сопротивление заземляющего устройства может быть в пределах 10 Ом.
В этой ситуации можно хвататься за корпус, поскольку ток пройдет через заземлитель, ведь его сопротивление существенно меньше, чем у человека.
При контурном заземлении обеспечивается выравнивание потенциала по земле за счет того, что одиночные заземлители размещаются либо по контуру площадки с оборудованием, либо равномерно распределяются по всей площадке.
Защитное заземление обязательно.
-
Во всех помещениях без повышенной опасности для всех установок напряжения 380 В и выше переменного 50 Гц и 440 В и выше постоянного тока;
-
В помещениях с повышенной опасностью и особо опасных при напряжении выше 42 В и выше переменного и 110 В и выше постоянного;
-
Во взрывоопасных помещениях заземление выполняется обязательно не зависимо от значения напряжения установки.
Зануление
Нулевым защитным проводником называется проводник, соединяющий зануляемые части с глухозаземленной нейтральной точкой обмотки тсточника. Схема зануления приведена ниже.
| Принципиальная схема зануления. 1 – корпус; 2 – аппараты для защиты от токов короткого замыкания (плавкие предохранители, автоматы и т.л.); Rо – сопротивление заземления нейтрали источника тока; Rп – сопротивление повторного заземления нулевого защитного провода; Iк – ток короткого замыкания. |
Задача зануления устранение опасного поражения людей током при замыкании на корпус. Применяется в трехфазной четырехпроводной сети напряжением до 1000 В с глухозаземленной нейтралью
При коротком замыкании фазы на корпус образуется контур через нулевой защитный проводник с большим током (малое сопротивление), достаточным для «выбивания» плавкого предохранителя в закороченной фазе.
Защитное отключение
За рубежом эта система используется как основная система защиты. У нас как дополнительная защитная отключающая система, если безопасность не обеспечивается полностью заземлением или занулением.
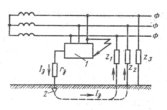
| Принципиальная схема устройства защитного отключения , реанирующего на напряжение корпуса относительно земли: 1 – корпус; 2 – автоматический выключатель; КО – катушка отключения; Н – реле напряжения максимальное; Rз – сопротивление защитного заземления; Rв – сопротивление вспомогательного заземления. |
В качестве датчика служит реле максимального напряжения между защищаемым корпусом и вспомогательным заземлителем Rв. Электроды вспомогательного заземлителя размещаются в зоне нулевого потенциала, т.е. не ближе 15-20 м от заземлителя корпуса Rз.
При замыкании фазы на корпус (проявляется защитное свойство заземления) между корпусом и землей будет напряжение Uз=Iз·Rз. Если Uз окажется выше заранее установленного предельно допустимого напряжения Uз.доп., срабатывает защитно-отключающее устройство, которое запитывает реле, которое, в свою очередь, отключает установку от сети.
7
















