Nets2010 (1131259), страница 33
Текст из файла (страница 33)
Адресные поля DSAP и SSAP занимают по 1 байту. Они позволяют указать, какая служба верхнего уровня пересылает данные с помощью этого кадра. Программному обеспечению узлов сети при получении кадров канального уровня необходимо распознать, какой протокол вложил свой пакет в поле данных поступившего кадра, чтобы передать извлеченный из кадра пакет нужному протоколу верхнего уровня для последующей обработки. Для идентификации этих протоколов вводятся так называемые адреса точки входа службы (Service Access Point, SAP). Значения адресов SAP приписываются протоколам в соответствии со стандартом 802.2. Например, для протокола IP значение SAP равно 0х6, для протокола NetBIOS -0хF0. Для одних служб определена только одна точка входа и, соответственно, только один SAP, когда адреса DSAP и SSAP совпадают, а для других - несколько. Например, если в кадре LLC значения DSAP и SSAP содержат код протокола IPX, то обмен кадрами осуществляется между двумя IPX-модулями, выполняющимися в разных узлах. Но в некоторых случаях в кадре LLC указываются различающиеся DSAP и SSAP. Это возможно только в тех случаях, когда служба имеет несколько адресов SAP, что может быть использовано протоколом узла отправителя в специальных целях, например для уведомления узла получателя о переходе протокола-отправителя в некоторый специфический режим работы.
Поле управления (1 или 2 байта) имеет сложную структуру при работе в режиме LLC2 и достаточно простую структуру при работе в режиме LLC1 (рис. 3.2).
Рис. 3.2. Структура поля управления
В режиме LLC1 используется только один тип кадра - ненумерованный. У этого кадра поле управления имеет длину в один байт. Все подполя поля управления ненумерованных кадров принимают нулевые значения, так что значимыми остаются только первые два бита поля, используемые как признак типа кадра. Учитывая, что в протоколе Ethernet при записи реализован обратный порядок бит в байте, то запись поля управления кадра LLC1, вложенного в кадр протокола Ethernet, имеет значение 0х03 (здесь и далее префикс Ох обозначает шестнадцатеричное представление).
В режиме LLC2 используются все три типа кадров. В этом режиме кадры делятся на команды и ответы на эти команды. Бит P/F (Poll/Final) имеет следующее значение: в командах он называется битом Poll и требует, чтобы на команду был дан ответ, а в ответах он называется битом Final и говорит о том, что ответ состоит из одного кадра.
Ненумерованные кадры используются на начальной стадии взаимодействия двух узлов, а именно стадии установления соединения по протоколу LLC2. Поле М ненумерованных кадров определяет несколько типов команд, которыми пользуются два узла на этапе установления соединения. Ниже приведены примеры некоторых команд.
-
Установить сбалансированный асинхронный расширенный режим (SABME). Эта команда является запросом на установление соединения. Она является одной из команд полного набора команд такого рода протокола HDLC. Расширенный режим означает использование двухбайтных полей управления для кадров остальных двух типов.
-
Ненумерованное подтверждение (UA). Служит для подтверждения установления или разрыва соединения.
-
Сброс соединения (REST). Запрос на разрыв соединения.
После установления соединения данные и положительные квитанции начинают передаваться в информационных кадрах. Логический канал протокола LLC2 является дуплексным, так что данные могут передаваться в обоих направлениях. Если поток дуплексный, то положительные квитанции на кадры также доставляются в информационных кадрах. Если же потока кадров в обратном направлении нет или же нужно передать отрицательную квитанцию, то используются супервизорные кадры.
В информационных кадрах имеется поле N(S) для указания номера отправленного кадра, а также поле N(R) для указания номера кадра, который приемник ожидает получить от передатчика следующим. При работе протокола LLC2 используется скользящее окно размером в 127 кадров, а для их нумерации циклически используется 128 чисел, от 0 до 127.
Приемник всегда помнит номер последнего кадра, принятого от передатчика, и поддерживает переменную с указанным номером кадра, который он ожидает принять от передатчика следующим. Обозначим его через V(R). Именно это значение передается в поле N(R) кадра, посылаемого передатчику. Если в ответ на этот кадр приемник принимает кадр, в котором номер посланного кадра N(S) совпадает с номером ожидаемого кадра V(R), то такой кадр считается корректным (если, конечно, корректна его контрольная сумма). Если приемник принимает кадр с номером N(S), неравным V(R), то этот кадр отбрасывается и посылается отрицательная квитанция Отказ (REJ) с номером V(R). При приеме отрицательной квитанции передатчик обязан повторить передачу кадра с номером V(R), а также всех кадров с большими номерами, которые он уже успел отослать, пользуясь механизмом окна в 127 кадров.
В состав супервизорных кадров входят следующие:
-
Отказ (REJect);
-
Приемник не готов (Receiver Not Ready, RNR);
-
Приемник готов (Receiver Ready, RR).
Команда RR с номером N(R) часто используется как положительная квитанция, когда поток данных от приемника к передатчику отсутствует, а команда RNR -для замедления потока кадров, поступающих на приемник. Это может быть необходимо, если приемник не успевает обработать поток кадров, присылаемых ему с большой скоростью за счет механизма окна. Получение кадра RNR требует от передатчика полной приостановки передачи, до получения кадра RR. С помощью этих кадров осуществляется управление потоком данных, что особенно важно для коммутируемых сетей, в которых нет разделяемой среды, автоматически тормозящей работу передатчика за счет того, что новый кадр нельзя передать, пока приемник не закончил прием предыдущего.
Итак, протокол LLC
-
обеспечивает для технологий локальных сетей нужное качество транспортной службы, передавая свои кадры либо дейтаграммным способом, либо с помощью процедур с установлением соединения и восстановлением кадров.
-
предоставляет верхним уровням три типа процедур: процедуру без установления соединения и без подтверждения; процедуру с установлением соединения и подтверждением; процедуру без установления соединения, но с подтверждением.
-
обеспечивает дуплексный канал, так что данные могут передаваться в обоих направлениях.
-
в режиме с установлением соединения использует алгоритм скользящего окна.
-
С помощью управляющих кадров может управлять потоком данных, поступающих от узлов сети. Это особенно важно для коммутируемых сетей, в которых нет разделяемой среды, автоматически тормозящей работу передатчика при высокой загрузке сети.
45. Мосты: организация, основные функции, принципы функционирования. Мосты из 802.х в 802.х. Сравнение мостов для 802.х.
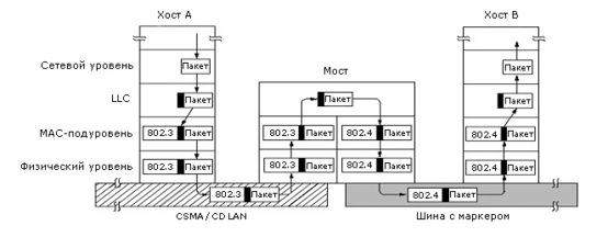
Довольно часто в организации возникает потребность соединить между собой несколько ЛВС. Этой цели служат специальные устройства, называемые мосты, которые функционируют на уровне канала данных. Это означает, что это устройство не анализирует заголовки пакетов сетевого уровня и выше и, таким образом, может просто копировать пакеты IP, IPX, OSI, в то время как маршрутизаторы могут работать только с определенными пакетами.
Далее мы рассмотрим устройство мостов, а частности, для соединения сетей в стандарте 802.3, 802.4, 802.5. Но прежде рассмотрим типичные ситуации, где применяются мосты. Их как минимум шесть:
-
Многие подразделения в организации имеют свои собственные локальные сети. Например, сети факультетов в университетах, отделы в институтах и т.п. В силу различий стоящих перед ним задач, они используют разные приложения и, что естественно, сети, отличные от сетей других подразделений. Рано или поздно наступает момент, когда необходимо интегрировать информационные потоки всей организации и, соответственно, объединять сети между собой.
-
Организация может занимать несколько зданий и, возможно, будет целесообразно в каждом здании иметь свою сеть, объединив их через мосты.
Иногда, при высоких рабочих нагрузках, приходится разбивать сеть на несколько, с целью локализации трафика в каждой подсети. Например, ясно, что класс рабочих станций для студентов лучше оформлять как самостоятельную сеть, локализовав трафик в этой сети: к чему распространять по всему факультету трафик с фотографиями и музыкой?
-
В некоторых случаях причиной для использования моста может служить большое расстояние между объединяемыми сетями. Дело в том, что, используя мост, можно увеличить длину сегмента.
-
Мост может увеличить надежность сети. В локальной сети один узел может нарушить работоспособность сети в целом. Мосты, размещенные в критических точках сети, подобно запасным пожарным выходам, могут заблокировать такой узел и предотвратить нарушение работы системы в целом.
-
Мост может повысить безопасность сети. Большинство интерфейсов в ЛВС имеют специальный режим, при котором компьютер получает все пакеты, проходящие в сети, а не только адресованные ему. Всякого рода злоумышленники и просто любопытствующая публика просто обожают эту возможность. С помощью правильно расставленных мостов можно добиться, чтобы определенный трафик проходил лишь по определенным маршрутам, где он бы не мог попасть в чужие руки.
Теперь, когда мы знаем, для чего нужны мосты, рассмотрим, как они работают. Рисунок 4-31 показывает работу простого двухпортового моста.
Рисунок 4-31. Двухпортовый мост между 802.3 и 802.4
Мосты из 802 в 802.
На первый взгляд может показаться, что построить мост из 802 в 802 не сложно. Но это не так. У каждой из девяти возможных пар есть свои трудности. Но прежде чем начать рассматривать эти индивидуальные проблемы, начнем с общих. Первая - каждый стандарт имеет свой собственный формат кадра. Они показаны на рисунке 4-32. Для этих различий не было никаких технических оснований. Просто корпорации, поддерживавшие их разработки, - Xerox, GM, IBM - не захотели пойти на встречу друг другу и что-то изменить у себя. В результате при переходе из сети в сеть требуется реформатирование кадра, на что тратится время процессора, перевычисляется контрольная сумма. Ничего этого не потребовалось бы, если бы три комитета смогли договориться о едином формате.
Рисунок 4-32. Форматы кадров IEEE 802
Следующая проблема - разные сети могут работать с разной скоростью. Если передача идет из скоростной сети в медленную, то мост должен обладать достаточным буфером. Эта проблема может усугубляться непостоянством скорости передачи из-за коллизий, как, например, в 802.3. К тому же несколько сетей могут посылать трафик одной и той же сети, что опять приведет к перекосу скоростей.
Другой тонкой, но важной проблемой является проблема моста как источника временной задержки, которая может влиять на тайм-аут на верхних уровнях. Предположим, что сетевой уровень над 802.4 пытается послать длинное сообщение в виде последовательности кадров. После отправки последнего кадра таймер устанавливается на ожидание уведомления о получении. Если сообщение проходит через мост с медленной 802.5, то есть опасность, что тайм-аут наступит прежде, чем последний кадр будет передан в медленную сеть. Сетевой уровень решит, что все сообщение утеряно, и начнет все сначала. После нескольких попыток сетевой уровень сообщит транспортному, что получатель отсутствует.
Третьей, и наиболее серьезной проблемой является то, что все три стандарта имеют разную максимальную длину кадра. Для 802.3 на 10 Мбит/сек. это 1500 байт, для 802.4 - 8191 байт, для 802.5 максимальная длина ограничена временем удержания маркера. Последняя величина по умолчанию имеет значение 10 мсек., что соответствует 5000 байтам.
Очевидная проблема возникает, когда длинный кадр надо доставить в сеть с короткими кадрами. Разбиение кадра на части не является задачей данного уровня. Это не значит, что таких протоколов не было создано, просто стандарты 802 не предусматривают надлежащих средств. Слишком длинные кадры просто сбрасываются.
Теперь рассмотрим все девять пар.
Рисунок 4-33. Проблемы, возникающие при построении мостов из 802.x в 802.y
802.3 - 802.3
Здесь есть только одна опасность, что сеть, в которую передают, сильно перегружена и мост не успевает вставлять свои кадры. Есть опасность переполнения буфера у моста, в случае чего мост начнет сбрасывать кадры. Такая проблема потенциально есть всегда и мы о ней здесь более упоминать не будем. По отношению к двум другим стандартам все проще, так как мост обязательно получит маркер и свой временной слот на передачу кадров.
802.4 - 802.3
Здесь две проблемы. Первая - кадры из 802.4 содержат биты приоритета, а в кадрах 802.3 таких нет. В результате, если две 802.4 взаимодействуют через 802.3, то информация о приоритетах будет уничтожена.
Вторая проблема вызвана исключительно тем, что в кадре 802.4 есть бит временной передачи маркера получателю для уведомления. Что делать мосту, если ему поступит такой кадр? Послать подтверждение самому нельзя - получатель может быть неработоспособен. С другой стороны, если не дать подтверждения, то отправитель решит, что получатель неработоспособен, что может быть не так, и предпринять соответствующие меры. Похоже, что у этой проблемы нет решения.
802.5 - 802.3
Здесь мы имеем проблемы, аналогичные тем, что мы обсуждали выше. Например, есть биты А и С, которые используются для анализа информации о доставке и получении кадра. Как поступать мосту с такими кадрами? Если мост сам начнет имитировать за получателя значения этих разрядов, то очевидно, здесь могут возникать трудноисправимые ошибки. Ситуация выглядит так, что появление моста может менять семантику отдельных разрядов кадра, и как решить эту проблему - представить трудно.
802.3 - 802.4















