Метрология КР вариант 1 (1093389), страница 2
Текст из файла (страница 2)
ТАо = ∑ТАj = 70+70+100+70+70+58+40+140+58 = 676 мкм.
Чтобы обеспечить ТАо = 400 мкм, необходимо перейти как минимум на
IT9 или применить конструктивный компенсатор Ак.
3) Определение предельных отклонений звена – компенсатора.
Верхнее отклонение замыкающего звена:
EsAo = ∑EsАjув. - ∑EiАjум. + EiАк; преобразуя данное уравнение:
Ei Ак = EsAo - ∑EsАjув. + ∑EiАjум. ,
EiАк = EsAo – (EsА7 +EsА8) + (EiА6+EiА5+EiА4+EiА3+ EiА2+EiА1+EiА10) = =200 – (0+0) + (0+0+0 -100-70-70+0) = - 40 мкм
Нижнее отклонение замыкающего звена:
EiAo = ∑EiАjув. - ∑EsАjум. + EsАк преобразуя данное уравнение получаем:
EsАк = EiAo - ∑EiАjув. + ∑EsАjум.
EsАк=EsAo – (EiА7 +EiА8) + (EsА6+EsА5+EsА4+EsА3+ EsА2+EsА1+EsА10) = -200 – (-40-140) + (58+70+70+0+0+0+58) = +236 мкм
4) Допуск звена компенсатора Ak = 1+0,284 определяем по формуле: ТАк =EsAk – EiAk = 284 - (-40) = 276 мкм.
Произведем проверку: ТАк =∑ТАj –ТАо.
ТАк =676 – 400= 276 мкм – значение допуска определено верно.
5) Расчет количества сменных прокладок к и их толщины в.
К = ТАк / TAo +1 = 276 / 400 +1= 1,69. Принимаем К = 2.
В = ТАк / k = 276 / 2 = 138 мкм.
Проверка: Ak max = Ak min + к ∙ в ≤ Ak maxf,
где Ak maxf =1,236 мм - фактическое максимальное значение звена компенсатора
Ak max = (1-0,040) + 2 ∙ 138 = 1,236 мкм – что соответствует Ak maxf. Условие выполняется.
Раздел III
1. Выбор средств контроля размеров деталей редуктора
1.1 Крышка подшипникового узла (вал)
В разделе 1 было выбрано 2 конструкции крышки: глухая и с отверстием для выхода вала. Глухая крышка имеет посадку в корпус
52 Js7/d11, а крышка с отверстием -
52 Js7/d9.
Выберем средство измерения для глухой крышки. Выбор осуществляем по условию: Ц.дел.прибора0,3*ТА
Значение допуска составляет Тd = 190 мкм (при IT11 и
52).
0,3 ∙ 0,19 = 0,057 мм. Для данной детали подходит штангенциркуль с отсчетом по нониусу 0,05 мм (0,05<0,057 – условие выполняется).
Для крышки с отверстием Td = 74 мкм (при IT9 и
52). 0,3 ∙0,074 = 0,0222 мм. Выбираем скобу индикаторную с ценой деления 0,01 мм (0,01< 0,0222 - условие выполняется.)
1.2. Распорная втулка (кольцо).
Посадка дистанционного кольца (втулки) на вал имеет вид
20 F8. При этом значение допуска составляет 13 мкм.
0,3 ∙0,013 = 0,039 мм. Выбираем нутромер микрометрический с ценой деления 0,01 мм. 0,01<0,039 – условие выполняется.
1.3. Осевой зазор при сборке.
При сборке редуктора необходимо обеспечить осевой зазор Ао=1 ± 0,2мм
Значение допуска при этом составляет 400 мкм. Наиболее удобным средством измерения зазора является плоский щуп – набор пластин различной толщины. Толщина пластин может быть 0,1, 0,2, 0,3 мм.
2. Расчет исполнительных размеров контрольных калибров.
Исполнительные размеры калибр – скобы.
Измеряемый элемент детали имеет наружный номинальный размер
30 мм, поле допуска t7, предельные отклонения: верхнее +62, нижнее +41 мкм, поле допуска Т=21 мкм.
Определяем величину допускаемой погрешности измерения: по табл.10.1 находим строку интервала номинальных размеров 18 – 30 мм и столбец 7-го квалитета. В их пересечении находим для допуска 21 мкм допускаемую погрешность измерения, равную 84 мкм.
Исполнительные размеры калибр-скобы рассчитываем по следующим уравнениям:
Колибр –скоба
Р – Пр ИР= d0+ esd – z + H1/2= 30+0,062 – 0,005 – 0,003 =30.054мм
Р – Не ИР= d0+ eid –H1/2= 30+0.041 – 0.003=30,038мм
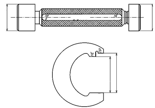
Исполнительные размеры калибра пробка.
Измеряемый элемент детали имеет наружный номинальный размер
30 мм, поле допуска Н8, предельные отклонения: верхнее +33, нижнее 0 мкм, поле допуска Т=33 мкм.
Определяем величину допускаемой погрешности измерения: по табл.10.1 находим строку интервала номинальных размеров 18 – 30 мм и столбец 8-го квалитета. В их пересечении находим для допуска 33 мкм допускаемую погрешность измерения, равную130 мкм.
Исполнительные размеры калибра пробка рассчитываем по следующим уравнениям:
Колибр–пробка
Р – Пр ИР= D0+ EID+ z + H/2= 30+0+0,003+0,002=30,005мм
z , H, H1 – определяются по таблице
Р – Не ИР= D0+ ESD+ H/2= 30+0.021+0.002=30,023мм
Эскизы калибров пробки и скобы.
















