книга1 с (1085852), страница 11
Текст из файла (страница 11)
положительными вследствие сложных процессов нагрева и охлаждения соседних участков. Значения
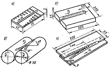
зависят также от формы свариваемых деталей и их закрепления. Например,'при приближении шва к краю пластины (рис. 10.1, а) происходит расширение металла в направлении сварки
и резкое увеличение размера
в зоне кристаллизующегося металла ванны при развороте кромок. Узкие пластины (рис. 10.1, б) при сварке сильно изгибаются от неравномерного нагрева и создают удлинение металла в районе участка
рядом со сварочной ванной; одновременно по той же причине про-
245
исходит увеличение размера
Механические испытания металлов при высоких температурах показывают, что пластичность металла б В некотором интервале между температурами солидуса Т
и ликвидуса Т
очень мала (рис. 10.2). Этот интервал получил название температурного интервала хрупкости (ТИХ). Наличие ТИХ, в котором минимальная пластичность
может
снижаться до 0,1—0,5
. является одной из основных причин образования горячих трещин. За период пребывания металла в этом интервале могут накопиться такие деформации удлинения, которые превзойдут уровень пластичности в ТИХ. Возможность образования горячих трещин тем больше, чем меньше пластичность металла в ТИХ, чем шире ТИХ и чем больше темп
собственных деформаций удлинения е при сварке. Под темпом понимают
Рис. 10.2. Зависимость пластичности металла 6 от температуры Т
Рис. 10.1. Примеры образования значительных деформаций удлинения кристаллизующегося металла в~ процессе сварки
Рис. 10.1. . Примеры образования значи- Рис. 10.2. Зависимость, плас-
тельных деформаций удлинения кристал- точности металла 6 от теМпера-
лизующегося металла в" процессе сварки туры Т
скорость изменения деформации по температуре
У неко-
торых сплавов могут быть два и даже три температурных интервала хрупкости. При этом второй и третий интервалы проявляются при температурах ниже Тс
Горячие трещины возникают как в швах, так и вблизи линии сплавления в околошовной зоне. Они могут располагаться как вдоль, так и поперек шва.
Образование трещин зависит главным образом от состава металла шва и основного металла, формы и размеров свариваемого узла конструкции, режимов и условий сварки. Существуют разнообразные методы и приемы определения сопротивляемости сварных соединений образованию горячих трещин. В начале развития исследований технологической прочности пригодность металлов и принятой технологии для производства сварных конструкций определяли путем пробы — сварки специально подобранного образца или серии образцов. В разных странах разработано много разнообразных сварочных технологических проб. Они отличаются между собой формой образца и условиями сварки. В каждой из проб принят определенной формы образец, который должен обеспечивать по возмож* ности больший уровень е по формуле (10.1), чтобы заведомо созда*-вать больший темп собственных деформаций в шве в период кри-
сталлизации металла. На-шример, на рис. 10.3, а, б показаны образцы некоторых проб, в которых трещины возникают вследствие повышенной деформации изгиба образцов при их проплавлении (рис. 10.3, а) или сварке (рис. 10.3, б). Если сваривается металл, хорошо сопротивляющийся образованию горячих трещин, и применяются достаточно высококачественные сварочные материалы, то горячие трещины в образцах проб могут и не образовываться. В этом случае остается открытым вопрос о фактической сопротивляемости металла образованию горячих трещин. Для интенсификации процесса образования деформаций с целью получения горячих
Рис. 10.3. Образцы для испытаний на технологическую прочность
трещин в лабораторных условиях образцы в процессе сварки могут дополнительно деформироваться испытательной машиной, которая создает за определенный промежуток времени в дополнение к деформациям
машинную деформацию На
рис. 10.3, в, г показаны примеры образцов, которые дополнительно нагружаются машиной во время сварки. На рис.
в образцы непосредственно в процессе укладки валика закручивают в направлении
а на рис. 10.3, г растягивают с заданной скоростью деформации, при этом сопротивляемость швов образованию горячих трещин оценивают длиной трещины
Один из простейших способов оценки качества металла по его сопротивляемости образованию горячих трещин состоит в том.что сваривают узел конструкции, наиболее подверженный образованию трещин, и определяют наличие в нем трещин. При сравнении двух металлов или вариантов технологии таким методом невозможно судить, какой из них лучше, если трещин нет вовсе. В этом — один из основных недостатков такого подхода. В ряде проб оценку ведут по длине образующейся в образце трещины. Чем длиннее трещина, тем хуже металл.
246
247
В качестве признака оценки используют также минимальный или максимальный размер образца, при котором появляются горячие трещины. Например, проваривают пластины разной ширины или с различной глубиной боковых прорезей.
Известны приемы оценки условий сварки, когда одни и те же образцы сваривают с разной погонной энергией или с различной скоростью сварки. Определяют неблагоприятные условия и в дальнейшем назначают такие режимы, которые наиболее удачны в отношении сопротивляемости образованию трещин.
Как видно на примере нескольких упомянутых проб^рис. 10.3), они могут быть предназначены либо для качественной, либо для количественной сравнительной оценки сопротивляемости образованию горячих трещин.
Одним из совершенных методов количественной оценки сопротивляемости сварных соединений образованию горячих трещин является метод испытания, в котором предусматривается растяжение с различными скоростями затвердевающего металла шва с целью
Рис. 10.4. Схема растяжения образца в процессе сварки
определения критической скорости
перемещения захватов машины, достаточной для возникновения горячих трещин. При этом
',
где
_кр— перемещение в ТИХ, Ъри-Рис 10.4. Схема растяжения водящее к образованию трещины; образца в процессе сварки
— время пребывания металла в
ТИХ. Существуют разные приемы реализации этого метода, например путем растяжения образца при сварке стыкового соединения или его изгиба (рис. 10.4). Недостаток этого метода состоит в том, что нельзя сравнивать между собой по показателю
результаты испытаний различ-
ных по размерам образцов или при различных условиях сварки, так как при этом изменяется температурный режим образца и одной и той же скорости перемещения захватов будут соответствовать разные деформации, накопленные металлом за период пребывания его в ТИХ. Более точной мерой сопротивляемости металла образованию горячих трещин является критический темг деформации
определяемый приближенно как отношение кри-
тического значения перемещения кромок свариваемых элементоЕ за время деформирования в ТИХ к значению ТИХ 18].
Горячие трещины образуются не только в сталях, но и в сплавах на основе других металлов, в частности алюминия. В табл. 10.1 приведены результаты испытаний сварных соединений из алюми ниевых сплавов с целью определения уровней
Чем выше
тем выше сопротивляемость сплава образованию горячих трещин Для оценки принятых конструктивных форм по их способное^ сопротивляться образованию горячих трещин применяют так на зываемую оценку по эталонному ряду электродов. Используя сва рочные материалы с заранее определенными для них и разными vK] или
сваривают одинаковые типовые узлы сварной конструкцш и определяют тот уровень
или
, при' котором в сварном узл<
248
появляются горячие трещины. Найденные значения величин являются показателем уровня возникающих в сварных соедчнениях-темпов собственных деформаций при сварке и признаком степени; совершенства конструктивных решений и принятой технологии сварки. Если трещины появляются при сварке электродами с высоким
то это означает, что в данном узле при сварке развиваются большие деформации удлинения, способные вызвать горячие трещины. Если трещины не образуются даже при сварке низкокачественными электродными материалами с низким показателем
то это свидетельствует о том, что данный конструктивный узел слабо подвержен образованию в нем горячих трещин.
Таблица 10.1
















