Лекция №2. Никелирование (1074589), страница 2
Текст из файла (страница 2)
Содержание блескообразователя в ванне можно определить аналитически, однако для этого надо иметь соответствующее оборудование и основательное знание лабораторной методики. Можно пользоваться услугами специальных лабораторий, однако это не всегда возможно. Следовательно, остается собственная инициатива гальваника, обслуживающего ванну, или другого более грамотного человека.
Если получим полублестящее покрытие, то это значит, что в ванне очень мало блескообразователя, На 100 л ванны можно добавить 25 см3 добавки “DF-bis”. Если это не приведет к улучшению блеска, то причина лежит в самой ванне. Следует определить рН и температуру ванны и, если после корректировки этих параметров и дальше нет улучшения, то необходимо приступить к очистке ванны с помощью активированного угля и электролиза при малой плотности тока, что подробно описано при рассмотрении ванн.
Очень трудная ситуация возникает в случае избыточного введения блескообразователей. В этом случае покрытия становятся хрупкими в местах очень малой плотности тока; например, в местах контакта изделия с подвесками образуются видимые черные пятна и может быть даже окончательный брак покрытий. Следовательно, необходимо избавиться от избытка блескообразователя, прорабатывая ванну в нормальных условиях, повесив на катодную штангу отходы стального листа, соответственно обезжирив их и протравив.
Одним из часто встречающихся дефектов никелевых покрытий является пористость — так называемый питтинг — небольшие углубления в покрытии, напоминающие наколы, возникающие при никелировании в результате прилипания пузырьков водорода к поверхности катода. Это объясняется большим поверхностным натяжением, в особенности в ваннах для никелирования. В месте расположения пузырька покрытие не образуется, возникает кратер.
Кроме водорода на поверхности катода могут оседать и пузырьки воздуха, содержащегося в ванне. Не работающая ванна охлаждается и поглощает определенное количество воздуха. При нагревании ванны воздух выделяется в виде пузырьков, часть из которых оседает на поверхности катода, приводя к питтингу. Перед началом никелирования ванну следует нагреть до температуры на несколько градусов выше обычно применяемой, выключить нагрев и подождать, пока температура не снизится до нормы. Кроме того, воздух может попасть в ванну вследствие неплотности фильтрующего насоса. Неплотность насоса, безусловно следует устранить.
Большое влияние на образование питтинга имеет также и состояние подложки, пористость которой, неметаллические включения и всякого рода загрязнения поверхности способствуют образованию питтингов. Таким же образом влияют загрязнения ванны взвесью или продуктами распада органических веществ.
С целью предупреждения образования питтинга в ванну добавляют окисляющие или смачивающие вещества. К первым относится пероксид водорода, добавляемый в обычные ванны в виде пергидроля в количествах 0,2—0,5 см3/л.
В ванны с блескообразователями пергидроль не добавляют, так как он действует разрушающе на органические вещества. В таких случаях добавляют смачивающие вещества, например, лаурилсульфат натрия, в количестве 0,1—0,2 г/л.
Пероксид водорода и смачивающее вещество не являются радикальными противопиттинговыми средствами. Устранить газовые пузырьки помогает механическое встряхивание изделий на подвесках в ванне. Подвижная катодная штанга, а еще лучше перемешивание ванны сжатым воздухом, намного облегчает борьбу с питтингом. При устойчивом питтинге следует применять очистку ванны активированным углем.
Свойства никеля и применение никелирования
Никель — металл серебристо-белого цвета с уд. вес. 8,9 и температурой плавления 1452° С. Микротвердость гальванически осажденных никелевых покрытий лежит в пределах 200-300 кГ/мм2. После термообработки никелевых покрытий, содержащих фосфор, микротвердость их возрастает еще более, сравниваясь с твердостью блестящего хрома.
Никелевые покрытия хорошо полируются до зеркального блеска и приобретают красивую декоративную внешность, не изменяющуюся от времени.
Являясь главным образом защитно-декоративным покрытием, никель способен надежно защитить железо от коррозии лишь при условии его
беспористости. Поэтому никелирование как защитно-декоративное покрытие применяют обычно с подслоем меди. Гальванические покрытия всегда обладают некоторой пористостью и для получения беспористых покрытий применяют попеременное осаждение нескольких слоев металлов. У таких многослойных покрытий поры каждого слоя обычно не совпадают, как это показано на рис.1.
Кроме того, многослойные покрытия позволяют снизить удельный расход никеля за счет более дешевой меди. Никелирование получило широкое применение в химической промышленности с толщиной покрытий без подслоя меди до 0,20—0,30 мм.
Высокая твердость и износостойкость никелевых покрытий используются в полиграфической промышленности для клише и стереотипов, для покрытия медных матриц при изготовлении патефонных пластинок, для мерительного инструмента и особенно для деталей, эксплуатируемых в условиях сухого трения.
Рис.2 схема расположния при многослойном напылении медь-никель-хром.
Частные случаи никелирования
Никелирование крепежных и мелких деталей. Для покрытия мелких деталей применяют колокольные и ковшовые ванны, а также ванны с вращающимся барабаном. При наличии большой программы устанавливают колокольные автоматы с высокой производительностью или шнековые автоматы с непрерывной подачей деталей. Никелирование небольших партий можно производить в переносных барабанах, надеваемых на катодную штангу стационарной ванны, а также на сетках или на проволочных подвескад.
Для никелирования в колоколах и барабанных ваннах наиболее пригоден электролит № 2, указанный в табл. 57.
При подсчете производительности колокольных ванн следует учитывать, что скорость наращивания никеля в них гораздо меньше, чем при покрытии на подвесках и составляет не более 50—60% от рассчитанной по закону Фарадея. Это явление связано с частичным истиранием никелевого покрытия вследствие взаимного трения деталей при вращении колокола или барабана. При этом электролит быстро мутнеет, заполняясь взвешенными частицами никеля и гидратом окиси железа, а pH его увеличивается до 6—6,5. При этом скорость наращивания никеля постепенно замедляется и увеличение толщины слоя свыше 10—12 мк является нецелесообразным. Для того чтобы сопряжение крепежных резьб, изготовленных по 3-му классу точности, происходило без затруднений, толщина слоя никеля не должна превышать 5—7 мк.
Выравнивание толщины покрытий неметаллическими экранами. В качестве экранов можно использовать листовой целлулоид, различные пластмассы, парафинированную или бакелитированную фанеру и прочие химически стойкие материалы. Экраны располагают между анодами и деталями так, чтобы экранированию подвергались наружные кромки и углы деталей и чтобы весь ток направлялся через прорезанные в экранах окна, как это показано на рис 2. Пользуясь такими экранами можно добиться равномерности на всех участках изделия.
Рис.3.. Схема применения экранов для выравнивания плотности тока на поверхности деталей:Л—аноды; 3 —неметаллические экраны; К — катод.
Гальваническое изготовление наждачных кругов. Для получения односторонних шлифовальных кругов на металлической основе используемых при зубопротезных работах в никелевый электролит на специальной подвеске горизонтально завешивают круги требуемого диаметра, штампованные из стальной ленты.
В электролите находится также абразивный порошок заданной зернистости. При перемешивании электролита сжатым воздухом порошок взмучивается, а после выключения перемешивания осаждается на поверхности стальных кругов.
Затем включают ток и производят осаждение никеля. Процесс ведут до получения толщины, достаточной для прочного закрепления зерен абразива, как это изображено на рис.4. При пользовании порошками № 150—180 достаточно слоя никеля толщиной 0,05 мм.
Рис.4 Приспособление для выравнивания плотности тока при покрытии внутренних полостей: ф- без экрана; б – с целлулоидным экраном
Рис.5 Схема закрепления абразивных зерен никелем 1- стальный диск; 2 – зерна абразива; 3 – слой никеля.
Этот метод весьма перспективен и может быть использован в других отраслях производства.
Никелирование нержавеющих сталей.
Для защиты кислотоупорных и нержавеющих сталей, работающих при повышенных температурах и в агрессивных средах, применяют никелирование в специальных электролитах. Перед покрытием детали обезжиривают, декапируют в соляной кислоте с добавкой хлористого никеля (30—40 г/л) и никелируют в электролите следующего состава и режима работы.
Рис.6.Принципиальная схема установки для химического никелирования деталей в непроточном корректируемом щелочном растворе:
1- стальная или дюралюминиевая ванна-термостат; 2-асбестовая прокладка; 3 – электроподогрев; 4- асбестовая прокладка; 5 – стенка ванны; 6 – масляная или водяная рубашка; 7 - ванная никелирования: 8 –корректировочный бак с концентрированным раствором хлористого никеля и гипофосфита натрия; 9 – корректировочный бак с 25%-м водным раствором аммиака; 10 – контактный термометр; 11 – терморегулятор; 12 – изолирующие подставки
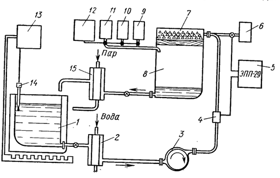
Рис. 7. Принципиальная схема автоматизированной установки для химического никелирования деталей в проточном регенерируемом кислом растворе:
1 – ванна никелировании; 2 – теплообменник для охлаждения отработанного раствора; 3 – насос; 4 – датчик ДКИ-1; 5 – электронный pH-метр; 6 – корректирующий бачок с раствором едкого иатра; 7 – фильтр; 8 – смесительный бак; 9, 10, 11 – бачки с концентрированными корректировочными растворами хлористого никеля, гипофосфита натрия и яблочной кислоты; 12 – автомат программного корректирования; 1 3- автоматический терморегулятор; 14 – контактный термометр; 15 – теплообменник для нагрева регенерированного раствора
Рис.8. Принципиальная схема установки для химического никелирования в регенируемом кислом растворе:
1- бак для хранения рабочего раствора: 2 – нагреватель; 3- ванна для никелирования; 4 – холодильник; 5 – бак для регенрации раствора; 6 – регенированный раствор; 7-фильтр.















