вар 106 (1074225)
Текст из файла
Задание №106
ПРОЕКТИРОВАНИЕ И ИССЛЕДОВАНИЕ МЕХАНИЗМОВ ДВС КОМПРЕССОРНОЙ УСТАНОВКИ
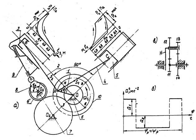
ДВС - компрессорная установка, предназначенная для перекачки газов, - представляет У-образную поршневую машину, у которой слева расположен цилиндрдвигателя внутреннего сгования, а справа - цилиндр компрессора. Кривошипно-ползунный механизм (рис. 106а) 1-2-3 и 1-4-5 обоих цилиндров одинаков, а диаметры поршней - разные. Угол развала осей цилиндров равен 90°.
Рабочие процессы в цилиндрах, протекающие при различных значениях максимального давления Pдmax>Pкmax, соответствуют одному обороту коленчатого вала. Для поддержания требующейся равномерности движения с заданным d установлен на коленчатом валу 1 маховик 10 (рис. 106а).
Придвижении поршня 3 двигателя вниз происходит расширение продуктов сгорания и давление в цилиндре снижается от Pдmax до Pдi; при движении вверх - всасывание и сжатие. При этом поршень 5 компрессора идет вначале вниз, всасывая газ (участок 12-3 траектории т.А), а затем, сжимая его до Pкmax и нагнетая в резервуар (участок 3-6-9). Для поддержания установившегося режима движения должно выдержаться равенство работ в левом и правом цилиндре (Aд=Aк), которое обеспечивается за счет выбора соответствующей величины Pдmax=Pкmax(dк/dд)2/(дк).
Характер изменения давления в цилиндрах по ходу поршней 3 и 5 представлен индикаторными диаграммами ДВС и компрессора (рис. 106а), данние для построения которых приведены в табл. 106-2.
Для привода счетчика расхода используется планетарный механизм 11-12-13-14-Н (рис. 106в), центральное колесо которого соединино с валом 1 а водило Н со счетчиком расхода.
Рис. 106
Исходные данные Таблица 106-1.
| № | Наименование параметра | Обозначение | Единица СИ | Числовые значения для вариантов | ||||
| А | Б | В | Г | Д | ||||
| 1 | Средняя скорость поршна компрессора | Vср | м/с | 6.0 | 5.2 | 5.95 | 6.4 | 6.0 |
| 2 | Частота вращения коленчатого вала | n1 | с-1 | 12.5 | 13.0 | 13.5 | 16.0 | 15.0 |
| 3 | Относительное положение центра масс шатуна 2 (ДВС) | S2=lAS2/lAC | - | 0.30 | 0.32 | 0.34 | 0.36 | 0.38 |
| 4 | Относительное положение центра масс шатуна 4 (компрессор) | S4=lAS2/lAC | - | 0.40 | 0.42 | 0.43 | 0.44 | 0.45 |
| 5 | Отношение длины шатуна 2 и 4 к длине кривошипа 1 | 4F=lAC/lCA | - | 4.08 | 0.50 | 4.4 | 4.5 | 4.6 |
| 6 | Диаметр цилиндва ДВС | d3 | м | 0.125 | 0.115 | 0.12 | 0.12 | 0.125 |
| 7 | Диаметр цилиндра компрессора | d4 | м | 0.23 | 0.22 | 0.24 | 0.26 | 0.25 |
| 8 | Максимальное давление в цилиндре компрессора | P5max | МПа | 1.18 | 1.22 | 1.20 | 0.98 | 1.10 |
| 9 | Масса шатуна 2 и 4 | m2=m4 | кг | 12 | 11 | 13 | 14 | 13 |
| 10 | Масса поршня 3 | m3 | кг | 10.0 | 11.0 | 11.5 | 12.0 | 11.8 |
| Масса поршня 5 | m5 | кг | 15.0 | 14.0 | 16.0 | 17.0 | 18.0 | |
| 11 | Момент инерции шатуна относительно оси, проходящей через центр масс | IS2=IS4 | кг·м2 | 0.32 | 0.33 | 0.34 | 0.35 | 0.36 |
| 12 | Момент инерции коленчатого вала | IS1 | кг·м2 | 0.10 | 0.11 | 0.09 | 0.08 | 0.10 |
| 13 | Механический КПД двигателя компрессора | д | - | 0.770 | 0.785 | 0.795 | 0.78 | 0.800 |
| к | - | 0.84 | 0.83 | 0.87 | 0.85 | 0.92 | ||
| 14 | Коэффициент неравномерности вращения вала 1 | | - | 1/100 | 1/95 | 1/110 | 1/90 | 1/80 |
| 15 | Момент инерции вращения звеньев приведенный к звену 1 (без маховика) | I1пр | кг·м2 | 1.25 | 1.26 | 1.28 | 1.3 | 1.20 |
| 16 | Угловая координата для силового расчета | 1 | град | 30 | 60 | 90 | 120 | 150 |
| 17 | Угол рабочего профиля кулачка | р | град | 188 | 158 | 126 | 158 | 188 |
| 18 | Ход толкателя кулачка | hд | м | 0.010 | 0.008 | 0.006 | 0.009 | 0.010 |
| 19 | Максимально допустимый угол давления в кулачковом механизме | [] | град | 30 | 36 | 38 | 28 | 30 |
| 20 | Внеосность толкателя кулачкового механизма | e | м | 0 | 0.005 | 0.006 | 0.004 | 0.006 |
| 21 | Отношение ускорений толкателя | a1/a2 | - | 2.0 | 1.5 | 1.8 | 1.6 | 1.7 |
| 22 | Число зубьев 6, 7 | Z6 | - | 10 | 11 | 12 | 13 | 9 |
| Z7 | - | 20 | 22 | 24 | 26 | 25 | ||
| 23 | Угол наклона линии зуба для колес 6 и 7 | | град | 16 | 20 | 18 | 22 | 25 |
| 24 | Модуль зубчатых колес 6 и 7 | m | м | 0.004 | 0.006 | 0.004 | 0.005 | 0.005 |
| 25 | Число сателлитов планетарного редуктора | k | - | 3 | 3 | 3 | 3 | 4 |
| 26 | Передаточное отношение планетарного редуктора | uК-Н | - | 28 | 32 | 24 | 27 | 35 |
Давление в цилиндрах двигателя и компрессора в долях максимального давления в зависимости от положения поршней Таблица 106-1.
| Относительное перпемещение S (в долях хода Н) |
| 0 | 0.02 | 0.05 | 0.1 | 0.2 | 0.3 | 0.4 | 0.5 | 0.6 | 0.7 | 0.8 | 0.9 | 1.0 | |||||||
| Давление газа в цилиндре ДВС (в долях от Pдmax) при движении поршня | вниз | Pi | 0.863 | 1.0 | 0.863 | 0.602 | 0.340 | 0.238 | 0.170 | 0.130 | 0.10 | 0.082 | 0.068 | 0.034 | 0 | ||||||
| вверх | 0.863 | 0.5 | 0.318 | 0.204 | 0.114 | 0.073 | 0.045 | 0.025 | 0.014 | 0.005 | 0.001 | 0 | 0 | ||||||||
| Давление газа в цилиндре ДВС (в долях от Pкmax) при движении поршня | вниз | Pi | 1.0 | - | - | 0.30 | -0.1 | -0.1 | -0.1 | -0.1 | -0.1 | -0.1 | -0.1 | -0.1 | -0.1 | ||||||
| вверх | 1.0 | - | - | 1.0 | 1.0 | 0.55 | 0.38 | 0.27 | 0.18 | 0.12 | 0.08 | 0.04 | -0.1 | ||||||||
Характеристики
Тип файла документ
Документы такого типа открываются такими программами, как Microsoft Office Word на компьютерах Windows, Apple Pages на компьютерах Mac, Open Office - бесплатная альтернатива на различных платформах, в том числе Linux. Наиболее простым и современным решением будут Google документы, так как открываются онлайн без скачивания прямо в браузере на любой платформе. Существуют российские качественные аналоги, например от Яндекса.
Будьте внимательны на мобильных устройствах, так как там используются упрощённый функционал даже в официальном приложении от Microsoft, поэтому для просмотра скачивайте PDF-версию. А если нужно редактировать файл, то используйте оригинальный файл.
Файлы такого типа обычно разбиты на страницы, а текст может быть форматированным (жирный, курсив, выбор шрифта, таблицы и т.п.), а также в него можно добавлять изображения. Формат идеально подходит для рефератов, докладов и РПЗ курсовых проектов, которые необходимо распечатать. Кстати перед печатью также сохраняйте файл в PDF, так как принтер может начудить со шрифтами.















