вар 37 (1074212)
Текст из файла
Вариант №37
ПРОЕКТИРОВАНИЕ И ИССЛЕДОВАНИЕ МЕХАНИЗМОВ ПЛУНЖЕРНОГО НАСОСА ПРОСТОГО ДЕЙСТВИЯ
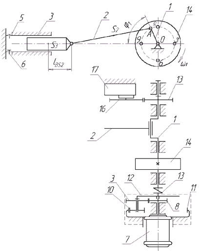
Насос простого действия (рис. 1а) состоит из кривошипно-ползунного механизма 1, 2, 3, ползун 3 которого является плунжером насоса, совершающим возвратно поступательное движение в горизонтальном цилиндре 4 с автоматически действующими клапанами 5, 6.
а)
Рабочий цикл такой установки совершается за один оборот кривошипа 1. При движении плунжера 3 вправо происходит всасывание жидкости в цилиндр при давлении ниже атмосферного pmin и при движении поршня влево - нагнетание жидкости в трубопровод при давлении pmax (смотрите индикаторную диаграмму рис. 1б).
б)
Коленчатый вал 1кривошипно-ползунного механизма приводится во вращательное движение от электродвигателя 7 через планетарный редуктор с колесами 8, 9, 10, 11, водило 12 и муфту 13. Для обеспечения требуемой неравномерности движения коленчатого вала имеется маховик 14.
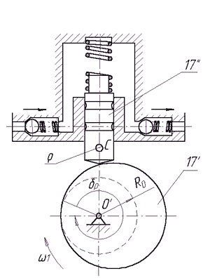
Смазка подвижных соединений механизма установки осуществляется под давлением от масляного насоса 17 кулачкового типа (рис. 1в). Закон движения толкателя в пределах рабочего угла поворота кулачка раб<> (выбрать из стандартных). Вращение кулачка 17 осуществляется от кривошипа 1 через корригированные зубчатые колеса 15 и 16 с неподвижными осями вращения.
в)
Исходные данные
Таблица 1
| № | Наименование параметра | Обозначение | Единица СИ | Численные значения для вариантов | ||||
| А | Б | В | Г | Д | ||||
| 1 | 2 | 3 | 4 | 5 | 6 | 7 | 8 | 9 |
| 1 | Средняя скорость поршня 3 насоса | Vср | м/с | 0,635 | 0,575 | 0,40 | 0,693 | 0,655 |
| 2 | Число оборотов коленчатого вала 1 | n1 | с-1 | 1,67 | 1,37 | 0,84 | 2,17 | 2,0 |
| 3 | Отношение длины шатуна к длине кривошипа 1 | lAB/lOA |
| 4,8 | 5,36 | 4,70 | 4,86 | 4,36 |
| 4 | Положение центра тяжести шатуна 2 | lAS2/lAB |
| 0,25 | 0,275 | 0,30 | 0,24 | 0,275 |
| 5 | Диаметр цилиндра 4 | d | м | 0,12 | 0,135 | 0,16 | 0,10 | 0,099 |
| 6 | Давление плунжера 3 | Pmax | МПа | 15 | 10 | 8,5 | 22 | 25 |
| Pmax | МПа | 0,5 | 0,4 | 0,5 | 0,4 | 0,5 | ||
| 7 | Вес шатуна 2 | G2 | Н | 94 | 110 | 140 | 80 | 60 |
| 8 | Вес поршня (плунжера 3) | G3 | Н | 220 | 240 | 280 | 200 | 180 |
| 9 | Положение центра тяжести звена 3 | lBS3 | м | 0,20 | 0,212 | 0,25 | 0,17 | 0,16 |
| 10 | Момент инерции шатуна | JS2 | кг· м2 | 0,18 | 0,20 | 0,32 | 0,16 | 0,14 |
| 11 | Коэффициент неравномерности вращения вала 1 | |
| 1/21 | 1/20 | 1/19 | 1/25 | 1/22 |
| 12 | Момент инерции коленчатого вала (без маховика) | J'O1 | кг· м2 | 0,030 | 0,034 | 0,038 | 0,030 | 0,032 |
| 13 | Маховой момент ротора электродвигателя 7 | GD2 | Н· м | 0,38 | 0,46 | 0,58 | 0,39 | 0,42 |
| 14 | Маховой момент муфты 13 | (GD2)1 | Н· м | 0,08 | 0,09 | 0,12 | 0,07 | 0,06 |
| 15 | Момент инерции редуктора, приведенный к вала 1 | Jпрред | кг· м2 | 0,22 | 0,24 | 0,25 | 0,18 | 0,20 |
| 16 | Угловая координата кривошипа для силового расчета | 1 | град | 330 | 240 | 270 | 300 | 210 |
| 17 | Рабочий угол поворота кулачка | раб | град | 240 | 260 | 280 | 260 | 240 |
| 18 | Число зубьев колес 3 | z15 |
| 11 | 11 | 9 | 14 | 10 |
| z16 |
| 17 | 13 | 12 | 27 | 19 | ||
| 19 | Угол наклона зубьев для колес 15-16 | | град | 0 | 25 | 30 | 0 | 25 |
| 20 | Модуль зубчатых колес 15-16 | m | мм | 4,5 | 5,0 | 5,0 | 4,0 | 4,0 |
| 21 | Число сателлитов в планетарном редукторе | K |
| 3 | 3 | 3 | 3 | 3 |
| 22 | Передаточное отношение планетарного редуктора | u8-12 |
| 8,9 | 12,0 | 14,6 | 11,3 | 9,4 |
| 23 | Ход плунжера 17" маслянного насоса 17 | h | м | 0,014 | 0,012 | 0,016 | 0,010 | 0,016 |
| 24 | Угол давления в кулачковом механизме 17 | доп | град | 18 | 26 | 26 | 28 | 24 |
| 25 | Угол рабочего профиля кулачка | p | град | 360 | 300 | 360 | 330 | 330 |
| 26 | Радиус скругления плунжера по отношению к r0 | /r0 |
| 0,25 | 0,20 | 0,25 | 0,20 | 0,21 |
Характеристики
Тип файла документ
Документы такого типа открываются такими программами, как Microsoft Office Word на компьютерах Windows, Apple Pages на компьютерах Mac, Open Office - бесплатная альтернатива на различных платформах, в том числе Linux. Наиболее простым и современным решением будут Google документы, так как открываются онлайн без скачивания прямо в браузере на любой платформе. Существуют российские качественные аналоги, например от Яндекса.
Будьте внимательны на мобильных устройствах, так как там используются упрощённый функционал даже в официальном приложении от Microsoft, поэтому для просмотра скачивайте PDF-версию. А если нужно редактировать файл, то используйте оригинальный файл.
Файлы такого типа обычно разбиты на страницы, а текст может быть форматированным (жирный, курсив, выбор шрифта, таблицы и т.п.), а также в него можно добавлять изображения. Формат идеально подходит для рефератов, докладов и РПЗ курсовых проектов, которые необходимо распечатать. Кстати перед печатью также сохраняйте файл в PDF, так как принтер может начудить со шрифтами.















