вар 19 (1074192)
Текст из файла
3АДАНИЕ № 19.
ПРОЕКТИРОВАНИЕ И ИССЛЕДОВАНИЕ МЕХАНИЗМОВ ДВИЖЕНИЯ АВТОМОБИЛЯ
Краткое описание работы механизмов автомобиля
Двухосный грузовой автомобиль средней грузоподъемности приводится в движение двигателем внутреннего сгорания мощностью в 60-70 л. с. и может развивать скорость до 120 км/ч.
Колесный ход автомобиля (рис. 19-1) состоит из силовой установки (двигатель с маховиком) и трансмиссии, включающей муфту сцепления, коробку передач 2, карданным вал 3 с дифференциалом и ведущие колеса 4.
Рис. 19-1. Общий вид установки
Двигатель установки четырехтактный, четырехцилиндровый с вертикальным рядным расположением цилиндров и водяным охлаждением.
Различают два режима работы двигателя: 1) при холостом холе, когда муфта сцепления выключена, и 2) при движении автомобиля (номинальный режим), когда муфта сцепления соединяет коленчатый вал с остальными механизмами автомобиля. Рабочий цикл в каждом цилиндре двигателя совершается за два оборота коленчатого вала и характеризуется индикаторной диаграммой, показывающей изменение давления газов и каждом цилиндре двигателя (рис. 19—2). Сплошной линией очерчена индикаторная диаграмма номинального режима, пунктирной — индикаторная диаграмма холостого хода.
Данные для построения индикаторных диаграмм приведены в табл. 19—2.
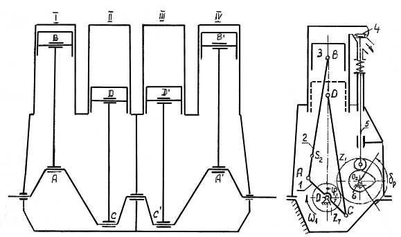
Основной механизм двигателя состоит из четырех одинаковых кривошипно-ползунных механизмов /, 2, 3, расположенных в параллельных плоскостях /, //, ///, IV. кривошипы которых размещены на одном коленчатом валу со сдвигом в 180° (рис. 19—3).
Порядок работы механизмов и чередование процессов в цилиндрах двигателя следующие:
| Угол поворота коленчатого вала | I механизм | II механизм | III механизм | IV механизм |
| 0°-180° | Расширение | Сжатие | Выпуск | Всасывание |
| 180°-360° | Выпуск | Расширение | Всасывание | Сжатие |
| 360°-540° | Всасывание | Выпуск | Сжатие | Расширение |
| 540°-720° | Сжатие | Всасывание | Расширение | Выпуск |
Рис.19-2. Индикаторная диаграмма двигателя.
Управление газораспределением осуществляется клапанами 4, которые приводятся в движение кулачковыми механизмами (рис. 19—3). Кулачки 6 закреплены на валу О8, который кинематически связан с коленчатым валом через зубчатую передачу z8, z7.Толкатель 5 двигается поступательно, и ускорение его изменяется по закону, представленному на рис. 19—4. Работа клапанов строго увязана по фазам с вращением коленчатого вала, угловая скорость которого и два раза больше угловой скорости кулачкового вала.
Вентилятор охлаждающего устройства приводится в движение от коленчатого вала двигателя через зубчатый механизм (рис. 19—5), состоящий из передачи z1, z2 с неподвижными осями и планетарного редуктора z3 , z4 , z5.
При проектировании и исследовании механизмов автомобиля считать известными параметры, приведенные в табл.19—1.
Рис. 19-3. Схема механизмов двигателя и кулачкового привода клапанов.
Механизм газораспределения состоит из четырех кулач-ков 8 (рис. 16—1), закрепленных на распределительном валу 7, и толкателей 9, воздействующпх на впускные (или выпускные) клапаны 12. Кулачковый механизм должен обеспечить заданный закон движения толкателя (рис. 16—3).
Вращение распределительному валу 7 передается от коленчатого вала 1 парой зубчатых колес 10 и 11 (с косым зубом), передаточное отношение которой i10-11= 10/11=2.
Изменение скоростей движения мотоцикла производиться с помощью коробки передач. Схема планетарного редуктора коробки передач приведена на рис. 16-4.
При проектировании и исследовании механизмов мотоцикла считать известными параметры, приведенные в табл. 16—1.
Объем и содержание курсового проекта
Лист 1. Проектирование основного механизма двигателя и определение закона его движения.
-
Определение основных размеров звеньев механизма по заданным условиям (средняя скорость поршня; число оборотов коленчатого вала при номинальной нагрузке двигателя; отношение длины шатуна к длине кривошипа).
-
Определение необходимого момента инерции маховых масс, обеспечивающих вращение коленчатого вала с заданным коэффициентом неравномерности при установившемся режиме работы на холостом ходу. Определение момента инерции дополнительной маховой массы (маховика), установленной на коленчатом валу.
-
Построение диаграммы изменения угловой скорости коленчатого вала двигателя за время одного цикла установившегося режима работы па холостом ходу.
Основные результаты расчета привести в табл. 1—1 (Приложение I).
Рис. 19—4. Закон изменения толкателя кулачкового механизма
Примечание.
-
При построении диаграммы силы давления газов, действующей на поршень, силой при всасывании и выхлопе пренебречь.
-
Веса звеньев механизма и их моменты инерции даны ориентировочно.
-
Центры тяжести поршней лежатсоответственно в точках B и D.
Лист 2. Силовой расчет основного механизма двигателя при номинальном режиме с учетом динамических нагрузок.
-
Определение углового ускорения звена приведения по уравнению движения в дифференциальной форме в положении механизма, соответствующем заданному углу 1. Определение линейных ускорений центров тяжести и угловых ускорений звеньев.
-
Построение картины силового нагружения механизма.
-
Определение сил в кинематических парах механизма.
-
Оценка точности расчетов, выполненных на 1 и 2 листах проекта, по уравнению моментов или уравнению сил для ведомого звена механизма.
Основные результаты расчета привести в табл. 1—2 (Приложение I).
Примечание.
1. Для определения углового ускорения коленчатого вала при номинальном режиме:
а) угловая скорость вала принимается равной w1ном; б) суммарный приведенный момент на коленчатом валу двигателя определяется по формуле
Мпр= Мпрд + Мпрс
Где Мпрд – сумма приведенных моментов движущих сил, действующих на поршни при нормальной нагрузке двигателя;
Мпрс – приведенный момент сопротивления, определяемый по формуле
Мпрс = Мс = 716,2 * (Ni/n1ном) = 716,2* (Ne ном/*n1ном);
в) суммарный приведенный момент инерции механизма Iпр определяется по формуле
Iпр = I10 + Iпр2-3 + Iпр0
Здесь Iпр0 – приведенный момент инерции вращающихся деталей привода автомобиля, а I10 + Iпр2-3 берется из расчетов к листу 1.
2. При определении главного момента сил инерции коленчатого вала учесть приведенный момент инерции привода Iпр0.
Mф s1 = (Iпр0+ I10)*1.
Рис. 19—5. Схема планетарного механизма
Лист 3. Проектирование кулачкового механизма привода впускного клапана.
-
Определение числа оборотов кулачкового вала при номинальной нагрузке двигателя.
-
Построение кинематических диаграмм движения толкателя (ускорения, скорости и перемещения) с учетом заданного характера изменения ускорения толкателя (рис. 19-4).
-
Определение основных размеров кулачкового механизма наименьших габаритов с учетом максимально допустимого угла давления .
-
Построение профиля кулачка (центрового и конструктивного) .
-
Построение диаграммы изменения угла давления в функции угла поворота кулачка.
Основные результаты расчета привести в табл. 1—3 (Приложение I).
Лист 4. Проектирование зубчатой передачи и планетарного редуктора.
-
Выполнение геометрического расчета эвольвентной зубчатой передачи z1, z2 (рис. 16—1).
-
Построение схемы станочного зацепления при нарезании колеса с меньшим числом зубьев и профилирование зуба (включая галтель) методом огибания.
-
Вычерчивание схемы зацепления колес с указанием основных размеров и элементов колес и передачи.
-
Проектирование планетарного редуктора (подбор чисел зубьев) по заданному передаточному отношению редуктора и числу сателлитов. (Приложение III, рис. III—6). Допустимое отклонение iред±5%. Колеса планетарного редуктора нулевые. Модуль колес принять равным единице.
-
Определение передаточного отношения, линейных скоростей и чисел оборотов звеньев спроектированного редуктора графическим способом.
Основные результаты расчета привести в таблице 1-4 (приложение 1).
Исходные данные. Таблица 19-1.
| № | Наименование параметра | Обозначение | Единица СИ | Числовые значения для вариантов | |||||
| А | Б | В | Г | Д | Е | ||||
| 1 | Средняя скорость поршня при номинальной нагрузке | vср | м/с | 8,64 | 7,20 | 7,56 | 8,80 | 9,53 | 10,45 |
| 2 | Отношение длины шатуна к длине кривошипа | lAB/lOA; lCD/lOC | - | 3,56 | 3,63 | 3,63 | 4,00 | 4,00 | 4,00 |
| 3 | Отношение расстояния от точки А до центра тяжести шатуна к длине шатуна | lAS2/lAB | - | 0,260 | 0,276 | 0,271 | 0,282 | 0,268 | 0,282 |
| 4 | Даиметр цилиндров | d | м | 0,098 | 0,098 | 0,082 | 0,099 | 0,080 | 0,082 |
| 5 | Вес шатуна | G2 | Н | 8,0 | 11,0 | 10,0 | 12,0 | 9,0 | 7,7 |
| 6 | Вес поршня | G3 | Н | 7,5 | 9,2 | 8,0 | 10,5 | 8,2 | 7,0 |
| 7 | Момент инерции коленчатого вала (без маховика) | I’10 | кг·м2 | 0,036 | 0,038 | 0,028 | 0,037 | 0,028 | 0,029 |
| 8 | Момент инерции шатуна относительно оси S2, проходящей через его центр тяжести | I2S | кг·м2 | 0,0082 | 0,010 | 0,0105 | 0,013 | 0,0092 | 0,0075 |
| 9 | Максимальное давление в цилиндре двигателя при номинальной нагрузке | (pmax)ном | MПа | 5,9841 | 6,2588 | 6,1803 | 5,6702 | 5,9841 | 5,1601 |
| 10 | Эффективная мощность двигателя при номинальной нагрузке | e ном | кВТ | 44,1 | 36,75 | 28,665 | 44,1 | 31,605 | 35,28 |
| 11 | Механический КПД двигателя | | - | 0,820 | 0,805 | 0,826 | 0,815 | 0,804 | 0.82 |
| 12 | Приведенныей к валу двигателя момент инерции твращающихся деталей привода автомобиля | Iпр0 | кг·м2 | 6,0 | 4,8 | 4,4 | 6,8 | 5,2 | 4,4 |
| 13 | Число оборотов коленчатого вала при холостом ходе | n1хх | c-1 | 16,70 | 15,949 | 14,195 | 15,03 | 18,37 | 20,04 |
| 14 | Число оборотов коленчатого вала при номинальной нагрузке | n1ном | c-1 | 40,08 | 33,40 | 35,07 | 36,04 | 43,42 | 46,76 |
| 15 | Коэффициент неравномерности вращения коленчатого вала при холостом ходе двигателя | хх | - | 1/20 | 1/21 | 1/25 | 1/22 | 1/29 | 1/50 |
| 16 | Угловая координата кривошипа для силового расчета | 1 | град | 30 | 60 | 405 | 210 | 270 | 390 |
| 17 | Ход толкателя кулачкового механизма. | h | м | 0,010 | 0,009 | 0,0075 | 0,0085 | 0,0080 | 0,007 |
| 18 | Максимально допустимый угол давления в кулачковом механизме | | град | 30 | 28 | 28 | 29 | 30 | 30 |
| 19 | Отношение величин ускорений толкателя | a1/a2 | - | 3,05 | 2,95 | 3,2 | 3,1 | 3,0 | 3,05 |
| 20 | Передаточное отношение колес 1 и 2 | i12 | - | 1,5 | 1,57 | 1,92 | 1,53 | 1,50 | 2,0 |
| 21 | Модуль зубчатых колес 1 и 2 | m1-2 | мм | 3,5 | 3,5 | 4,0 | 3,5 | 4,0 | 3,0 |
| 22 | Число зубьев колеса 1 | z1 | - | 14 | 16 | 13 | 15 | 16 | 14 |
| 23 | Угол наклона зубьев для колес 1 и 2 | | град | 25 | 30 | 23 | 30 | 25 | 25 |
| 24 | Рабочий угол профиля кулачка | раб | град | 110 | 112 | 108 | 110 | 116 | 120 |
| 25 | Радиус ролика | Rр | мм | 0,010 | 0,010 | 0,008 | 0,010 | 0,010 | 0,009 |
| 26 | Число оборотов вала вентилятора | nв | c-1 | 7,047 | 747,15 | 7,014 | 7,081 | 6,68 | 6,68 |
| 27 | Число сателлитов в планетарном редукторе | K | - | 3 | 4 | 3 | 4 | 3 | 4 |
| 28 | Параметры исходного контура реечного инструмента | | град | 20 | 20 | 20 | 20 | 20 | 20 |
| h*a | - | 1 | 0,8 | 1 | 1 | 0,8 | 1 | ||
| c* | - | 0,25 | 0,3 | 0,25 | 0,25 | 0,3 | 0,25 | ||
Значения давления в цилиндре компрессора в долях максимального давления Pmax в зависимости от положения поршня. Таблица 19-2.
|
| Путь поршня (в долях хода Н) | SB/Р | 0 | 0.025 | 0.05 | 0.1 | 0.2 | 0.3 |
| Номинальный режим | Расширение | p/(pmax)ном | +0.691 | 1,0 |
| +0.590 | 0.328 | 0.214 |
| Выпуск |
|
| +0.013 |
|
|
| ||
| Всасывание |
|
| -0.013 |
|
|
| ||
| Сжатие | +0.626 | - | +0.360 | +0.260 | +0.130 | +0.061 | ||
| Холостой ход | Расширение | p/(pmax)хх | +0.630 | +0.692 | +0,560 | +0.475 | +0.202 | +0.147 |
| Выпуск |
|
|
| +0.012 |
|
| ||
| Всасывание |
|
|
| -0.013 |
|
| ||
| Сжатие | +0.630 | +0.424 | +0.390 | +0.268 | +0.120 | +0.060 |
|
| Путь поршня (в долях хода Н) | SB/Р | 0,4 | 0,5 | 0,6 | 0,7 | 0,8 | 0,9 | 1,0 |
| Номинальный режим | Расширение | p/(pmax)ном | +0.148 | +0.100 | +0.079 | +0.069 | 0.062 | 0.043 | -0.040 |
| Выпуск |
|
|
|
|
|
|
| ||
| Всасывание |
|
|
|
|
|
|
| ||
| Сжатие | +0.024 | +0.013 | +0.009 | -0.002 | -0.008 | +0.010 | -0.013 | ||
| Холостой ход | Расширение | p/(pmax)хх | +0.086 | +0.056 | +0.050 | +0.039 | +0.035 | +0.030 | +0.027 |
| Выпуск |
|
|
|
|
|
| -0.02 | ||
| Всасывание |
|
|
|
|
|
| +0.03 | ||
| Сжатие | +0.024 | +0.011 | +0.008 | -0.002 | -0.008 | -0.010 | -0.013 |
Характеристики
Тип файла документ
Документы такого типа открываются такими программами, как Microsoft Office Word на компьютерах Windows, Apple Pages на компьютерах Mac, Open Office - бесплатная альтернатива на различных платформах, в том числе Linux. Наиболее простым и современным решением будут Google документы, так как открываются онлайн без скачивания прямо в браузере на любой платформе. Существуют российские качественные аналоги, например от Яндекса.
Будьте внимательны на мобильных устройствах, так как там используются упрощённый функционал даже в официальном приложении от Microsoft, поэтому для просмотра скачивайте PDF-версию. А если нужно редактировать файл, то используйте оригинальный файл.
Файлы такого типа обычно разбиты на страницы, а текст может быть форматированным (жирный, курсив, выбор шрифта, таблицы и т.п.), а также в него можно добавлять изображения. Формат идеально подходит для рефератов, докладов и РПЗ курсовых проектов, которые необходимо распечатать. Кстати перед печатью также сохраняйте файл в PDF, так как принтер может начудить со шрифтами.















