вар 17 (1074186)
Текст из файла
Задание № 17.
ПРОЕКТИРОВАНИЕ И ИССЛЕДОВАНИЕ МЕХАНИЗМОВ МОТОСАНЕЙ
Краткое описание работы механизмов мотосаней
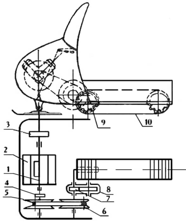
Двухцилиндровый двигатель мотосаней («снежного мотоцикла») — четырехтактный, карбюраторный, V-образный. Схема механизмов мотосаней представлена на рис. 17.1. Коленчатый вал 1 двигателя 2 с маховиком Расположен перпендикулярно продольной оси мотосаней. Между коленчатым валом и валом шкива 5 расположена муфта сцепления 4. При включенной муфте сцепления коленчатый вал двигателя соединен с остальными механизмами мотосаней или полностью отключен от них при выключенной муфте. В мотосанях коробка передач и дифференциал отсутствуют, Их функцию выполняет автоматическая клиноременная передача со шкивами 5 и 6 переменного диаметра, обеспечивающая изменение передаточного числа в зависимости от скорости движения мотосаней и нагрузки. Вал шкива б через пару косозубых колес 7 и 8 связан с валом ведущей звездочки 9 гусеницы 10. Схема двигателя представлена на рис. 17.2. Основной механизм двигателя состоит из двух кривошипно-ползунных механизмов, имеющих общий кривошип ОА коленчатого вала 1, шатуны 2 и 4 и поршни (ползуны) 3 и 5. Угол между осями цилиндров равен 90°.
Рис. 17.1. Схема расположения механизмов мотосаней
При таком устройстве рабочие такты в левом и правом цилиндрах сдвинуты друг относительно друга на 450°. Рабочий цикл в каждом цилиндре двигателя совершается за два оборота коленчатого вала. Чередование процессов, протекающих в обоих цилиндрах, происходит в следующем порядке:
Различают два режима работы двигателя: при холостом ходе, когда муфта сцепления выключена и коленчатый вал двигателя отключен от остальных механизмов мотосаней и при номинальной нагрузке (во время движения мотосаней), когда муфта сцепления включена и соединяет коленчатый вал с валом шкива 5 (рис. 17.1) и со всеми остальными механизмами. Индикаторные диаграммы для левого и правого цилиндров при номинальной нагрузке и холостом ходе представлены на рис. 17.За и 17.3б. Данные для построения индикаторных диаграмм приведены в таблице 17.2.
Механизм газораспределения состоит из четырех кулачков 6 (рис. 17.2), закрепленных на распределительном валу 7, и толкателей 8, воздействующих на впускные (или выпускные) клапаны 9. Кулачковый механизм должен обеспечить заданный закон движения толкателя (рис. 17.4). Вращение распределительному валу передается от коленчатого вала 1 парой зубчатых колес 10 и 11, передаточное отношение которой i10-11= 10/11=2.
При проектировании и исследовании механизмов мотосаней считать известными параметры, приведенные в таблице 17.1.
Объем и содержание курсового проекта
Лист 1. Проектирование основного механизма двигателя и определение закона его движения
-
Определение основных размеров звеньев механизма по заданным условиям (средняя скорость поршня; число оборотов коленчатого вала при номинальной нагрузке двигателя; отношение длины шатуна к длине кривошипа).
-
Построение графика изменения угловой скорости коленчатого вала двигателя за время одного цикла установившегося режима работы на холостом ходу.
-
Определение необходимого момента инерции маховой массы (маховика), обеспечивающей вращение коленчатого вала с заданным коэффициентом неравномерности при установившемся режиме работы вала на холостом ходу.
Рис. 17—2. Схема механизмов двигателя.
Рис. 17—3. Индикаторные диаграммы компрессора: а) при номинальной нагрузке; б) при холостом ходу.
Лист 2. Силовой расчет основного механизма двигателя при номинальном режиме с учетом динамических нагрузок.
-
Определение углового ускорения звена приведения по уравнению движения в дифференциальной форме в положении механизма, соответствующем заданному углу Определение линейных ускорений центров тяжести и угловых ускорений звеньев.
-
Построение картины силового нагружения механизма.
-
Определение сил в кинематических парах механизма.
-
Оценка точности расчетов, выполненных на 1 и 2 листах проекта, по уравнению моментов или уравнению сил для ведомого звена механизма.
Основные результаты расчета привести в табл. 1—1 (Приложение I).
Примечание.
1. Для определения углового ускорения коленчатого вала при номинальном режиме:
а) угловая скорость вала принимается равной 1ном; б) суммарный приведенный момент на коленчатом валу двигателя определяется по формуле
Мпр= Мпрд + Мпрс
Где Мпрд – сумма приведенных моментов движущих сил, действующих на поршни при нормальной нагрузке двигателя;
Мпрс – приведенный момент сопротивления, определяемый по формуле
Мпрс = Мс = 716,2 * (Ni/n1ном) = 716,2* (Ne ном/*n1ном);
в) суммарный приведенный момент инерции механизма Iпр определяется по формуле
Iпр = I10 + Iпр2-3+ Iпр4-5+Iпр0
Здесь Iпр0 – приведенный момент инерции вращающихся деталей привода от коленчатого вала к гусенице (включая и гусеницу), а I10 + Iпр2-3+ Iпр4-5 берется из расчетов к листу 1.
2. При определении главного момента сил инерции коленчатого вала учесть приведенный момент инерции привода Iпр0.
Mф s1 = (Iпр0+ I10)*1.
Рис. 17—4. Закон изменения ускорения толкателя кулачкового механизма
Лист 3. Проектирование кулачкового механизма привода впускного клапана.
-
Определение числа оборотов кулачкового вала при номинальной нагрузке двигателя.
-
Построение кинематических диаграмм движения толкателя (ускорения, скорости и перемещения) с учетом заданного характера изменения ускорений толкателя (рис. 17-4).
-
Определение основных размеров кулачкового механизма наименьших габаритов с учетом максимально допустимого угла давления
-
Построение профиля кулачка (центрового и конструктивного) .
-
Построение диаграммы изменения угла давления в функции угла поворота кулачка.Основные результаты расчета привести в табл. 1—5 (Приложение I).
Лист 4. Проектирование зубчатой передачи и планетарного редуктора.
-
Выполнение геометрического расчета эвольвентной зубчатой передачи z7, z8 (рис. 17—1).
-
Построение схемы станочного зацепления при нарезании колеса с меньшим числом зубьев и профилирование зуба (включая галтель) методом огибания.
-
Вычерчивание схемы зацепления колес с указанием основных размеров и элементов колес и передачи.
-
Проектирование планетарного редуктора (подбор чисел зубьев) по заданному передаточному отношению редуктора и числу сателлитов. (Приложение III, рис. III—6). Допустимое отклонение iред±5%.
-
Определение передаточного отношения, линейных скоростей и чисел оборотов звеньев спроектированного редуктора графическим методом.
Основные результаты расчета привести в таблице 1-4 (приложение 1).
. Таблица 17-1.
Исходные данные
| № | Наименование параметра | Обозначение | Единица СИ | Числовые значения для вариантов | ||||
| А | Б | В | Г | Д | ||||
| 1 | Средняя скорость поршня | (vB)ср; (vC)ср | м/с | 7,25 | 7,35 | 7,20 | 7,65 | 7,15 |
| 2 | Отношение длины шатуна к длине кривошипа | lAB/lOA | - | 4,23 | 4,32 | 4,10 | 4,25 | 4,36 |
| 3 | Отношение расстояния от точки А до центра тяжести шатуна к длине шатуна | lAS2/lAB; lАС4/lAC | - | 0,30 | 0,25 | 0,28 | 0,30 | 0,24 |
| 4 | Даиметр цилиндра | d | м | 0,066 | 0,060 | 0,073 | 0,070 | 0,062 |
| 5 | Число оборотов коленчатого вала при номинальной нагрузке | n1ном | с-1 | 66,8 | 70,14 | 63,46 | 68,47 | 71,81 |
| 6 | Число оборотов коленчатого вала при холостом ходе | n1хх | с-1 | 10,02 | 10,86 | 9,19 | 11,78 | 11,19 |
| 7 | Максимальное давление в цилиндре двигателя при номинальной нагрузке | (pmax)ном | MПа | 2,413 | 2,747 | 2,649 | 2,296 | 2,590 |
| 8 | Максимальное давление в цилиндре двигателя при холостом ходе | (pmax)хх | MПа | 0,903 | 1,020 | 0.981 | 0,854 | 0,961 |
| 9 | Вес шатуна | G2, G4 | Н | 3,8 | 3,6 | 4,1 | 4,3 | 3,3 |
| 10 | Вес поршня | G3, G5 | Н | 2,3 | 2,2 | 2,5 | 2,6 | 2,0 |
| 11 | Момент инерции маховика относительно оси, проходящей через его центр тяжести | I10 | кг·м2 | 0,0012 | 0,0011 | 0,0013 | 0,0014 | 0,0009 |
| 12 | Момент инерции коленчатого вала (без маховика) | I’10 | кг·м2 | 0,006 | 0,005 | 0,008 | 0,007 | 0,004 |
| 13 | Коэффициент неравномерности вращения коленчатого вала при холостом ходе двигателя | хх | - | 1/20 | 1/23 | 1/18 | 1/24 | 1/22 |
| 14 | Эффективная мощность двигателя при номинальной нагрузке | e ном | кВт | 7,35 | 6,25 | 9,19 | 8,09 | 6,62 |
| 15 | Угловая координата кривошипа для силового расчета (рис. 17-2) | 1 | град | 30 | 30 | 30 | 30 | 30 |
| 16 | Механический КПД двигателя | | - | 0,85 | 0,76 | 0,81 | 0,84 | 0,82 |
| 17 | Приведенные к коленчатому валу момент инерции деталей привода и гусеницы (для силового расчета) | Iпр0 | кг·м2 | 0,21 | 0,22 | 0,27 | 0,28 | 0,20 |
| 18 | Максимально допустимый угол давления в кулачковом механизме | | град | 28 | 30 | 27 | 29 | 26 |
| 19 | Ход толкателя кулачкового механизма. | h | м | 0,008 | 0,007 | 0,009 | 0,008 | 0,010 |
| 20 | Угол рабочего профиля кулачка выпускного клапана | раб | град | 120 | 115 | 117 | 125 | 122 |
| 21 | Число зубьев колес 7 и 8 (рис. 17-1) | Z7 | - | 12 | 10 | 9 | 11 | 13 |
| Z8 | - | 24 | 20 | 18 | 22 | 26 | ||
| 22 | Модуль зубчатых колес 7 и 8 | m | мм | 12 | 8 | 12 | 8 | 6 |
| 23 | Угол наклона зубьев для колес 7 и 8 | | град | 10 | 15 | 20 | 15 | 10 |
| 24 | Параметры исходного контура реечного инструмента | | град | 20 | 20 | 20 | 20 | 20 |
| h*и | - | 1 | 1 | 1 | 1 | 1 | ||
| c* | - | 0,25 | 0,25 | 0,25 | 0,25 | 0,25 | ||
Характеристики
Тип файла документ
Документы такого типа открываются такими программами, как Microsoft Office Word на компьютерах Windows, Apple Pages на компьютерах Mac, Open Office - бесплатная альтернатива на различных платформах, в том числе Linux. Наиболее простым и современным решением будут Google документы, так как открываются онлайн без скачивания прямо в браузере на любой платформе. Существуют российские качественные аналоги, например от Яндекса.
Будьте внимательны на мобильных устройствах, так как там используются упрощённый функционал даже в официальном приложении от Microsoft, поэтому для просмотра скачивайте PDF-версию. А если нужно редактировать файл, то используйте оригинальный файл.
Файлы такого типа обычно разбиты на страницы, а текст может быть форматированным (жирный, курсив, выбор шрифта, таблицы и т.п.), а также в него можно добавлять изображения. Формат идеально подходит для рефератов, докладов и РПЗ курсовых проектов, которые необходимо распечатать. Кстати перед печатью также сохраняйте файл в PDF, так как принтер может начудить со шрифтами.















