вар 13 (1074176)
Текст из файла
ЗАДАНИЕ № 13
ПРОЕКТИРОВАНИЕ И ИССЛЕДОВАНИЕ МЕХАНИЗМОВ ДИЗЕЛЬ-ВОЗДУХОДУВНОЙ УСТАНОВКИ
Краткое описание установки
Двигатель дизеля - двухтактный, двухцилиндровый, V-о6разный, отдает всю свою кинетическую энергию через планетарный повышающий редуктор (мультипликатор) центробежной воздуходувке(рис. 13-1).
Рис. 13-1. Общая схема установки.
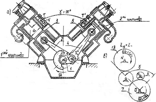
Кривошипно-ползунные механизмы 1, 2, 3 и 1, 4, 5 обоих цилиндров двигателя одинаковые (рис. 13—2); рабочие процессы, протекающие в цилиндрах, также одинаковые. Поршни 1-го и 2-го цилиндров связаны через свои шатуны с коленчатым валом, который вращается по часовой стрелке. Поэтому когда поршень 1-го цилиндра проходит верхнее мертвое положение, поршень 2-го цилиндра не достиг своего верхнего мертвого положения и пройдет его после того, как коленчатый вал повернется на 90°.
Рис. 13-2.
а) Поперечный разрез двигателя.
б) Зубчатая передача между коленчатым валом О, кулачковым валом N и валом M стартера.
Отсюда следует, что кинематическим и рабочий процессы, протекающие во 2-м цилиндре, отстают от процессов, протекающих в 1-м цилиндре, на 90°. Продолжительность цикла работы двухтактного двигателя составляет 360°. Изменение давления газа на поршень в процессе его движения представлено индикаторной диаграммой (рис. 13-3). Данные для построения которой приведены в табл. 13- 2.
Р
ис. 13-3. Индикаторная диаграмма двигателя.
Момент сопротивления воздуходувки и момент собственных потерь двигателя не зависят от угла поворота вала.
Очистка рабочих цилиндров двигателя от продуктов сгорания производится через выхлопные клапаны, которые посредством рычажных механизмов (рис. 13—2) принудительно открываются кулачками по заданному закону (рис. 13—4а). Кулачковый вал, кинематически связанный с коленчатым валом (рис. 13—2б ), должен вращаться в двухтактном двигателе с той же угловой; скоростью, что и коленчатый вал. Выхлопной клапан начинает открываться, когда коленчатый вал не дошел до нижней мертвой точки на угол , и окончательно закрывается, когда коленчатый вал повернулся после нижней мертвой точки на угол (рис. 13-46). Таким образом, работа клапанов строго связана по фазам с вращением коленчатою вала, а следовательно, и с движением поршня.
Р
ис. 13-4. а) Закон изменения ускорения толкателя выхлопного клапана.
б) Циклограмма фаз работы выхлопного клапана (показана для первого цилиндра)
Запуск двигателя производится от электростартера (рис. 13—1, 13—26), раскручивающего коленчатый вал до необходимой угловой скорости через зубчатую передачу, составленную из колес 6 и 7.
При проектировании и исследовании механизмов двигателя считать известными параметры, приведенные в табл. 13—1.
Объем и содержание курсового проекта.
Лист 1. Проектирование основного механизма двигателя и определение его закона движения
-
1. Определение основных размеров звеньев механизма по заданным условиям (средняя скорость поршня; число оборотов коленчатого вала; отношение длины шатуна к длине кривошипа).
-
2. Построение диаграммы изменения угловой скорости коленчатого вала двигателя за время одного цикла установившегося режима и определение коэффициента неравномерности .
Основные результаты расчета привести в табл. 1-1(Приложение I).
Примечание 1. Веса звеньев и их моменты инерции даны ориентировочно.
2. Центры тяжестей поршней S3 и S3 расположены соответственно в точках В и С. Центр тяжести коленчатого вала расположен на его оси вращения.
Лист 2. Силовой расчет основного механизма двигателя с учетом динамических нагрузок
-
1. Определение углового ускорения звена приведения по уравнению движения в дифференциальной форме (на основании исследования, выполненного на листе 1 проекта) в положении механизма, соответствующее заданному углу .Определение линейных ускорений центров тяжести и угловых ускорении звеньев.
-
2. Построение картины силового нагружения механизма.
-
3. Определение сил и кинематических парах механизма.
-
4. Оценка точности расчетов, выполненных на листах 1 и 2 проекта, по уравнению моментов или уравнению сил для ведущего или ведомого звена механизма.
Основные результаты расчета привести в таблице 1-2 (Приложение 1)
Лист 3. Проектирование кулачкового механизма привода выхлопного клапана.
-
1. Построение кинематических диаграмм движения толкателя (ускорения, скорости, перемещения), но заданному закону изменения ускорения толкателя (рис. 13-4а).
-
2. Определение основных размеров кулачкового механизма с центральным толкателем при наименьших габаритах с учетом максимально допустимого угла давления ДОП.
-
3. Построение профиля кулачка (центрового и конструктивного).
-
4. Построение диаграммы угла давления в функции угла поворота кулачка.
Основные результаты расчета привести в табл.1—3 (Приложение 1).
Лист 4. Проектирование стартерной зубчатой передачи и планетарного редуктора
-
1. Выполнение геометрического расчета эвольвентной зубчатой передачи Z6, Z7 (рис. 13—1).
-
2. Построение схемы станочного зацепления при нарезании колеса с меньшим числом зубьев и профилирование зуба (включая галтель) методом огибания.
-
3. Вычерчивание схемы зацепления колес с указанием основных размеров и элементов колес и передачи.
-
4. Проектирование планетарною редуктора (подбор чисел зубьев) по заданному передаточному отношению i8-11 редуктора и числу сателлитов. Допустимое отклонение iред±5%. Колеса планетарною редуктора нулевые; модуль колес рамен 3 мм.
-
5. Определение передаточного отношения, линейных скоростей и чисел оборотов звеньев спроектированного редуктора графическим способом.
Основные результаты расчета привести табл. 1—4 (Приложение I).
Исходные данные Таблица 13-1
|
| Наименование параметра | Обозначение | Единица СИ | Численные значения для вариантов | ||||
| А | Б | В | Г | Д | ||||
| 1 | Средняя скорость поршня | Vср | м/сек | 9,30 | 8,90 | 8,50 | 8,10 | 7,70 |
| 2 | Отношения длинны шатуна к длине кривошипа | lAB /lOA ;lAC /lOA | -- | 4 | 4 | 4 | 4 | 4 |
| 3 | Отношение расстояния от точки А до центра тяжести шатуна к длине шатуна | lAS2 /lAB ; lAS4 /lAC | -- | 0,305 | 0,305 | 0,305 | 0,305 | 0,305 |
| 4 | Диаметр цилиндров | d | м | 0,098 | 0,103 | 0,108 | 0,113 | 0,118 |
| 5 | Число оборотов коленчатого вала | N1 | с-1 | 37 | 35 | 33 | 30 | 30 |
| 6 | Максимальное давление в цилиндре двигателя | Vmax | Па | 65*105 | 65*105 | 65*105 | 65*105 | 65*105 |
| 7 | Вес шатуна | G2 ;G4 | Н | 25 | 27 | 30 | 33 | 36 |
| 8 | Вес поршня | G3 ;G5 | Н | 27 | 29 | 32 | 35 | 38 |
| 9 | Момент инерции шатуна относительно оси, проходящей через его центр тяжести | I2S ; I4S | Кг*м2 | 0,031 | 0,034 | 0,038 | 0,041 | 0,045 |
| 10 | Момент инерции коленчатого вала | I110 | Кг*м2 | 0,081 | 0,090 | 0,099 | 0,109 | 0,118 |
| 11 | Приведенный к коленчатому валу момент инерции планетарного редуктора | Iпрред | Кг*м2 | 0,033 | 0,035 | 0,037 | 0,039 | 0,041 |
| 12 | Момент инерции ротора воздуходувки | IВОЗД | Кг*м2 | 0,253 | 0,196 | 0,156 | 0,133 | 0,118 |
| 13 | Угловая координата кривошипа для силового расчета (угол ВОА, рис. 13-2а) | | Град | 120 | 150 | 30 | 120 | 30 |
| 14 | Ход толкателя кулачкового механизма | h | м | 0,009 | 0,010 | 0,011 | 0,012 | 0,013 |
| 15 | Радиус ролика толкателя | RР | м | 0,010 | 0,011 | 0,012 | 0,013 | 0,014 |
| 16 | Угловая координата начала открытия выхлопного клапана (рис. 13-4б) – начала подъема толкателя | 1 | Град | 95 | 90 | 85 | 80 | 75 |
| 17 | Угловая координата конца закрытия выхлопного клапана (рис. 13-4б) – конца спуска толкателя | 11 | Град | 59 | 57 | 55 | 53 | 51 |
| 18 | Максимально допустимый угол давления | | Град | 24 | 25 | 25 | 27 | 28 |
| 19 | Число зубьев колеса 6 стартера (рис. 13-1) | Z6 | -- | 10 | 10 | 9 | 8 | 8 |
| 20 | Передаточное отношение стартерной передачи | I67 | -- | 2,6 | 2,8 | 3,0 | 3,25 | 3,5 |
| 21 | Модуль зубчатых колес стартерной передачи | m | мм | 2,5 | 3 | 3 | 3 | 3,5 |
| 22 | Передаточное отношение планетарного редуктора | i8-11 | -- | 1/3 | 1/3,5 | 1/4 | 1/4,5 | 1/5 |
| 23 | Число сателлитов в планетарном редукторе | k | -- | 3 | 3 | 3 | 3 | 3 |
| 24 | Параметры исходного контура инструмента | о | Град | 20 | 20 | 20 | 20 | 20 |
| h*a | -- | 0,8 | 1 | 0,8 | 0,8 | 0,8 | ||
| c* | -- | 0,3 | 0,25 | 0,3 | 0,3 | 0,3 | ||
Характеристики
Тип файла документ
Документы такого типа открываются такими программами, как Microsoft Office Word на компьютерах Windows, Apple Pages на компьютерах Mac, Open Office - бесплатная альтернатива на различных платформах, в том числе Linux. Наиболее простым и современным решением будут Google документы, так как открываются онлайн без скачивания прямо в браузере на любой платформе. Существуют российские качественные аналоги, например от Яндекса.
Будьте внимательны на мобильных устройствах, так как там используются упрощённый функционал даже в официальном приложении от Microsoft, поэтому для просмотра скачивайте PDF-версию. А если нужно редактировать файл, то используйте оригинальный файл.
Файлы такого типа обычно разбиты на страницы, а текст может быть форматированным (жирный, курсив, выбор шрифта, таблицы и т.п.), а также в него можно добавлять изображения. Формат идеально подходит для рефератов, докладов и РПЗ курсовых проектов, которые необходимо распечатать. Кстати перед печатью также сохраняйте файл в PDF, так как принтер может начудить со шрифтами.















