рпз (1060800)
Текст из файла
Факультет РЛ
Кафедра РЛ3
Расчетно-пояснительная записка
к курсовой работе на тему:
«Призменный монокуляр»
Студент _______________ (Безменова Е. А.). Группа РЛ3 - 61
Руководитель курсовой работы ___________________ (Бодров С. В.)
2010 г.
ОГЛАВЛЕНИЕ
Введение…………………………………………………………………………………………………………………………………3
1. Обоснование оптической схемы и определение основных оптических характеристик…4
2. Габаритный расчет………………………………………………………………………………………………………..……6
3. Выбор призмы и расчет ее геометрических размеров……………………………………………..……...8
4. Расчет хода лучей через систему тонких компонентов…………………………………………………...12
5. Выбор окуляра………………………………………………………………………………………………….…………...…..14
6. Определение аберраций объектива……………………………………………………………………….………..16
7. Расчет двухлинзового свеленного объектива по методике Слюсарева-Трубко……………………………………………………………………………………………………………………………….……18
8. Оценка качества изображения рассчитанной системы………………………………….……………….26
9. Светоэнергетический расчет оптической системы…………………………………………………………..27
10. Выводы……………………………………………………………………………………….………………………………….…29
11. Литература………………………………………………………………………………………………………………...…….30
ВВЕДЕНИЕ
Призменным монокуляром называется прибор, оптическая система (ОС) которого представляет собой простую зрительную трубу с призмой или системой призм для перевертывания изображения, благодаря чему весь прибор создает прямое изображение.
Разработка оптической системы призменного монокуляра осуществляется в такой последовательности:
1. Обоснование выбора оптической схемы и определение основных характеристик.
2. Габаритный расчет.
3. Выбор или расчет окуляра и призмы и определение аберраций объектива.
4. Расчет объектива.
5. Оценка качества изображения.
Основанием для разработки оптической схемы прибора является техническое задание (ТЗ), которое в явном или неявном виде содержит основные характеристики системы, а также требования по достижению определенного качества изображения.
В данной работе необходимо рассчитать призменный монокуляр со следующими основными характеристиками:
ΓТ =7Х, 2ω=6°, D'=5 мм , L=200 мм.
1. ОБОСНОВАНИЕ ВЫБОРА ОПТИЧЕСКОЙ СХЕМЫ И ОПРЕДЕЛЕНИЕ ОСНОВНЫХ ОПТИЧЕСКИХ ХАРАКТЕРИСТИК
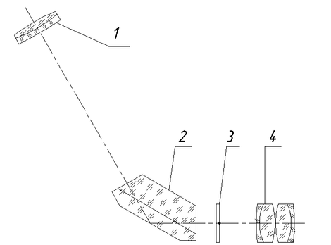
Для наблюдения за удаленным объектом необходима телескопическая система, состоящая как минимум из объектива и окуляра. Для согласования направления на объект и положения зрительной оси оператора необходима отражательная призма. А так как изображение должно быть прямым, призму снабжают крышей. В соответствии с заданием, в оптической системе, расчет которой выполняется в данной работе, используется призма АкР-45º. Таким образом, оптической схемой прибора является схема призменного монокуляра, состоящая из объектива, призмы с крышей и окуляра (см рис.1). В случае, если с использованием данного прибора будут проводиться измерения, зрительную трубу необходимо будет снабдить визирной сеткой, которая наносится на плоскопараллельную пластину, устанавливаемую в совмещенных фокальных плоскостях объектива и окуляра. (Примечание: в данной курсовой работе расчет визирной сетки не производится т. к. толщина плоскопараллельной пластины, на которую она может быть нанесена, мала по сравнению с толщиной призмы).
Рис.1. Оптическая схема прибора
1 – объектив, 2 – призма, 3 – визирная сетка, 4 – окуляр.
Основными оптическими характеристиками телескопической системы, как известно являются видимое увеличение ΓТ, угловое поле 2ω и диаметр выходного зрачка D'. Определим их.
Следует подчеркнуть, что телескопическая система предназначена для работы с глазом наблюдателя. Поэтому при наблюдении зрачок глаза совмещается с выходным зрачком системы и между ними желательно иметь полное соответствие, как по положению, так и по диаметру. Телескопические системы, предназначенные для наблюдения в дневное время, должны иметь выходные зрачки 2…5 мм, а в сумеречное время – 5..7 мм. Так как по заданию необходимо обеспечить комфортные условия наблюдения и в дневное, и в сумеречное время суток, то примем диаметр выходного зрачка системы D'=5 мм.
Диаметр входного зрачка оптической системы можно найти из соотношения
D= ΓТ·D'. Таким образом D=7·5=35 мм.
Итак, необходимо рассчитать оптическую систему призменного монокуляра, имеющего: ΓТ =-7Х, 2ω=6°, D'=5 мм , L=200 мм.
2. ГАБАРИТНЫЙ РАСЧЕТ
Габаритный расчет проводится с целью получения исходных данных для расчета отдельных оптических узлов, последующего аберрационного расчета, а также для детальной разработки механической части всего проектируемого прибора.
Для удобства расчета оптическую схему (рис. 2) монокуляра развернем по горизонтальной оси и заменим призму эквивалентной пластинкой. На рис. 2 показаны осевой и наклонный пучки лучей, рассмотрение хода которых позволяет провести габаритный расчет. Для уменьшения размеров монокуляра, главным образом призмы, и достижения лучшего качества изображения на краю поля из всего наклонного пучка лучей, поступающего во входной зрачок под наибольшим углом 1, через систему пропускают только часть его, симметричную относительно главного луча. Ширина этой части наклонного лучка во входном зрачке измеряется величиной 2m1=K D, где D – диаметр входного зрачка, a K – коэффициент виньетирования, который в нашем случае равен 0,5.
Рис. 2. Ход осевого и внеосевого пучка лучей через оптическую систему
Проведем габаритный расчет прибора.
1. Определение углового поля окуляра
,
,
,
.
2. Определение фокусного расстояния окуляра
мм.
3. Определение фокусного расстояния объектива
,
мм.
4. Определение диаметра входного зрачка монокуляра
,
мм.
Относительное отверстие объектива
.
5. Определение диаметра полевой диафрагмы
Луч 2 (см рис.4) проходит через край полевой диафрагмы, диаметр которой равен
, где
,
.
мм.
3.ВЫБОР ПРИЗМЫ И РАСЧЕТ ЕЕ ГЕОМЕТРИЧЕСКИХ ПАРАМЕТРОВ
Расчет призмы состоит в определении диаметра светового пучка лучей, который она должна пропустить, и места призмы между объективом и окуляром. Все остальные размеры отражательных призм даны в нормалях и справочниках для пучка лучей круглого сечения с наибольшим диаметром D.
В данной курсовой работе призма должна отклонить оптическую ось на 45º. Т.к. изображение должно быть прямое, а используем мы одну призму, а не систему призм, призма должна иметь крышу для полного оборачивания. Т. е. как уже говорилось, мы должны использовать призму АкР - 45º.
Рис. 3. Эскиз призмы АкР - 45º
Основные размеры призмы:
где d – длина хода луча в призме.
Следует помнить, что выгодно устанавливать заднюю грань призмы в передней фокальной плоскости окуляра, но при этом:
а) располагать эту грань слишком близко к фокальной плоскости нельзя, так как все дефекты стекла (пузыри, камни, мелкие царапины и пылинки) будут резко видны в поле окуляра и помешают наблюдению;
б) располагать входную грань призмы близко к объективу также нельзя, потому что, во-первых, двоение изображения после призмы вследствие неправильного изготовления угла крыши пропорционально расстоянию от входной грани до фокальной плоскости и, следовательно, потребуется очень жесткий допуск на изготовление угла крыши; во-вторых, призма будет иметь большие размеры, если она будет находиться в широкой части пучка.
Рис. 4 Определение положения и габаритных размеров призмы
Считают, что наилучшим положением призмы будет такое, при котором расстоянию от призмы до фокальной плоскости в пространстве изображений после окуляра соответствует разность сходимостей в 10-20 дптр. Расстояние
, от фокальной плоскости окуляра до призмы (рис. 4), соответствующее разности сходимостей в диоптрий, можно определить по формуле
.
Рассчитаем
для разности сходимости в 15 дптр:
мм.
Для определения значения D рассмотрим ход лучей после объектива (см. рис. 4). Свободное отверстие на входной грани призмы может определяться ходом луча 1 (D'1), идущего через край входного зрачка параллельно оптической оси, или луча 2 (D''1), идущего под углом ω1, и пересекающего плоскость входного зрачка на высоте m1:
(1),
или
. (2)
Свободное отверстие на выходной грани определяется лучом 2:
. (3)
Углы лучей 1 и 2 с оптической осью после объектива находят по известной формуле углов
.
Тогда
,
,
,
,
мм,
Значение D2 определяем по формуле (3):
мм.
Диаметры D’1 и D’’1 определяем по формулам (1) и (2). В нашем случае
,
,
. Пусть призма будет изготовлена из стекла К8, показатель преломления для основного цвета ne=1,5182. Расстояние s'1=e2=10 мм.
,
мм.
мм.
мм.
Наибольшее значение диаметра D2=16 мм. Добавляем 4 мм на фаски, крепление, юстировку, тогда
мм.
Таким образов, основные размеры призмы:
Определим расстояние е1 от задней главной плоскости объектива до призмы:
,
Характеристики
Тип файла документ
Документы такого типа открываются такими программами, как Microsoft Office Word на компьютерах Windows, Apple Pages на компьютерах Mac, Open Office - бесплатная альтернатива на различных платформах, в том числе Linux. Наиболее простым и современным решением будут Google документы, так как открываются онлайн без скачивания прямо в браузере на любой платформе. Существуют российские качественные аналоги, например от Яндекса.
Будьте внимательны на мобильных устройствах, так как там используются упрощённый функционал даже в официальном приложении от Microsoft, поэтому для просмотра скачивайте PDF-версию. А если нужно редактировать файл, то используйте оригинальный файл.
Файлы такого типа обычно разбиты на страницы, а текст может быть форматированным (жирный, курсив, выбор шрифта, таблицы и т.п.), а также в него можно добавлять изображения. Формат идеально подходит для рефератов, докладов и РПЗ курсовых проектов, которые необходимо распечатать. Кстати перед печатью также сохраняйте файл в PDF, так как принтер может начудить со шрифтами.















