Последовательность компоновки (1054297)
Текст из файла
1. ОПРЕДЕЛЕНИЕ ГАБАРИТОВ ТАНКА
1.1 Определение опорной площади танка
Наибольшее распространение, в нашей стране, для перевозки военных гусеничных машин (ВГМ) получил железнодорожный вид транспорта. В связи с чем, основным ограничением внешнего габарита является ширина ВГМ, при которой возможна её транспортировка по железным дорогам (ГОСТ 9238-83, габарит 02-ВМ (Т)). Данный габарит для танка составляет Вжд = 3450мм
Рис. 1.1. Поперечный разрез танка Т-72БМ
Также, влияние на внешний габарит танка оказывает отношение длины опорной поверхности L к колее танка B (расстояние между серединами гусениц).
Рис. 1.2. Танк Меркава Mk2
Данное отношение с одной стороны, обусловлено снижением устойчивости прямолинейного движения (рысканьем) ВГМ - L/B < 1,5
С другой стороны данное отношение влияет на поворачиваемость ВГМ - L/B > 1,8
Рис. 1.3. Танк Леопард 2А5
Для современных ВГМ существует ограничение по величине среднего удельного давления на грунт, для танков это ограничение:
qср < 80 кПа = 8,16 х 103 кгс/м2.
Т.е. максимальное распределение массы ВГМ на грунт не должно превышать 8,16 т/м2. В определённых случаях данная величина может достигать 10 т/м2, что, однако, нежелательно и ведёт к потере проходимости ВГМ.
Для определения длины опорной поверхности и внешней ширины корпуса танка необходимо, задаться произвольной шириной гусеницы Нгус и найти их, исходя из требуемых величин L/B и qср.
Следует отметить, что ширина гусениц, по возможности, должна быть минимальной, т.к. оказывает влияние на ширину корпуса танка.
1.2 Определение ориентировочных габаритов танка
Во избежание натыкания корпуса ВГМ на препятствия, гусеничный обвод должен выступать за габариты корпуса. Для этого ось направляющего колеса выносят как можно дальше вперёд (в том числе и на танках с передним расположением МТО) (см. рис. 2.2).
Рис. 1.4. Корпус танка Т-54 (обр.1948г.)
Расположение переднего колеса (ленивца или ведущего) влияет на высоту преодолеваемого препятствия. Ориентировочно высота преодолеваемого препятствия равна высоте расположения переднего колеса. Высота преодолеваемого препятствия современных танков составляет 0,8 – 1,0 м.
Рис. 1.5. Носовой узел танка Т-80
Определение ориентировочных габаритов танка осуществляется исходя из общепринятых положений и размеров элементов танка.
Рис.1.6. Обозначение габаритных параметров танка
Общая высота танка определяется по формуле
H0 = hкл + Hk + Hб, где
hкл – высота клиренса танка, мм;
Hk – габаритная высота корпуса, мм;
Hб – габаритная высота башни, мм.
Для обеспечения хорошей проходимости hкл должна быть 450-500 мм, Hk для нормальной посадки водителя требует 1000 - 1100 мм, а высота башни с мощным пушечным вооружением может достигать 800-900мм. угол наклона передней ветви гусеницы принимают равным ≈ 40º, задней - 30º.
Исходя из геометрических характеристик гусеничного обвода и расположения элементов движителя определяется длина корпуса танка.
Ширина корпуса будет равна расстоянию между гусеницами минус зазор между корпусом и гусеницей 60мм.
2. ПРОЕКТИРОВАНИЕ НОСОВОГО УЗЛА КОРПУСА
В носовом узле (отсеке) корпуса необходимо разместить все элементы, в соответствии с заданием на проект. Следует отметить, что высота и угол скоса носового узла влияют на:
- обзорность механика водителя (угол обзора триплекса + 3º);
- угол склонения орудия.
Рис. 2.1. Углы обзора в танке Т-54 (обр.1945г.)
Исходя из этого высоту носового узла следует минимизировать.
Рис. 2.2. Лёгкий танк AMX-13
В случае если в носовом узле устанавливается моторно-трансмиссионное отделение (МТО), ось ведущего колеса, как правило, не соосна с коробкой передач (КПП), и момент на ведущее колесо (ВК) передаётся при помощи бортового редуктора в виде гитары.
Рис. 2.3. Бортовой редуктор танка Меркава
3. РАСЧЁТ БРОНИ НОСОВОГО УЗЛА
Элементы корпуса принятые как ненуждающиеся в противоснарядной защите следует бронировать толщиной
bmin = 40мм.
В случае заднего расположения МТО, расчёт брони носового узла (лобовой брони и бортов корпуса) осуществляется по графику противоснарядной стойкости или по формулам.
В случае носового расположения МТО расчёт брони можно проводить как по графику противоснарядной стойкости, так и принять толщину броневых листов МТО равную bmin.
Точные габариты носового узла могут быть получены при использовании программы LS_09/
4. Расчёт защищающих броневых толщин
Примечание. Расчёт брони производится условно на воздействие оперённого бронебойного подкалиберного снаряда (ОБПС). Воздействие кумулятивного снаряда (КС) не рассматривается
.
Рисунок 4.1 Геометрическая схема встречи
снаряда с броневой плитой
где ОА – нормаль к плоскости детали
ОВ – проекция нормали на горизонтальную плоскость (поднормаль)
ОС – линия вектора скорости подлетающего снаряда Vс
b – угол наклона детали по отношению к вертикали
g – угол подворота детали – угол между поднормалью и продольной осью машины (ОВ и осью x’)
a – угол встречи – угол между нормалью детали и вектором скорости (ОА и ОС)
q – курсовой угол обстрела – угол между вектором скорости и продольной осью машины (ОС и осью х’)
Допущение: вектор скорости снаряда всегда лежит в горизонтальной плоскости (выбор толщин осуществляется в горизонтальной плоскости).
Основным параметром для расчёта защищающих броневых толщин (ЗБТ) является угол a. Для нахождения этого угла выразим отрезок ОС через углы a, b, g и q. Т.к. плоскость, в которой лежит треугольник АВС перпендикулярна вектору скорости (Vс). Получаем следующее равенство
АО·cosα = AO·cos β·cos(q – γ)
cos α = cos β·cos(q – γ)
α = arccos (cos β·cos[q – γ]), где
b, g – геометрические характеристики брони;
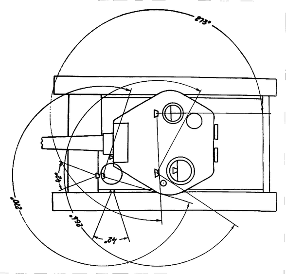
Для нахождения расчётного угла встречи αр необходимо определить наиболее опасные курсовые углы обстрела – расчётные курсовые углы обстрела (qр). Для этого в пределах заданных углов безопасного маневрирования (qбм) определяются наиболее опасные условия обстрела.
Для основных танков и машин переднего края углы безопасного маневрирования для наиболее поражаемых частей корпуса qбмк=±15¸20° и башни qбмб=±25¸35°;
если g < qбм то qр = g
если g > qбм то qр = qбм
Определив qр определяем aр
αр = arccos(cos β·cos[qр – γ])
Рисунок 4.2 Схема проникания ОБПС в броневую плиту
где L – глубина проникания снаряда в полубесконечную преграду (глубина каверны)
d – добавка вызванная явлением подпора (откола тыльной части в виде пробки)
hп – величина подпора для ОБПС, hп = 35 ¸ 40 мм
δ = hп / cos αр
Заметьте, что при увеличении αр увеличивается величина подпора (d). Поэтому увеличение угла наклона требует увеличения толщины броневой плиты (bx).
Из рисунка видно, что толщина брони обеспечивающая непробитие будет равна
bx = LD + δ
где LD – глубина пробития получаемая при стрельбе с заданной дистанции.
Заданная величина ожидаемого бронепробития является ни чем иным как математическим ожиданием глубины бронепробития. Следовательно реальная величина глубины бронепробития будет лежать в некотором диапазоне. Для обеспечения вероятности непробития в 95% этот диапазон будет равен 2sL , в 99% – 3sL .
Как правило, основные характеристики ОБПС приведены для дистанции стрельбы D=2000м. Таким образом максимально возможная глубина бронепробития на данной дистанции будет равна:
L2000 = mL2000 + (2¸3)sL
где mL – математическое ожидание бронепробиваемости ПТС противника (см. ТТТ).
sL – среднеквадратическое отклонение от математического ожидания глубины бронепробития, для современных боеприпасов 5% от mL
Однако реальной дальностью танкового дуэльного боя является 1200-1400 м. Тогда, глубина пробития на интересующей дальности будет определяться следующим выражением
LD = L2000 + dL ,
где dL – приращение обусловленное дальностью стрельбы. Глубина пробития увеличивается при стрельбе с дистанции менее 2000м (знак «+») и уменьшается при стрельбе с дистанции более 2000м (знак «-»).
dL = kD · dD,
где kD = 25·10-3 мм/м
dD – изменение дальности произведения выстрела
dD = D - Dр
где Dр – реальная дистанция выстрела.
Таким образом, толщина броневой детали по нормали будет равна
b = bx · cos αр
Масса брони будет рассчитываться исходя из плотности броневой стали:
rм– плотность монолитной брони (rм = 7,85 г/см3).
5 Расчёт элементов башни
5.1 Расчёт шариковой опоры башни
На сегодняшний день наиболее целесообразным является использование шариковых опор с тороидальной формой беговых дорожек подвижного и неподвижного погона. Основными деталями такой опоры являются погоны и шарики. Основными силами действующими на опору башни являются Gб – вес башни и R – сила сопротивления откату при выстреле. Работоспособность и долговечность погонов в основном определяются контактными напряжениями смятия погонов, вызванными этими силами.
Рис.5.1 Расчётная схема шариковой опоры
где N0 – суммарная вертикальная реакция;
Nг – суммарная горизонтальная реакция;
Характеристики
Тип файла документ
Документы такого типа открываются такими программами, как Microsoft Office Word на компьютерах Windows, Apple Pages на компьютерах Mac, Open Office - бесплатная альтернатива на различных платформах, в том числе Linux. Наиболее простым и современным решением будут Google документы, так как открываются онлайн без скачивания прямо в браузере на любой платформе. Существуют российские качественные аналоги, например от Яндекса.
Будьте внимательны на мобильных устройствах, так как там используются упрощённый функционал даже в официальном приложении от Microsoft, поэтому для просмотра скачивайте PDF-версию. А если нужно редактировать файл, то используйте оригинальный файл.
Файлы такого типа обычно разбиты на страницы, а текст может быть форматированным (жирный, курсив, выбор шрифта, таблицы и т.п.), а также в него можно добавлять изображения. Формат идеально подходит для рефератов, докладов и РПЗ курсовых проектов, которые необходимо распечатать. Кстати перед печатью также сохраняйте файл в PDF, так как принтер может начудить со шрифтами.















