История компоновки (1053875), страница 5
Текст из файла (страница 5)
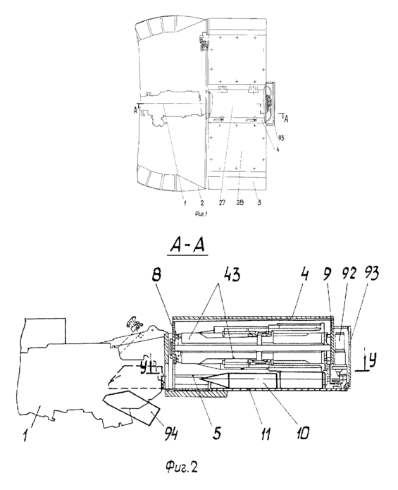
Компоновка САУ 2С1 «Гвоздика»
Для САУ на гусеничной базе нет необходимости обеспечивать большие углы склонения пушки, им достаточно иметь противоосколочное бронирование. В основном компоновка САУ должна обеспечить установку мощной артсистемы, перевозку достаточного боекомплекта, а так же возможность его простого пополнения с грунта с использованием полуавтоматических загрузчиков боеприпасов. Как правило, у современных САУ силовое отделение расположено впереди, башня больших размеров в кормовой части машины (2С1 «Гвоздика», М109 и др.). В некоторых случаях, когда САУ выполняются на базе существующих танков, они получают и их общую компоновку (Мста-С, ТОС «Буратино»).
Во время второй мировой войны весьма распространёнными были САУ на базе танков с установкой на них артиллерийских систем мощности большей, чем у оригинальной машины. Это немецкие «Штуги» на базе Pz.III, Pz.IV, советские лёгкие СУ-76, средние СУ-100, тяжелые ИСУ-152. Как правило, эти САУ повторяли компоновку базовых машин. Так СУ-100 на базе Т-34 и ИСУ-152 на базе ИС имели впереди расположенную рубку и далеко выступающий вперёд за габариты машины ствол, что снижало их подвижность в узких местах. Немецкие самоходки на базе Pz.III и Pz.IV имели боевую рубку в центре машины, благодаря чему пушка незначительно выступала за габариты. СУ-76 на базе лёгкого Т-70 получила боевую рубку в корме машины, что наиболее оптимально для САУ. Особняком стоит немецкое штурмовое орудие «Фердинанд». Изначально это был тяжёлый танк «Тигр» конструкции Ф. Порше с расположенной впереди башней и задним МТО. Благодаря применению электромеханической трансмиссии перекомпоновать машину не составило особого труда и боевая рубка «Фердинанда» оказалась в кормовой части, а МТО в передней…
Продольный разрез немецких САУ Stug.III и штурмового орудия «Фердинанд»
Компоновка перспективных танков
Автомат заряжания для ОБТ с башней, как у немецкого танка Леопард-2. Здесь весьма значительный объем в башне занимает манипулятор автомата заряжания (патент фирмы Krauss-Maffei Aktiengesellschaft)
Другая конструкция АЗ для Леопарда-2 от Krauss-Maffei Aktiengesellschaft. Снаряды размещены в двух вращающихся барабанах
На сегодняшний день одним из основных недостатков классической компоновки является невозможность обеспечить надёжное круговое противоснарядное бронирование. Кроме того, наличие большой тяжёлой башни значительно усложняет конструкцию и массу танка.
Поскольку отказаться, как предлагают некоторые, от пушечного вооружения на современном этапе не представляется возможным (применение только ракетного вооружения весьма проблематично по многим причинам), то, по мнению многих специалистов, перспективным путём уменьшения массы танка является размещение всего экипажа в корпусе с вынесенным основным вооружением. Бронированию, в этом случае, подлежат только казённик пушки и механизм заряжания.
Одним из вариантов считается возможность применения сочленённой компоновки, при этом танк может состоять из двух соединённых между собой тележек. В передней бронированной тележке может находиться силовое отделение (моторно-трансмиссионное) и дистанционные приборы наблюдения механика водителя, кроме того, может устанавливаться дистанционно управляемое дополнительное и вспомогательное вооружение. Во второй бронированной тележке — боевое отделение с вынесенным основным вооружением. Есть и обратные варианты — ведущая тележка сзади, а боевая спереди.
Омский вариант перекомпоновки при модернизации устаревших танков. На танке Т-55 установлена новая башня с автоматом заряжания в кормовой нише башни, значительно увеличено лобовое бронирование, для этого впереди добавлен еще один опорный каток
Большое внимание во многих проектах компоновки боевого отделения уделяется конструкции автоматов заряжания. Автомат заряжания может оказать большое влияние и на общую компоновку. Так для танков с вынесенным вооружением боекомплект размещается в автоматизированной укладке в корпусе. Для танков с развитой кормовой нишей башни АЗ можно разместить в ней, чем высвобождается внутренний объем в корпусе танка.
Компоновка танка с конвейерным АЗ в нише башни. Весь экипаж находится в башне. Для облегчения управления танком водитель размещён по центру башни и поворачивается вместе с приборами наблюдения в сторону, противоположную вращению башни, оставаясь неподвижным относительно корпуса. Для этого пушка смещена вправо относительно оси башни (патент немецкой фирмы Wegmann & Co GmbH)
Вариант высоко защищённой башни, обеспечивающей изолирование экипажа от вооружения. Автоматизированный боекомплект выполняется отдельной секцией, присоединяемой к корме башни (патент омского ФГУП КБ «Трансмаш»)
Вопрос перспективной компоновки настолько обширный и спорный, что ему в рамках этой статьи будет тесно, про это надо писать отдельно и глубоко.
Здесь считаю нужным только добавить, что ошибка большинства любителей БТВТ, которые до умопомрачения спорят между собой о преимуществах и недостатках той или иной компоновки и пытаются выдвигать свои предложения и требования, заключается в том, что танк и другая БТВТ не являются оружием универсальным. Поэтому, прежде чем предлагать пути технического совершенствования, нужно выдвинуть требования к машине (разработать техническое задание) которые должны учитывать, что данная машина находится на поле боя не сама по себе, а во взаимодействии с другими боевыми машинами, подразделениями и родами войск. Никакая универсальная и мощная машина не поможет при неверно организованном командовании. В то же время, множество примеров, когда при правильно организованном командовании и взаимодействии добивались успеха войска, имеющие более слабую технику по сравнению с техникой противника.
Когда вы задумаетесь о том, какой должна быть перспективная машина, то не пытайтесь впихнуть в неё все, что взбредёт в голову, постарайтесь дать ей только то, для чего она предназначена, а для чего не предназначена, тем пусть занимаются другие специальные машины.
В заключение хочется отметить, что на современном этапе вопрос повышения боевой эффективности БТВТ все больше выходит за рамки компоновки. Если раньше каждое последующее поколение танков значительно превосходило предыдущие по боевой эффективности, то сейчас незначительное повышение боевой эффективности достигается при значительных материальных затратах.
Возможно, проблема заключается в том, что в большинстве случаев танк рассматривается как самостоятельная боевая единица (которой он естественно и является) и его возможностям действовать в составе подразделения уделяется незначительное внимание.
В связи с этим, одним из перспективных путей является создание единых автоматизированных систем управления подразделениями, благодаря которым отдельный танк получает задачи и целеуказание на уничтожение целей. Большинство исходных данных для наведения и стрельбы могут уже быть заданы системой управления подразделением. Благодаря такой системе танки подразделения действуют согласовано, достигается максимальная эффективность использования их вооружения, экипажи не тратят драгоценное время на поиск и идентификацию целей. А в случае нарушения в работе системы экипажи переходят в режим самостоятельного поиска и поражения целей.
Подобная система «управление полем боя» разрабатывается во Франции. В Советском Союзе в конце 80-х были разработаны две автоматизированных системы управления войсками от дивизионного уровня и выше. По известным причинам дальнейшие разработки подобных систем для ротного-батальонного уровня были приостановлены.
Варианты боевой машины пехоты с размещением двигателя в центре корпуса, запатентованные немецкой фирмой Rheinstahl Hanomag Aktiengesellschaft
Высокозащищенный танк с экипажем два человека, запатентованный российским предприятием ОАО «Спецмаш». Танк имеет вынесенное вооружение и автоматизированную боеукладку, расположенные в кормовой части корпуса. МТО размещено в передней части корпуса
Другой вариант размещения вынесенного вооружения. Экипаж расположен впереди, МТО в кормовой части, а вооружение и автоматизированная боеукладка в центре машины (патент немецкой фирмы Blohm & Voss Aktiengesellschaft)
Автомат заряжания омского ФГУП КБ «Трансмаш»
Автор благодарит Сергея Зыкова (г. Владивосток) за оказанную помощь в написании статьи
Источники информации
Автоматический механизм заряжания пушки. Патент РФ RU 2195617 С1, 28.04.2001.
Барятинский М. Средний танк Т-34-85 («Бронеколлекция», 1999, № 4) -М.: «Моделист-конструктор», 1999.
Барятинский М. Тяжелый танк «Пантера» («Бронеколлекция», 1997, № 2) -М.: «Моделист-конструктор», 1997.
Барятинский М., Фирингер М. Первый танк страны советов // Моделист-Конструктор № 10, 1987.
Башня танка. Патент РФ RU 2169336 С2, 13.05.2000.
Боевая техника армии и флота: Сб. статей / Сост. С. Н. Поташов. -М.: ДОСААФ, 1981.















