№4 (пример 1) (1042937)
Текст из файла
Разработка технологического процесса изготовления сварной конструкции.
1. Ручная дуговая сварка.
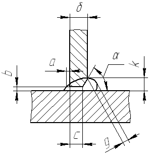
Тавровое соединение.
РДС с разделением кромок
Основным параметром режима ручной дуговой сварки является сварочный ток (А),
который выбирают в зависимости от диаметра и типа металла электрода:
, где
- диаметр стержня электрода,
- опытный коэффициент. Тогда сварочный ток равен
Время сварки:
, где
- коэффициент наплавки;
-площадь поперечного сечения шва.
3.2. Автоматическая дуговая сварка.
Тавровое соединение.
АДС с разделением кромок
Время сварки:
, где
- коэффициент наплавки;
-площадь поперечного сечения шва.
Характеристики
Тип файла документ
Документы такого типа открываются такими программами, как Microsoft Office Word на компьютерах Windows, Apple Pages на компьютерах Mac, Open Office - бесплатная альтернатива на различных платформах, в том числе Linux. Наиболее простым и современным решением будут Google документы, так как открываются онлайн без скачивания прямо в браузере на любой платформе. Существуют российские качественные аналоги, например от Яндекса.
Будьте внимательны на мобильных устройствах, так как там используются упрощённый функционал даже в официальном приложении от Microsoft, поэтому для просмотра скачивайте PDF-версию. А если нужно редактировать файл, то используйте оригинальный файл.
Файлы такого типа обычно разбиты на страницы, а текст может быть форматированным (жирный, курсив, выбор шрифта, таблицы и т.п.), а также в него можно добавлять изображения. Формат идеально подходит для рефератов, докладов и РПЗ курсовых проектов, которые необходимо распечатать. Кстати перед печатью также сохраняйте файл в PDF, так как принтер может начудить со шрифтами.















