Moe_Dz (1042615)
Текст из файла
Оглавление
1. Анализ технологических требований и выявление технологических задач……...2
2. Анализ технологичности. ............................................................................................4
3. Выбор метода получения заготовки. ..........................................................................4
4. Выбор маршрута обработки основных поверхностей детали. .................................5
5. Разработка общего маршрута обработки всей детали……………………………...6
6. Определение припусков. ..............................................................................................9
1. Анализ технологических требований и выявление технологических задач.
А. Обеспечить заданную точность получения размеров и шероховатости поверхностей можно выполнением следующих технологических переходов:
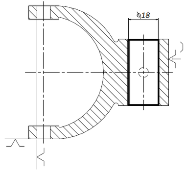
- внутренние торцы с шероховатостью Rz 20 – чистовым фрезерованием;
- отверстия ∅8 7 с шероховатостью Ra 1.25 и ∅18 7 с Rа 2.5 –развѐртыванием;
- отверстие ∅5 12 с шероховатостью Rz 40 – однократным сверлением;
Б. На рабочем чертеже указаны технические требования по расположению:
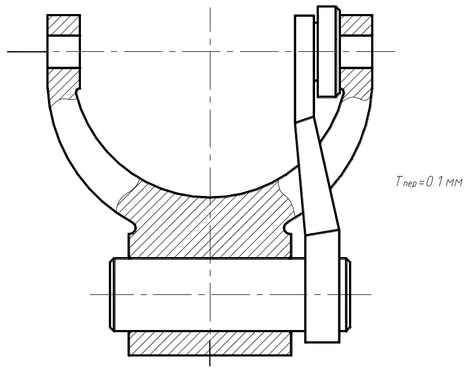
- соосность отверстий ∅8 7; это требование можно обеспечить обработкой отверстий за один установ.
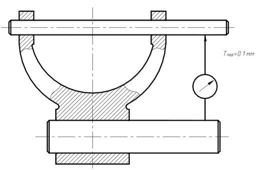
- перпендикулярность торцев относительно отверстия ∅18 7; это требование можно обеспечить базированием относительно этого отверстия при обработке торцев.
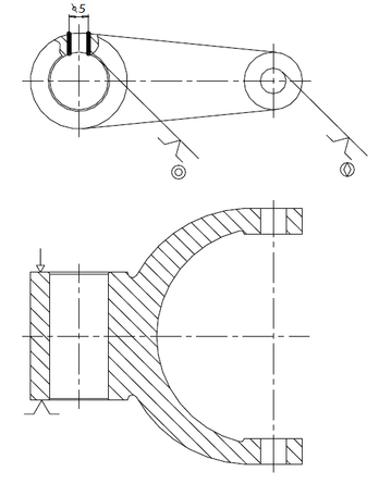
- параллельность отверстий ∅8 7 относительно отверстия ∅18 7; это требование можно обеспечить базированием относительно отверстия ∅18 7 при обработке ∅8 7.
В. На рабочем чертеже не указаны технические требования по твердости.
Г. В результате обработки необходимо контролировать:
- размеры линейные микрометром с ценой деления 0,01 мм;
- размеры отверстий нутромером с ценой деления 0,005 мм;
- значения параметров шероховатости Ra с помощью профиломера;
- технические требования на расположение поверхностей с помощью специальных приспособлений.
Схема контроля соосности отверстий ∅8 7.
Схема контроля перпендикулярности торцев относительно отверстия ∅18 7.
Схема контроля параллельности отверстий ∅8 7 относительно отверстия ∅18 7.
2. Анализ технологичности.
Конструкция детали обеспечивает свободный доступ инструмента к обрабатываемым поверхностям. Однако конструкция детали не жѐсткая.
Деталь не технологична по шероховатости и имеет среднюю технологичность по точности.
3. Выбор метода получения заготтовки.
Учитывая конфигурацию, размеры детали, материал (СЧ 21), а также серийное производство, в качестве исходной выбираем литую заготовку, получаемую литьем в песчаные формы с машинной формовкой по деревянным моделям.
4. Выбор маршрута обработки основных поверхностей детали.
1) внутренние торцы с шероховатостью Rz 20:
- литьѐ; обеспечивает Т=0.6 и Rz 200;
- черновое фрезерование; обеспечивает 14 квалитет точности и Rz 50;
- чистовое фрезерование; обеспечивает 12 квалитет точности Rz 20.
2) отверстие ∅5 12 с шероховатостью Rz 40:
- однократное сверление; обеспечивает 12 квалитет точности и Rz 40.
3) отверстия ∅18 7 с шероховатостью Ra 2.5:
- литьѐ; обеспечивает Т=0.5 и Rz 200; - зенкерование; обеспечивает 10 квалитет точности и Ra 5.
- развѐртывание; обеспечивает 7 квалитет точности и Ra 2.5.
4) отверстие ∅8 7 с шероховатостью Rа 1.25:
- сверление; обеспечивает 12 квалитет точности и Ra 12.5.
- зенкерование; обеспечивает 10 квалитет точности и Ra 2.5.
- развѐртывание; обеспечивает 7 квалитет точности и Ra 1.25.
5. Разработка общего маршрута обработки всей детали.
| № п.п. | Наименование и краткое содержание операции | Технологические базы | Оборудование |
| 05 | Заготовительная. Литьѐ в песчаные формы. | ||
| 10 | Термическая. Отжиг литой заготовки. | Печь термическая. | |
| 15 | Фрезерная. Черновое фрезерование внутренних торцев. Размер 64. | Внешние цилиндрические поверхности, торец. | Фрезерный станок. |
| 20 | Фрезерная. Чистовое фрезерование внутренних торцев. Размер 64. | Внешние цилиндрические поверхности, торец. | Фрезерный станок. |
| 25 | Вертикально-сверлильная. Сверление отверстий ∅8. | Внешние цилиндрические поверхности, торец. | Вертикально-сверлильный станок. |
| 30 | Вертикально-сверлильная. Зенкерование отверстия ∅18. Развѐртывание отверстия ∅18. Зенкование фасок 1х45. | Отверстие ∅8 , Внешние цилиндрические поверхности, торец. | Вертикально-сверлильный станок. |
| 35 | Вертикально-сверлильная. Сверление отверстий ∅5. | Отверстия ∅18, ∅8, торец. | Вертикально-сверлильный станок. |
| 40 | Вертикально-сверлильная. Зенкерование отверстия ∅8. Развѐртывание отверстия ∅8. | Отверстие ∅18 , Внешние цилиндрические поверхности, торец. | Вертикально-сверлильный станок. |
| 45 | Моечная. Мойка детали в горячем содовом растворе и сушка. | Ванны моечные, установки для сушки. | |
| 50 | Контрольная. Контроль окончательный размеров, шероховатости и физико-механических свойств поверхностного слоя, а так же технических требований по расположению поверхностей. | Плита контрольная, средства и устройства для контроля и измерения. |
Операция 15,20: Фрезерная. Оборудование: Фрезерный станок.
Операция 025: Вертикально-сверлильная. Оборудование: Вертикально-сверлильный станок.
Операция 030: Вертикально-сверлильная. Оборудование: Вертикально-сверлильный станок.
Операция 035: Вертикально-сверлильная. Оборудование: Вертикально-сверлильный станок.
Операция 045: Вертикально-сверлильная. Оборудование: Вертикально-сверлильный станок.
6. ОПРЕДЕЛЕНИЕ ПРИПУСКОВ.
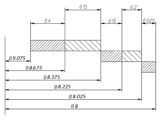
Определим припуски отверстия ∅8H7 с шероховатостью Ra 1.25 методом минимальной стружки.
1. Переходы:
- сверление;
- зенкерование;
- развѐртывание;
2. Определение Сmin по таблице 1
- сверление – 2;
- зенкерование – 0.3;
- развѐртывание – 0.2;
3.Выбираем допуски на переходы обработки по таблице 2.
- сверление – Тчерн=0.4 мм;
- зенкерование – Тп.чист=0.15 мм;
- развѐртывание – Тчист=0.025 мм;
4.Примем за расчетный размер 8 как минимальный.
5.Определим минимальный и максимальный размеры для переходов обработки начиная с последнего перехода.
-развертывание:
Pmin чист=8.00 мм
Pmax чист= Pmin чист +Tчист= 8.00+0.025=8.025 мм
- зенкерование:
Pmin п.чист= Pmax чист +Сmin чист=8.025+0.2=8.225 мм
Pmax п.чист= Pmin п.чист + Tп.чист =8.225+0.15=8.375 мм
- сверление:
Pmin черн= Pmax п.чист +Сmin п.чист=8.375 +0.3=8.675 мм
Pmax черн= Pmin черн + Tчерн =8.675 +0.4=9.075 мм
6. Схема припусков.
6
Характеристики
Тип файла документ
Документы такого типа открываются такими программами, как Microsoft Office Word на компьютерах Windows, Apple Pages на компьютерах Mac, Open Office - бесплатная альтернатива на различных платформах, в том числе Linux. Наиболее простым и современным решением будут Google документы, так как открываются онлайн без скачивания прямо в браузере на любой платформе. Существуют российские качественные аналоги, например от Яндекса.
Будьте внимательны на мобильных устройствах, так как там используются упрощённый функционал даже в официальном приложении от Microsoft, поэтому для просмотра скачивайте PDF-версию. А если нужно редактировать файл, то используйте оригинальный файл.
Файлы такого типа обычно разбиты на страницы, а текст может быть форматированным (жирный, курсив, выбор шрифта, таблицы и т.п.), а также в него можно добавлять изображения. Формат идеально подходит для рефератов, докладов и РПЗ курсовых проектов, которые необходимо распечатать. Кстати перед печатью также сохраняйте файл в PDF, так как принтер может начудить со шрифтами.















