реферат (1041045), страница 2
Текст из файла (страница 2)
В сверхвысоком вакууме создаются молекулярные пучки с помощью эффузионнных ячеек, температура которых тщательно контролируется, как правило, с помощью ЭВМ. Выбирая должным образом температуры подложки и ячеек, получают эпитаксиальные пленки требуемого химического состава. С помощью заслонок можно быстро изменять потоки различных веществ, создавая резкие профили состава и легирования. Однородность состава пленки и ее кристаллическая структура определяется однородностью молекулярных пучков по площади подложки материалов.
Преимущество метода МЛЭ состоит в высокой точности задания концентрации легирующих примесей. Кроме того, данный метод позволяет размещать в оборудовании для МЛЭ приборы, дающие возможность анализировать параметры слоев непосредственно в процессе выращивания.
Рисунок 4 − Схема установки МЛЭ: I - зона генерации молекулярных пучков; II - зона смешивания испаряемых элементов; III - зона кристаллизации на подложке; 1 - блок нагрева; 2 - подложка; 3 - заслонка отдельной ячейки; 4 - эффузионнные ячейки основных компонентов пленки; 5 - эффузионнные ячейки легирующих примесей
Рисунок 5 − Однородные островки Ge/Si (АСМ- изображение)
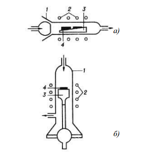
Эпитаксия из газовой фазы (ГФЭ) – метод, основанный на осаждении из газовой фазы вещества, полученного в результате химических реакций. Процессы осуществляются в реакторах; газовая система обеспечивает подачу в реакторную камеру газовой смеси требуемого состава. Добавляя к газовой смеси соединения легирующих элементов (например, AsCl3, B2H6), выращивают эпитаксиальные слои. Температура процесса определяется кинетикой химической реакции и обычно находится в пределах 800…1300° С.
Метод термического испарения в вакууме заключается в следующем. При пропускании тока через контакты испаритель разогревается и передаёт своё тепло материалу будущей плёнки, в камере создают вакуум, при этом материал будущей плёнки разогревается и начинает испаряться. До тех пор, пока давление паров испаряемого материала меньше давления вакуума, подложка закрыта заслонкой. Расстояние от подложки до испарителя выбирают так, чтобы длина свободного пробега испаряемых атомов была на порядок выше, чем расстояние от подложки до испарителя. Для того чтобы улучшить адгезию, подложка разогревается нагревательным элементом. Как только давление паров испаряемого материала превысит давление вакуума, заслонку отодвигают, и на поверхности подложки происходит интенсивное осаждение плёнки. Применение электронной микроскопии позволило установить, что при конденсации паров сначала образуются капли жидкой конденсированной фазы, которые на некоторой стадии роста кристаллизуются, образуя отдельные изолированные частицы (зародыши), имеющие в большинстве случаев сферическую форму. Затем в процессе дальнейшей конденсации паров происходит рост зародышей, их слияние и образование сплошного слоя. Важным является подбор режимов нанесения, чтобы можно вовремя остановить процесс, когда только сформируется островковая структура.
Рисунок 6 − Схемы горизонтальной (а) и вертикальной (б) реакторных камер для эпитаксии из газовой фазы хлоридным методом: 1 - реакторная камера; 2 - нагреватель; 3 - подставка для подложек; 4-подложка
Рисунок 7 − Схема процесса термического испарения в вакууме
Метод ионно-лучевого травления (ИЛТ) – распыление проводящих и диэлектрических материалов сфокусированным пучком ионов инертных газов, вытягиваемых из автономного источника ионов. Травление предварительно сформированной пленки направленным пучком ионов происходит до таких малых остаточных толщин пленки, что она становится несплошной и приобретает островковую структуру.
Метод магнетронного распыления является разновидностью метода ионно- плазменного распыления. Действие магнетронного источника основано на распылении материала мишени-катода при его бомбардировке ионами рабочего газа, образующимися в плазме аномального тлеющего разряда, возбуждаемого в скрещенных электрическом и магнитном полях.
Магнетронные распылительные системы на постоянном токе могут работать только с мишенями из проводящих материалов. Если используются высокочастотные источники питания, то возможно распыление также и мишеней из непроводящих материалов (ВЧ-магнетроны). Метод расплавления пленки на поверхности подложки. Из самого названия метода следует, что первоначально на поверхности подложки формируется тонкая пленка микрометровой толщины. Затем путем последовательного повышения температуры подложки происходит разрушение пленки, она начинает расплавляться и образуются «капли». Но процесс этот неустойчивый и трудно контролируемый. Получить узкий диапазон разброса размеров капель довольно сложно.
Литография позволяет формировать пленки различной топологии, обеспечивая высокую воспроизводимость результатов. Но методами классической литографии возможно получить минимальные размеры до долей микрометра. В настоящее время активно развивается нанолитография, которая позволит получать структуры до десятков нанометров. Известно, что эффективность обработки любым из рассмотренных выше методов определяется энергией частиц (кинетической и потенциальной). Объясняется это тем, что на расстояниях до нескольких десятых долей нанометра от обрабатываемой поверхности происходит нейтрализация ионов электронами, вырываемыми электрическим полем.
Применение
ОНС нашли своё применение в нескольких сферах.
Островковые плёнки можно использовать для формирования обычных плёнок (например, малой площади).
Сравнительно недавно стало известно о создании нанотранзистора с квантовыми точками в канале. Формирование квантовых точек в канале нанотранзистора позволяет в полной мере реализовать преимущества квантовых эффектов – туннелирование и размерное квантование энергетического спектра носителей заряда.
Рисунок 8 – Нанотранзистор
Ни же на рисунке изображена последовательность формирования нанотранзистора. В качестве квантовых наноточек используются молекулы Fe2O3, которые образуются путём адсорбции феррита с железом внутри с последующим сжиганием протеиновой оболочки и суфрактанта.
Рисунок 9 – Этапы формирования нанотранзистора
В настоящее время активно проводятся исследования по изготовлению вертикально излучающего лазера на квантовых точках. Работа лазера основана на наличии дискретного спектра уровней, между которыми могут происходить электронные переходы. Используется механизм инверсной заселенности уровней, при которой на более высокоэнергетичном уровне накапливается большее количество электронов, чем на уровне, лежащем ниже. Квантовые точки играют роль активных атомов. На рисунке ниже представлена схема такого лазера, где инверсная заселённость образуется в слое InGaP, а активными атомами являются квантовые точки в промежуточном слое. Излучение формирующее луч образуется преобразованием энергии насыщения в энергию излучения при тунелировании атомов.
Рисунок 9 − Вертикально излучающий лазер на квантовых точках
Рисунок 10 – Зависимость фотосигнала от энергии фотонов
Островковые структуры находят свое применение и в наноэлектронике в качестве каталитических затравок для направленного выращивания углеродных нанотрубок (УНТ). Таким образом, актуальность применения ОНС очевидна и неоспорима.
Рисунок 11 – Нанотрубка
На рисунке 12 представлена схема установки для выращивания УНТ. С помощью потока газа на катализаторе, коим и являются островки, начинается рост УНТ.
Рисунок 12 – Выращивание УНТ
В результате получаются подобные структуры:
Рисунок 13 – Внешний вид трубок
Литература
-
«Наука и образование», статья 77-30569/259672 Формирование островковых наноструктур в вакууме, авторы: Сидорова С. В., Юрченко П. И.
-
А.Е.Жуков, Физика и технология полупроводниковых наноструктур
-
Обзор методов формирования и моделирование роста островковых наноструктур в вакууме, автор Сидорова Светлана Владимировна Россия, г. Москва, МГТУ им. Н.Э. Баумана
-
В. Н. Лозовский, Г. С. Константинова, С. В. Лозовский: «Нанотехнология в электронике. Введение в специальность.»
















