Лекц3 ВакуумметрыИстория01.03.11 (1033165), страница 3
Текст из файла (страница 3)
Рис. 13. Распределение видов трения в диапазоне давлений от 105 до 10-10 Па.
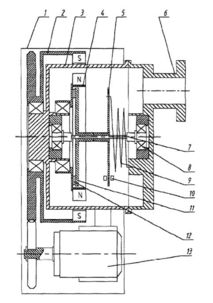
Запатентованная в 2005 г. конструкция вакуумметра (рис.14), как и большинство приборов для измерения вакуума крепится на присоединительном фланце 6. Работа прибора, аналогично вязкостному вакуумметру С. Дешмана, состоит в измерении трения, возникающего между фрикционными кольцами 11 и 12, а движение передается в вакуум при помощи магнитного ввода вращения 2 через ротор 4. Измерение вакуума также осуществляется по углу закручивания калиброванного торсиона 9 при помощи оптронной пары 10. Принципиальное отличие способов заключается в том, что вакуумметр С. Дешмана измеряет силу вязкостного трения газа в зазоре между дисками, а вакуумметр, представленный на рис. 14, измеряет силу взаимодействия сорбированных на вращающихся фрикционных кольцах поверхностных слоев молекул газа.
1-кожух привода, 2- магнитный ввод вращения, 3- корпус, 4 - ротор, вращающийся в вакууме, 5-измерительный (поворачивающийся) диск, 6-присоединительный фланец, 7- вал, 8- подшипник, 9- калиброванный торсион, 10-оптронная пара, 11,12- фрикционная пара колец, 13- привод.
Рис. 14. Запатентованный прибор для измерения вакуума в сверхшироком диапазоне давлений от 105 до 10-10 Па.
Калибровочная характеристика описанного вакуумметра представлена на рис. 15.
Рис. 15. Калибровочная характеристика прибора для измерения вакуума и коэффициента покрытия поверхностей сорбатом в сверхшироком диапазоне давлений.
Недостатком прибора является наличие 3-х максимумов и 2 минимумов, который может быть преодолен, как это исторически уже было в случае магниторазрядного вакуумметра, имеющего максимум при давлении 10-2 Па, что не помешало ему стать одним из лучших существующих широкодиапазонных вакуумметров.
На основе описанного способа измерения авторами реализован прибор (рис. 16) [25], позволяющий измерять остаточное давление непосредственно в вакуумной камере.
Рис. 16. Макет прибора для измерения вакуума и коэффициента покрытия поверхностей сорбатом в сверхшироком диапазоне давлений от 105 до 10-10 Па.
В каком направлении будет двигаться наука и техника в будущем, можно только догадываться. А пока мы ставим точку в истории создания вакуумметров.
Выводы
История полна разнообразных неточностей и заблуждений, но авторы надеются, что им удалось указать хотя бы на некоторые из них. Описанная история развития вакуумметров показывает, что философский принцип перехода количества в качество применим также и в физике. И мы видим, что данный принцип может быть использован для создания принципиально новых приборов для измерения вакуума.
Благодарности
Лектор благодарит Федеральное агентство по образованию РФ за поддержку работ, выполненных в соответствии с государственным контрактом на выполнение поисковых научно-исследовательских работ для государственных нужд №П2421 от 19 ноября 2009 г. в рамках реализации федеральной целевой программы «Научные и научно-педагогические кадры инновационной России» на 2009-2013 годы, а также ктн Гаценко А.А.за уникальные экспериментальные результаты и студента Скрылёва А.В за помощь в подготовке материала лекции..
Список использованных источников:
1. Zeller E. Philosophic der Griechen. B. 2. Leipzig, 1862. S. 300.
2. В.П. Борисов Вестник российской академии наук, том 73, с. 744-748 (2003).
3. Пипко А. И., Плисковкий В.Я., Королев Б.И., Кузнецов В.И. Основы вакуумной техники: учебник для техникумов – 2-е изд., перераб. и доп., М: Энергоиздат, 1981.-432 с., ил.
4. Брокгауз Ф.А., Ефрон И.А. Энциклопедический словарь: В 86 томах (82 т. и 4 доп.). — СПб.: 1890—1907.
5. Гиндикин С. Г. Рассказы о физиках и математиках.—3-е изд., расширенное. М.:МЦНМО, 2001. — 448 с.
6. Борисов В. П., Вакуум: от натурфилософии до диффузионного насоса. М:. НПК "Интелвак", 2001
7. Гейнце В. Введение в вакуумную технику. М.— Л., Госэнергоиздат, 1960, 517 с.
8. Pirani M., Neumann R., Electr. Eng. (1944/1945)
9. McLeod H., Phil. Mag., 48, 110 (1874)
10. Шампе Р., Физика и техника электровакуумных приборов, т.1, М.-Л., Госэнергоиздат., 1963. 256 с. с илл.
11. Розанов Л. Н. Вакуумная техника: Учебник для вузов. — М.: Высш. школа, 1982.—207 с.
12. Langmuir I., Phys. Rev., 1, 337 (1913)
13. Dushman S., Phys. Rev., 5, 212 (1915)
14. Тимирязев А.К., Ann. d. Phys., 40, 971 (1913)
15. Pirani M., Verhandl. deutsch. phys. Ges., 8, 686 (1906)
16. Saul Dushman, Scientific Foundations of Vacuum Technique, New York-London, John Willey & Sons, Inc., 1962
17. Buckley O.E., Proc. Natl. Acad. Sci. Amer. 2, 683 (1916)
18. Bayard R.T., Alpert D., Rev. Sci. Instr., 21, 571 (1950)
19. Hobson J. P. and Redhead P. A., Can. J. Phys., 36, 271, (1958)
20. Патент РФ №2316744 Е.А. Деулин. Способ измерения вакуума / Б.И.-10.02.2008
21. E.A. Deulin, A.A. Gatsenko Sorbed Gases as a Lubricant at Dry Friction//Lubricants, Materials and Lubrication Engineering/Proc. 13 Int. Col. Tribology 15-17,2002.-V.2.-pp.1269-1276.
22. Патент РФ №2263886 А.А.Гаценко, Е.А.Деулин, Р.А.Невшупа. Фрикционный вакуумметр / Б.И.-10.11.2005
23. Деулин Е.А. Физическое единство различных параметров «сухого» трения в вакууме и атмосфере, Трение и смазка в машинах и механизмах, № 9, 2010, стр. 43-47.
24. Деулин Е.А. Физическое единство различных параметров «сухого» трения в вакууме и атмосфере, Трение и смазка в машинах и механизмах, № 10, 2010, стр. 35-43.
25. Заявка на патент №2006100068 от 11.01.2006 Деулин Е.А., Коновалов В.В. Компактный трибометр с совмещенной системой измерения силовых параметров.
14














