Ekzamen_po_zagotovkam (1021047), страница 7
Текст из файла (страница 7)
Принципиальная схема процесса: Заливка, кристаллизация и частичное охлаждение отливки происходит во вращающейся форме.
Особенности метода: Центробежные силы при данном способе увеличивают ликвацию. Процесс затвердевания происходит с утяжелением частиц сплава(особенность). Наиболее распространено в серийном и массовом производстве, при получении отливок типа тел вращения. Трубы из чугуна, стали, цветных металлов, жаростойких, коррозионностойких и твердых сплавов, втулки, цилиндрические гильзы, кольца подшипников скольжения, ж/д трамвайные бандажи. Наибольшее распространение для биметаллов. Форму делают из чугуна и стали.
Преимущества и недостатки:
“+”:1)Высокая плотность отливок,вследствие малого количества межкристаллитных пустот. 2)меньший расход Ме из за отсутствия литниковой системы. 3)исключение затрат на изготовление стержней 4)улучшение заполненности формы,что способствует получению отливок из сплавов с низкой жидкотекучестью 5)Возможность получения многослойных и армированных изделий
“-“:1)Неточность диаметра полости отливок со свободной поверхностью
2)загрязнение свободной поверхности отливок ликвидами и неметаллическими включениями, а тостостенных отливок эта поверхность может иметь пористость,что увеличивает припуск на мех. обработку на 25-35%.
3
)Для получения отливок требуется спец машины , а сама литейная форма должна иметь высокую прочность и герметичность.
Автоматизация центробежного литья. Требования к центробежному литью:
1)угловая скорость
2)необходимо обеспечить разгонные и тормозные хар-ки
3)плавность работы и отсутствие вибраций
4)прочность и удобство крепления формы
Виды машин для ц.л:
1) универсальные (шпиндельные – для отливок общего назначения, роликовые – крупногабаритные отливки, с вертик.осью вращ.-фасонные отливки)
2) труболитейные машины(для изготовления труб диаметром 50-1200 мм, длиной до 7 м)
3) специальные(однотипные отливки в массовом производстве)
Технологический процесс:
-
Расплавленный металл из ковша заливают во вращающуюся форму, укреплнную на шпинделе, который вращается от электродвигателя
-
Под действием унтробежных сид метлалл прижимается к боковой стенке изложницы
-
Литейная форма вращается до полного затвердевания отливки
-
После остановки формы отливка извлекается
29. Штамповка в открытых и закрытых штампах (сравнение процессов, область применения, преимущества и недостатки).
Открытая штамповка – процесс, при котором избыток металла заготовки вытесняется в специальную полость в штампе, называемую облойной (заусничной) канавкой. Металл в канавке называется облоем (заусенцем). Облой выполняет некоторые технологические функции. (Молоты и прессы)
Для облегчения удаления поковки из штампа боковые стенки полости выполняются с уклоном. Назначение уклонов приводит к искажению формы поковки и к увеличению ее объема.
После извлечения поковки из полости основного штампа заусенец обрезают в специальном обрезном штампе, обычно на вспомогательном обрезном прессе.
Штампы необходимо тщательно смазывать, так как это дает возможность уменьшить их уклоны и соответственно напуски на поковках.
Сущность процесса состоит в том, что заготовка деформируется, находясь в полости одной части штампа, в которую входит, как в направляющую, другая его часть. При этом штамп не обеспечивает свободного удаления поковки из ручья. Для удаления поковки используются либо выталкиватели (на КГШП), либо часть штампа, в которой расположена полость, выполняется разъемной, состоящей из двух половин (на ГКМ). Практически некоторая часть металла затекает в зазоры между разъемными частями закрытого штампа, образуя незначительный заусенец, объем которого зависит от колебаний объема заготовок вследствие неточности изготовления
Штамповка в закрытом штампе характеризуется следующими признаками.
1. Колебания объема должны быть незначительными. При штамповке заусенец не предусматривается, поэтому объем металла в полости практически не изменяется.
2. Заусенец, часто образующийся вследствие затекания металла в зазор по месту разъема штампа, незначителен, толщина его не изменяется в процессе штамповки, а направление вытекания совпадает с направлением движения штампа.
3. Макроструктура поковок характеризуется тем, что волокна получают очертания контура поковки и не перерезаны.
Закрытая штамповка более рациональна, чем открытая, так как при ней возможен только не предусматриваемый и небольшой величины заусенец, качество поковок более высокое. Закрытые штампы менее требовательны к фасонированию заготовок, однако, как и в открытых штампах, должно быть обеспечено центрирование заготовок.
Основной недостаток способа штамповки в закрытых штампах состоит в не универсальности и ограниченности рациональных форм штампуемых поковок. Заготовки должны быть точными по объему, что требует использования специального оборудования для отрезки заготовок. Меньший объем заготовок, чем требующийся, приводит к незаполнению углов штампов и браку поковок. Больший объем заготовки из-за отсутствия возможности фиксировать момент заполнения полости (конец штамповки) приводит к распору штампа, что отрицательно сказывается на его долговечности.
Во избежание перегрузки штампов и оборудования при попадании в штампы заготовок, объем которых превышает некоторый предельный, излишки металла удаляются в специальный приемник – компенсатор. Принцип устройства компенсатора состоит в том, что для каждой конфигурации поковок и соответствующего оформления штампа устанавливают место наиболее трудного заполнения металлом и в нем предусматривают отверстие или щель, в которое выдавливается лишний металл после оформления поковки.
30. Штамповка в штампах для выдавливания (область применения, преимущества и недостатки)
Это наиболее прогрессивный вид ГОШ. По сравнению со штамповкой в открытых штампах расход металла сокращается на 30%.Производство труда увеличивается в 1.5..2 раз. Наиболее целесообразно получать следующие типы поковок: стержень с фланцем, клапаны двигателей , стаканы.
Поковки изготавливаемые выдавливаванием имеют высокое качество поверхности ,плотную микроструктуру, точность IT12 ,пределы допусков на размеры:+1.0…-0.5, что достигается в результате тщательной подготовки исходных заготовок под штамповку, высокой точности штампов,использование спец. Смазочных материалов.
“+”: перед штамповкой в открытых штампах получение поковок с точными размерами и чистой поверхностью.
“-“ высокие удельные усилия деформирования, большие энергозатраты
Низкая стоимость оснастки.
Выдавливание – формообразование сплошных или полых изделий, благодаря пластическому течению металла из замкнутого объема через отверстия соответствующей формы.
Особенностью процесса является образование в очаге деформации схемы трехосного неравномерного сжатия, повышающего технологическую пластичность материала.
Различают прямое, обратное, боковое и комбинированное выдавливание:
При прямом выдавливании металл течет из матрицы в направлении, совпадающем с направлением движения пуансона.
При обратном выдавливании металл течет в направлении, противоположном направлению движения пуансона.
31. Штамповка на ГКМ.
Горизонтально-ковочные машины (ГКМ) разновидность кривошипных прессов с перемещением главного и зажимного ползунов в горизонтальной плоскости. Получение поковок из прутков, труб черных металлов. Заготовки с различными утолщениями 8-9 квалитета, длиной до 4 м, диаметром до 270 мм. Применяется в условиях крупносерийного и массового производства. Работа на ГКМ более удобная и менее опасная, чем работа на молотах или прессах. Недостатки: при сравнении с КГШП необходимо учесть, что масса заготовок ограничена 30-50 кг. Стойкость штампа меньше, чем у молотов и прессов, стоимость ГКМ в 1,5 раза выше, чем КГШП, 2 плоскости разъема (плоскость разъема полуматриц и поверхность разъема пуансона и матрицы.), жестокость поэтому невысокая.
Сущность штамповки на ГКМ заключается в зажиме заготовки в матрице и деформации ее в торец. Для осуществления возможности такого действия машина имеет два механизма зажимной и деформирующий. Поковки, штампуемые на ГКМ, обычно имеют форму тел вращения с осью, совпадающей с осью исходного прутка. На горизонтально-ковочных машинах можно штамповать поковки шестерен, гаек, колец, втулок и т.д.
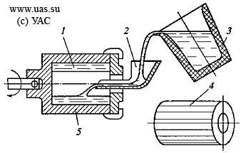
С
хема процесса штамповки на горизонтальноковочной машине представлена на рис. Нагретый до температуры горячей деформирования пруток 4 закладывают в неподвижную матрицу 3 (рис., а и б). Положение конца нагретого прутка определяется упором 2. Подвижная матрица 5 подходит к неподвижной матрице 3 и зажимает пруток. На пути движения пуансона 1 находится упор 2. При подходе пуансона 1 упор 2 автоматически отходит. Далее высадка прутка, при этом металл заполнит полость матрицы (рис., в). Достигнув крайнего переднего сложения, ползун двигается в обратном направлении, а пуансон из полости матриц выходит на некоторое расстояние, после чего матрицы раскрываются, а высаженную поковку вынимают или она выпадает из матрицы, после чего пуансон и матрица принимают исходное положение (рис., г).
Штамповка характеризуется высокой производительностью, возможностью изготовлять поковки сложной конфигурации без напусков; малыми отходами металла точностью размеров и чистотой поверхности и удобством работы.
32. Штамповка на КГШП.
Кривошипные горячештамповочные прессы предназначаются для выполнения различных технологических процессов горячей штамповки из сортового металла: открытой и закрытой штамповки, горячего прессования и т.д., в условиях крупносерийного и массового производства. Штампы, применяемые на горячештамповочных кривошипных прессах, по своей конструкции напоминают штампы для холодной штамповки. Они также имеют верхнюю и нижнюю плиты, соединенные между собой направляющими колонками и втулками. Все основные элементы штампов — плиты, колонки втулки, элементы крепления рабочих частей — нормализованы или стандартизированы.
Штамповка на КГШП имеет ряд преимуществ:
-
Относительно высокая точность поковок. Припуски и допуски могут быть примерно на 30%, а штамповочные уклоны в 1,5-2 раза меньше, чем при штамповке на молотах.
-
Более высокая производительность — на 30-50% выше, чем на молотах. А с применением средств механизации и автоматизации — выше в 2-2,5 раза.
-
Безударный характер работы позволяет применять сборные штампы.
-
Более высокая надежность в эксплуатации.
-
Возможность применения малоквалифицированной рабочей силы (если при штамповке на молотах требуется штамповщик 5го-6го разряда, то при штамповке аналогичных поковок на КГШП 3го разряда).
-
Себестоимость поковок ниже, чем при штамповке на молотах.
Недостатки штамповки на КГШП:
-
Меньшая универсальность.
-
Невозможность значительного перераспределения металла вдоль оси заготовки.
-
Нет условий для выполнения операции подкатки и протяжки заготовки.
-
Большее количество ручьев.
-
Более сложная конструкция штампов.
-
Необходимость очистки заготовок от окалины.
-
Дороговизна пресса (дороже молота в 3-4 раза).
Стоимость КГШП в несколько раз выше по сравнению с паровоздушными штамповочными молотами, пригодными для производства аналогичных поковок. Эксплуатационные расходы при использовании прессов ниже, но не настолько, чтобы привести к положительному экономическому эффекту. Применение КГШП целесообразно при внедрении прогрессивных технологических процессов штамповки в закрытых штампах и горячего прессования. Благодаря этому возможна экономия исходного металла. При штамповке на молотах коэффициент использования металла составляет 40...50%, а на КГШП - 60... 70 %, что значительно снижает себестоимость продукции.
Классификация поковок на КГШП.
Поковки, штампуемые на КГШП, подразделяют:
-
В зависимости от характера формоизменения и течения металла при формоизменении – на 2 класса: класс поковок, при изготовлении которых преобладающим процессом является осаживание, и класс поковок, при изготовлении которых преобладающим процессом является выдавливание (Выдавливание – операция по формообразованию сплошных или полых изделий, благодаря пластическому течению металла из замкнутого объема через отверстия соответствующей формы.);
-
В зависимости от конфигурации и сложности изготовления – на 5 групп. (табл. в приложении).
На КГШП штампуются поковки сложной конфигурации массой до 100 кг.
Штамповка на КГШП по сравнению со штамповкой на паровоздушных молотах имеет ряд преимуществ.
-
Благодаря наличию выталкивателей в штампах КГШП штамповочные уклоны назначают примерно в два раза меньшими, чем на молотах. (Удаление поковок из ручьев молотового штампа производится вручную, клещами. Поэтому молотовые поковки имеют большие штамповочные уклоны, чтобы их легко можно было извлекать из штампа. На прессовых штампах устанавливают безотказно действующие механические выталкиватели, что позволяет уменьшить величину штамповочных уклонов, а иногда и вовсе обойтись без них, т. е. штамповать поковки с вертикальными стенками. Это сокращает расход материала на поковку, уменьшает трудоемкость механической обработки, а в некоторых случаях позволяет избежать обработки резанием, применяя после штамповки калибровочные операции.)
-
Постоянство хода ползуна, большая точность его движения в направляющих станин пресса, применение штампов с направляющими колонками обеспечивают изготовление поковок с меньшими, чем на молотах, припусками, допусками и расходом металла. (Так как ползун пресса имеет постоянный ход, а конструкция деталей весьма прочная и жесткая, то поковки получаются более точными по высоте. При штамповке на молотах эти размеры зависят от квалификации штамповщика.)
-
Так как штамповка в каждом ручье выполняется за один ход ползуна, окалина может заштамповаться в поковку, поэтому нагрев заготовок под штамповку на КГШП должен быть малоокислительным, что также уменьшает расход металла на поковку, Широко применяют индукционный нагрев заготовок.
-
Производительность прессов в 2—3 раза выше, чем молотов. Это объясняется тем, что поковка образуется за один ход пресса, а на молоте для этого требуется несколько ударов. Кроме того, при штамповке на прессе значительно меньше расход энергии, в 2-4 раза выше, чем у молотов, к.п.д., значительно лучше, наличие механических выталкивателей сокращает время на ручные вспомогательные операции. Условия работы на прессе намного лучше, чем на молоте, так как отсутствуют шум и сотрясения.
-
Поковки, штампуемые на прессах, имеют более высокие механические свойства вследствие благоприятного расположения волокон, уменьшения припусков и напусков (меньше перерезаются волокна при механической обработке) и более равномерной деформации металла.
-
Условие деформирования отличается от условия деформирования на молотах. Это объясняется различной скоростью деформирования, которая на молотах составляет 5-8 м/с, а на прессах 0.5 — 0.6 м/с, поэтому и процесс заполнения полости штампа металлом на прессах происходит менее интенсивно, чем на молотах. На молотах полость ручья заполняется металлом за несколько ударов, а на прессе — за один ход ползуна. Это требует более тщательного фасонирования заготовки при штамповке сложных поковок.
-
Так как величина хода пресса постоянна, а его нижнее положение фиксировано, то за один ход можно достичь лишь определенной степени деформации. Это условие затрудняет выполнение процесса подкатки и протяжки, так как для их осуществления необходимо соответствующее количество ручьев: если на молоте в подкатном ручье заготовка обрабатывается за 6-8 ударов с кантовкой заготовки, то на КГШП необходимо соответствующее количество ручьев (6-8).
-
Процесс заполнения ручья и образования облоя на прессе происходит за один ход, облой при этом не успевает остыть, а, следовательно, не позволяет образовать по периметру ручья должного сопротивления вытеканию металла в облой. В результате может наблюдаться значительный выход металла в облой при недозаполненной полости ручья.
| Поковки, штампуемые на на кривошипных прессах (КГШП), можно разделить на два класса и пять групп (табл. 1).
| ||||||||||||||||||||||||||||||||||||||||||||||||||||||||||||||||||||||||||||||||||||||||||||||||||||||||||||||||||||||||||||||||||||||
















