rpd000010966 (1012468), страница 6
Текст из файла (страница 6)
3) Расчет параметров на срезе сопла:
Определяем степень расширения на срезе канала:
Скорость потока на срезе канала,
,
По результатам программы «Термодинамика»:
Определяем удельную площадь сопла:
Геометрическая степень расширения сопла,
4) Расчет параметров двигателя:
Найдем удельный импульс на земле:
Расход топлива:
Определяем удельный импульс в пустоте:
Найдем тягу в пустоте:
Площадь критического сечения и среза сопла:
Определим расходный комплекс и коэффициент тяги:
4.2.2 Газодинамический расчёт реального канала
1). Расчет коэффициентов потерь
Коэффициент, учитывающий потери, связанные с недогоранием топлива: φк=0,97.
Коэффициент, учитывающий потери на рассеивание потока: φα = 0,992 для αс=10º - угла полураскрытая сопла канала.
Коэффициент, учитывающий все остальные потери в закритической части канала: φw∞ = 0,98.
Коэффициент, учитывающий потери в закритической части канала в пустоте, φс∞:
Коэффициент, учитывающий потери в закритической части канала на земле, φс0:
где, Δφс коэффициент, учитывающий влияние земного противодавления:
2). Расчет реальных параметров двигателя
Удельный импульс в пустоте:
Удельный импульс на земле:
Расход топлива:
Расход горючего и окислителя:
Площадь критического сечения и среза канала:
Диаметр критического сечения и среза канала:
Тяга в пустоте:
Расходный комплекс и коэффициент тяги:
5. Определение габаритов топливных баков
Масса топлива, необходимого для обеспечения работы двигательной установки в течение времени полета определяется как:
,
где
массовый расход топлива ДУ;
кг/с;
коэффициент запаса топлива;
;
– время работы ДУ;
с;
Дополнительный запас топлива в баках, учитываемый коэффициентом
, необходим для гарантированного обеспечения работы ДУ в течение заданного времени
при любых допустимых отклонениях расходов компонентов.
Масса топлива, необходимая для обеспечения работы ДУ равна:
кг;
Масса горючего:
кг;
Масса окислителя:
кг;
Объем бака горючего:
м3;
Объем бака окислителя:
м3;
Коэффициент объема бака
учитывает объём газовой подушки, а так же наличие внутри бака конструкционных элементов
;
Для определения осевых габаритов баков ракеты в первом приближении, форма баков принимается цилиндрической.
м;
м;
где d – диаметр ступени ракеты, равный 1,5 м.
В действительности, форма баков отличается от цилиндрической. Это связано с кривизной днищ. Однако учет влияний этих факторов затруднен до проведения оценки габаритов всех элементов двигательной установки. Данные об осевых габаритах баков ракеты определяют высоту столба жидкого компонента, необходимую в дальнейшем для определения максимально допустимого числа оборотов ТНА из расчета насоса окислителя на кавитацию.
6. Определение основных параметров и габаритов насосов
6.1 Определение параметров насосов
Окислителем в двигательной установке является жидкий фтор. Для этого компонента целесообразно использовать радиальный шнеко-центробежный насос. Горючим является водород, для которого целесообразно использовать многоступенчатый центробежный насос.
Массовые расходы окислителя и горючего равны:
Из уравнения баланса мощностей известно:
Отсюда найдём реальные мощности насосов:
Потребные мощности насосов можно определить по формулам:
где
– КПД насосов окислителя и горючего, принимаемые приближённо равными 0,65, H – напор насосов:
где
– давления на выходе из насоса и на входе в насос.
Определим эти давления по следующим формулам:
Значения
берутся из расчёта баланса мощностей, значение
так же выбирается, но оно не должно быть меньше, чем
для компонента прокачиваемого через насос. Определим значения
для компонентов.
По [6] для
при температуре
:
Для
при
:
Выберем
, соответствующие этим значениям, задаваемым при балансе мощностей.
Определим напоры насосов:
Зная напоры насосов, можно определить потребные мощности:
Определим максимальную угловую скорость для насосов из кавитационного коэффициента быстроходности:
где
– срывной коэффициент быстроходности; для выбранного типа насоса он принимается равным 3000.
Исходя из конструктивных соображений, примем
, или
. С учётом того, что насосы расположены на одном валу, скорость насоса горючего будет равна
.
Определим коэффициент быстроходности насоса окислителя:
Данный насос является центробежным.
Примем количество ступеней насоса горючего равным 4. Ступени расположим последовательно. Тогда напор, создаваемый одной ступенью, будет равен:
Коэффициент быстроходности одной ступени будет равен:
Все ступени будут центробежными.
Определим крутящие моменты насосов окислителя и горючего:
Приняв
, определим диаметр вала:
Из конструктивных соображений примем
и диаметр втулки, равный
6.2 Определение параметров турбины
После определения параметров насосов: потребной мощности и угловой скорости вращения становится возможным определение параметров предкамерной турбины.
Мощность
, потребляемая насосами ТНА равна:
Мощность, снимаемая с турбины, равна мощности потребляемой насосами:
Мощность
, снимаемая с турбины, может быть выражена как:
где
– массовый расход газа через турбину;
Удельная адиабатная работа газа;
– полный КПД турбины; для турбины, работающей по замкнутой схеме, в первом приближении величина выбирается как:
.
Удельная адиабатная работа газа в турбине определяется как:
где
показатель адиабаты,
;
– газовая постоянная рабочего тела турбины,
– температура рабочего тела турбины,
давление газа на входе в турбину,
степень понижения давления на турбине.
Параметры рабочего тела турбины
,
,
,
,
назначаются по результатам расчета совместной работы турбины и .насосов в закрытой схеме,
– давление в камере сгорания, равное 15 МПа.
С учетом выбранных величин, удельная адиабатная работа газа в турбине равна:
Объемный расход газа на входе в колесо турбины равен:
м3/с;
Коэффициент быстроходности турбины равен:
;
Степень парциальности предкамерной турбины равна:
Степень реактивности турбины задается из интервала:
;
Адиабатная скорость равна:
м/с;
Соотношение окружной и адиабатной скоростей выбирается из условия обеспечения наибольшего окружного КПД турбины по графической зависимости:
;
При этом окружной КПД равен:
;
Окружная скорость турбины равна:
м/с;
Средний диаметр турбины равен:
м;
7. Построение профиля камеры сгорания
7.1 Профилирование докритической части канала
Расчёт докритической части канала, и построение профиля производится на основе эмпирических зависимостей.
1) Определение приведенной и условной длины канала:
где критический диаметр подставляется в миллиметрах.
2) Относительная площадь канала:
3) Расчет размеров камеры:
- объём камеры:
.
- площадь поперечного сечения канала:
- радиус цилиндрической части канала:
- длина конфузора:
где ρ=0,25*106*рк=3,75.
- размеры конфузора:
- объем конфузора:
- длина цилиндрической части:
- радиусы сопряжения:
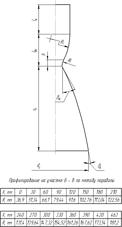
7.2 Профилирование закритической части канала
Расчёт и построение закритической части канала производится по методу касательных (параболы). Эта методика изложена в [5].
Определим отношение площадей:
Для n=1,32 находим два ближайших к
значения [3]:
Проинтерполируем значения:
Найдём длину закритической части канала,
Рисунок 1 – Профилирование канала методом параболы.
8. Определение параметров истекающего газового потока
Расчёт параметров по длине канала производится при некоторых средних значениях объёма и показателя политропы процесса.















