Примеры к лек. СМ7,11 (1005221)
Текст из файла
16
ПРИМЕРЫ
ПРИЛОЖЕНИЕ К ЛЕКЦИЯМ ДЛЯ СМ7-11
2016
ОГЛАВЛЕНИЕ
Пример 1 Расчет на прочность при изгибе 3
Пример 2 Рекомендация по оформлению д.з. №3 «Изгиб» 5
Пример 3 Определение допустимой нагрузки. Теорема Штейнера. 7
Пример 4 Статически неопределимая балка 9
Пример 5 Внецентренное растяжение 10
Пример 6 Определение главных напряжений 12
Пример 7 Упрощенное плоское напряженное состояние 13
Пример 8 Расчет на прочность по формуле Мора 15
Пример 1 Расчет на прочность при изгибе
Д
ля балки, изображенной на рис. 1, определить коэффициент запаса по текучести nт.
Дано: q, l, a, D, sт.
а б
Рис. 1
Решение
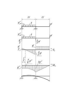
Прежде всего, построим эпюры поперечных сил Qy и изгибающих моментов Mx (рис. 2). При построении эпюры Qy, если идти слева направо, ордината откладывается в сторону вектора нагрузки. Поэтому эпюра Qy начинается с положительной ординаты, равной приложенной на левом конце балки силе
. Затем поперечная сила равномерно уменьшается на величину
и в заделке достигает значения -3/4 ql. Эпюра Qy на участке с распределенной нагрузкой это наклонная линия, которая пересекает ось z там, где будет экстремум на эпюре Мx . В нашем примере ось пересекается при z*=l/4 .
Строим эпюру Мx, идя от свободного левого конца балки. Заметим, что изгибающий момент на свободном конце всегда равен нулю за исключением случая, когда на этом конце приложена нагрузка в виде момента. На участке с распределенной нагрузкой эпюра изгибающих моментов представляет собой параболу, направленную выпуклостью навстречу нагрузке q. Ординату в заделке подсчитаем по формуле
. Это момент, создаваемый нагрузками относительно заделки. Изгибающий момент в заделке должен этот момент уравновесить, т.е. он ему равен. Записывая выражение для Mx, с плюсом брали члены, дающие сжатые слои сверху. Как было доказано ранее,
, т.е. эпюра Qy - производная от эпюры Mx. Это означает, что эпюра Мx это интеграл (т.е. сумма) от эпюры Qy. Ординаты на эпюре Мx можно определять через площади эпюры Qy. Каждая следующая ордината на эпюре Мx равна тому, что было в начале участка, плюс (или минус – в зависимости от знака эпюры
) площадь эпюры Qy над соответствующим участком эпюры
. В нашем примере экстремальное значение изгибающего момента Mx* равно площади эпюры Qy на участке от начала эпюры Qy до сечения, где эта эпюра пересекает ось z. Эта площадь равна
.
Изображая форму изогнутой оси балки, следует смотреть на эпюру изгибающих моментов: знак кривизны соответствует знаку момента. При положительной кривизне изогнутая ось изображается кривой с выпуклостью вниз, при отрицательной – с выпуклостью вверх. В сечениях, где изгибающий момент меняет знак, на изогнутой оси точка перегиба (т.е. изменяется знак кривизны оси). В заделку изогнутая ось входит по касательной.
Расчет на прочность
Коэффициент запаса по текучести равен
Предел текучести
задан.
Максимальное напряжение определим по формуле
.
Максимальный изгибающий момент, согласно эпюре Мx, равен
.
Момент сопротивления изгибу Wx для квадратного профиля
.
Осевой момент инерции площади сечения Jx это интеграл, т. е. сумма, поэтому для заданного сечения (рис.1б) Jx можно найти как разницу между осевым моментом инерции наружного контура сечения (квадрата) и моментом инерции внутреннего контура сечения (круга):
Момент сопротивления изгибу Wx - это не интеграл, а частное от деления осевого момента инерции на ymax (т.е. Wx нельзя определять как разницу Wx квадрата минус Wx круга). Ymax это расстояние от нейтральной линии, проходящей через центр тяжести сечения, до точки, наиболее удаленной от этой линии. В нашем случае ymax =
Пример 2 Рекомендация по оформлению д.з. №3 «Изгиб»
Курсивом ниже написаны комментарии, которые в д .з. помещать не надо.
При построение эпюры Mx сначала рисуете балку БЕЗ ОПОР с найденными реакциями, а затем разрезаете балку по участкам, рисуете отрезанную часть, прикладываете в сечении положительные силовые факторы. Здесь это не сделано, а в д.з. сделать надо.
При построении эпюры
и трех эпюр из сайта (для СМ7,11) рисовать отрезанные части не надо, только балку с реакциями (кроме консоли, там опору не отбрасываем) и затем сразу рисуете эпюры.
Пример
Определить угловое перемещение на правом конце балки (рис.3) и допустимую нагрузку.
Дано: прямоугольное сечение Н=2В=60мм,
=0,5м, σт=200МПа, nт=2, Е=
МПа.
Решение
-
Построение эпюр
Рис.3
Нижний рисунок это изогнутая ось балки. Чтобы ее изобразить, представьте себе металлическую линейку, которая выгнута в соответствии со сжатыми слоями на эпюре Мx (в нашем примере по всей длине балки сжатые слои снизу, так как Мx отрицательный), и мысленно положите эту линейку на опоры.
При построении изогнутой оси в балке с заделкой (рис.4) представьте себе, что заделка это щель в стене, в которую вам надо поместить кусок металлического обода соответственной кривизны. У вас сразу все получится: обод с положительной кривизной, выйдя из щели в стене, сразу идет вверх, а с отрицательной – вниз.
Рис.4
-
Расчет на прочность
Записав формулы, надо подставить в них числовые данные(в Н и м).
Нельзя, записав формулу в буквах, писать ответ в цифрах, неизвестно откуда взявшихся.
где
(расчет в м)
Условие прочности
, т.е.
, откуда допустимая нагрузка
-
Определение перемещения
П
риложив единичный момент для определения угла поворота на правом конце балки (рис.5) , строите эпюру
, предварительно определив реакции опор. Разрезать по участкам здесь не надо, вы уже показали на первой эпюре, как это делать. Под эпюрой
рисуете эпюру Мx, показываете расслоение и указываете на эпюре М1 ординаты под центрами тяжести фигур эпюры Mx. Каждая ордината на треугольной части эпюры М1 равна реакции в вершине треугольника (в нашем примере это
), умноженной на расстояние до центра тяжести соответствуюшей фигуры на эпюре Мx.
В нашем случае это расстояние до центра тяжести треугольника на эпюре Мx , т.е.
.
Эта величина получилась как
.
Ордината на эпюре М1 под центром тяжести треугольника на эпюре Мx получается равной
Криволинейный участок эпюры Мx расслоили, представив его в виде суммы трех фигур - это прямоугольник, треугольник и горбушка. Высота горбушки при основании
равна
Рис.5
Угол поворота на правом конце балки
Другой пример на расслоение эпюр
Дана уже построенная эпюра Мx (Рис.6) и показаны фигуры, на которые она разбивается при расслоении.
Рис.6
Пример 3 Определение допустимой нагрузки. Теорема Штейнера.
Для заданной балки и заданного сечения (рис.7) определить допустимое значение нагрузки Fдоп. Дано: l, a, σт, nт.
Решение
Допустимую нагрузку определяют из условия прочности:
. (1)
В этом выражении
- допустимое напряжение, оно равно
.
Максимальное напряжение σmax =
. Чтобы определить это максимальное
напряжение, надо знать максимальный изгибающий момент. Поэтому сначала построим эпюры (рис.7). Согласно эпюре Мх, максимальный изгибающий момент
.
Рис.7
Для определения максимального напряжения
надо знать Jx – осевой момент инерции площади сечения относительно нейтральной линии (оси x), которая проходит через центр тяжести сечения. Поэтому, прежде всего надо найти положение центра тяжести сечения по формуле
Выберем вспомогательную ось x1, проведя ее через основание фигуры (рис.7).
Sx1 – статический момент площади сечения относительно этой вспомогательной оси x1. Разбиваем сечение на два прямоугольника. Статический момент каждой из фигур равен площади прямоугольника, умноженной на расстояние от центра тяжести этой площади до оси x1. В знаменателе формулы - площадь всего сечения А, yс – расстояние от вспомогательной оси x1 до центра тяжести всей фигуры:
.
На рис.7 отмечен центр тяжести сечения «С» на расстоянии 5а от оси x1 и показана эпюра нормальных напряжений σ.
Определяем моменты инерции обеих фигур по теореме Штейнера как собственный момент инерции плюс площадь фигуры, умноженная на квадрат расстояния от центра тяжести этой фигуры до нейтральной линии, т.е. до оси x:
.
Подставим полученные значения Jx и ymax в условие прочности (1), получим
,
откуда допустимое значение нагрузки равно
.
Пример 4 Статически неопределимая балка
Е
сли число неизвестных превышает число уравнений статики (уравнений равновесия), то задача является статически неопределимой. Решаем задачу методом сил, в котором в качестве неизвестных выбирают силовые факторы. Согласно методу сил, для решения статически неопределимой системы следует отбросить лишние связи и заменить их неизвестными силовыми факторами. Затем надо записать уравнения перемещений в каноническом виде. Уравнения перемещений дополняют уравнения равновесия. Общее число уравнений должно равняться числу неизвестных. Рассмотрим этот метод на примере статически неопределимой балки. Для балки, изображенной на рис. 8, построим эпюры изгибающих моментов Mx, поперечных сил Qy, изобразим изогнутую ось балки.
Решение
Характеристики
Тип файла документ
Документы такого типа открываются такими программами, как Microsoft Office Word на компьютерах Windows, Apple Pages на компьютерах Mac, Open Office - бесплатная альтернатива на различных платформах, в том числе Linux. Наиболее простым и современным решением будут Google документы, так как открываются онлайн без скачивания прямо в браузере на любой платформе. Существуют российские качественные аналоги, например от Яндекса.
Будьте внимательны на мобильных устройствах, так как там используются упрощённый функционал даже в официальном приложении от Microsoft, поэтому для просмотра скачивайте PDF-версию. А если нужно редактировать файл, то используйте оригинальный файл.
Файлы такого типа обычно разбиты на страницы, а текст может быть форматированным (жирный, курсив, выбор шрифта, таблицы и т.п.), а также в него можно добавлять изображения. Формат идеально подходит для рефератов, докладов и РПЗ курсовых проектов, которые необходимо распечатать. Кстати перед печатью также сохраняйте файл в PDF, так как принтер может начудить со шрифтами.















