Технология гибки металла
ЛЕКЦИЯ 10
Технология гибки металла
Многие детали корпуса, как листовые, так и профильные, приходится подвергать гибке. Общее число гнутых листовых деталей составляет 10–16%, профильных – 4–6%, а трудоемкость их гибки – соответственно около 32 и 7% общей трудоемкости изготовления деталей.
По форме и сложности кривизны листовые и профильные детали корпуса разделяют на 13 групп (рис.10.1). Листовые детали с погибью в одном направлении (цилиндрической или конической формы) относятся к деталям с простой кривизной, с погибью в двух направлениях – к деталям со сложной (двоякой) кривизной. Классификация форм деталей дает возможность разработать типовые технологические процессы гибки применительно к принятому гибочному оборудованию.

Рис. 10.1. Типовые формы гнутых деталей корпуса
а–листовые; б–профильные; 1–цилиндрические; 2–конические; 3–угловые; 4–коробчатые; 5–сферические; 6–парусовидные, 7–седлообразные;
8–веерообразные; 9–волнообразные; 10–комбинированные;
11, 12, 13–переменной, постоянной и знакопеременной кривизны
Рекомендуемые материалы
В настоящее время в судостроении технологические процессы гибки в основном выполняют в холодном состоянии или с применением местных нагревов. Горячую гибку с общим нагревом заготовок применяют в исключительных случаях, например при необходимости согнуть деталь на радиус, меньший предельно допустимого.
Гибка поперечным изгибом (свободная) и в упор (гибка – штамповка) выполняется на гидравлических и механических прессах, валковых листогибочных машинах, фланцегибочных станках, на станках типа ЛГС, в том числе и раскаткой.
В валковых листогибочных машинах гибку листов производят путем непрерывной прокатки заготовки между вращающимися валками с одновременным воздействием изгибающего момента, вызванного сосредоточенной силой (поперечный изгиб). В результате заготовка получает цилиндрическую, а при прокатке по отдельным участкам коническую форму. Применяя прокладки или раскатку, на валковых машинах можно гнуть также детали парусовидной, седлообразной и более сложных форм, при небольшой стрелке продольной и поперечной погиби (Рис. 10.1, 2 )

Рис.10.1. Последовательность изготовления детали конической формы:
а – подгибка кромки; б – гибка средней части.

Рис.10.2. Изготовление листа парусовидиой формы с помощью одной (а) и трех прокладок (б)
По количеству валков листогибочные машины разделяют на трех и четырех валковые. По методу закрепления верхнего валка машины бывают открытого и закрытого типов. У машин открытого типа верхний валок вращается в двух концевых подшипниках, один из которых делается откидным. Это позволяет гнуть замкнутые цилиндрические и конические детали и снимать их, сдвигая вдоль верхнего валка при откинутом подшипнике. Машины закрытого типа имеют промежуточные роликовые опоры верхнего валка, закрепленные на верхней подвижной траверсе. Как правило, машины закрытого типа изготовляют большой мощности со значительной длиной рабочей части валков (до 17 м).
При изготовлении листов цилиндрической и конической формы в трехвалковых листогибочных вальцах (рис. 10.3 а) необходима подгибка кромок листов. Она производится на гидравлическом прессе или на вальцах при помощи подкладного листа или клиновой прокладки (рис 10, 4, 5, 6). На машинах, показанных на рис. 10.3, б и в подгибку кромки можно выполнять перемещением валков.

Рис. 10.3. Листогибочные машины:
трехвалковые с верхним валком, перемещающимся вертикально (а); вертикально и горизонтально (б); в – четырехвалковые, где 1 – верхний валок; 2 и 4 – боковые валки; 3 – нижний валок.

Рис. 10.4. Подгибка кромок листа перед гибкой с помощью подкладного листа: а – перед подгибкой: б – момент подгибки.

Рис. 10.5. Подгибка кромок листов на вальцах с помощью клиновой прокладки: а— перед подгибкой; б—подгибка при помощи верхнего валка.

Рис. 10.6. Схема подгибки кромок листа на вальцах закрытого типа
1 – бугель; 2 – пуансон; 3 – матрица; 4 – изгибаемый лист.
На гидравлических прессах могут быть изогнуты листы всех типов, однако целесообразно их применять для листов сложной погиби, которые не могут быть согнуты на валковых машинах (гибка на последних менее трудоемка). Развиваемые консольными прессами усилия обычно составляют 200—10000 тс. Холодная гибка листов осуществляется с помощью наборов различных штампов, в основном универсальных, имеющих сменный комплект матриц и пуансонов (рис. 10.7).
Нужную форму листа получают последовательным обжимом заготовки в направлении от одной кромки к другой. Для поддержания заготовки и ее перемещения прессы оборудуют местными кранами. На крупнейших прессах используют специальные тележки-манипуляторы.
Для отгибки фланцев применяют также фланцегибочные станки. Лист зажимают между столом и траверсой. К выступающей на ширину "фланца" полосе листа прикладывают консольно усилие с помощью поворотной рамы или накатывающегося вала.
На станках типа ЛГС (рис.10.8) производят гибку листов разнообразной формы, прокатывая их между нажимным диском 3 и ведущим роликом с угловым и радиусным ручьями и с цилиндрической частью. Диск передает на лист 2 сосредоточенное регулируемое усилие. Свободную гибку выполняют на двух опорах с последовательным перемещением прокатываемого листа. В процессе свободной гибки лист приобретает одинарную кривизну. По этому принципу на оснастке с радиусным ручьем изгибают листы простой погиби, на оснастке с угловым ручьем отфланцовывают листы, а на оснастке с фигурным ручьем (при наличии такового) гофрируют листы.

Рис. 10.7. Универсальный штамп для гибки листов под гидравлическим прессом (а); угловой (б) и парусовидный (в) комплекты штампов.
1 – пуансон и 2 – матрица цилиндрического комплекта штампов.
При гибке в упор происходит местная вытяжка волокон, распространяемая во всех направлениях (меньше вдоль и больше поперек движения нажимного диска), при этом лист приобретает двоякую кривизну (рис. 10.8). Основываясь на этом принципе, на цилиндрической оснастке без ручьев гнут листы сложной погиби.
В частности, разработан метод ротационно-локального давления при формообразовании листов парусовидной формы, обеспечивающей принципиальную возможность автоматизации гибочного производства при снижении металлоемкости и энергоемкости оборудования. Опытный станок МГПС-25 используется на Российской судоверфи.

Рис. 10.8. Варианты гибки на машинах ЛГС
Сущность гибки листов местными нагревами заключается в нагреве участка 2 листа источником 1 на половину его толщины (рис.10.9, а). Расширяющийся металл, встречая сопротивление окружающей холодной зоны, испытывает пластические деформации сжатия. При последующем охлаждении возникают усилия F, стягивающие прилегающие зоны и приводящие к изгибу листа. При нагреве листа перемещающимся источником по параллельным линиям 3 (см. рис.10.9, б) он приобретает цилиндрическую форму, а при секторном (по расходящимся прямым) – коническую.
Для гибки листов двоякой кривизны дополнительно нагревают в перпендикулярном направлении те участки листа, на которых надо добиться сокращения длины волокон. Для ускорения процесса рекомендуется предварительно изгибать листы по цилиндрической поверхности на валковых машинах, прикладывать к кромкам листов изгибающие моменты или применять одновременный нагрев несколькими источниками, расположенными на общем передвигающемся вдоль листа портале.

Рис. 10.9. Гибка листов местными нагревами
Штамповка заключается в придании листу пространственной формы с помощью жесткого пуансона, который вдавливает лист по всей поверхности в сопряженную матрицу. Так как количество одинаковых деталей в составе корпуса невелико, применение штамповки сопряженными пуансоном и матрицей обычно нецелесообразно.
Развитие электронно-вычислительной техники и программного управления машинами позволило разработать процесс автоматизированной гибки листов сложной кривизны на многоплунжерном прессе с программным управлением и в 1969 г. в ГДР была изготовлена первая опытная многоплунжерная машина для автоматизированной гибки судокорпусной стали.
Гибка профильных деталей может осуществляться с помощью различных видов оборудования. При свободной гибке поперечным изгибом на горизонтальных гибочных прессах типа «Бульдозер» (рис.10.10) изгибаемый профиль 3 опирается на опоры 2, закрепленные на траверсе 1, и изгибается толкателем 4. Настройка пресса на гибку по требуемому радиусу производится изменением хода толкателя при помощи клина 5, изменением расстояния между опорами винтом 6 и перемещением траверсы с помощью червячных пар 7 и винтов 8. На прессе обычно гнут бимсы, продольный набор, шпангоуты с небольшой кривизной (до 100 мм/м), а также правят профили (устраняют и сварочные деформации).
"3 Характеристика законности и правопорядка" - тут тоже много полезного для Вас.

Рис. 10.10. Схема горизонтального гибочного пресса типа «Бульдозер»

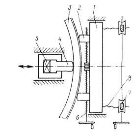
Рис. 10.11 Кольцегибочный станок.
На кольцегибочных станках (рис.10.11), в основном, гнут заготовки с постоянной кривизной, хотя кривизна может быть переменной или знакопеременной. Гибка осуществляется путем неоднократной прокатки заготовки 3 между ведущими 6 и нажимным 2 валками при постепенном увеличении нажима. Для предупреждения потери устойчивости при гибке «на стенку» (если отношение высоты стенки к ее толщине более 7,5) иногда применяют локальный нагрев заготовки индукторами 1 ТВЧ. В этом случае гибка выполняется обычно за один проход. С помощью струи воды 5 сужается зона локального нагрева 4 заготовки и может производиться закалка последней.
Профили можно гнуть также на станке ЛГС путем раскатки волокон на цилиндрической части ведущего ролика, а также на гидравлическом прессе в упор и свободной гибкой в специальных штампах.























