Главная » Учебные материалы » Теория механизмов и машин (ТММ) » Курсовые работы » МГТУ им. Н.Э.Баумана » 5 семестр » Номер 96 » Вариант Б » Проектирование и исследование механизмов стенда для испытаний мотор-колес
Для студентов МГТУ им. Н.Э.Баумана по предмету Теория механизмов и машин (ТММ)Проектирование и исследование механизмов стенда для испытаний мотор-колесПроектирование и исследование механизмов стенда для испытаний мотор-колес
5,0052
2025-04-07СтудИзба

Курсовая работа 96: Проектирование и исследование механизмов стенда для испытаний мотор-колес вариант Б

-50%

Описание

Проектирование и исследование механизмов стенда для испытаний мотор-колес

Реферат

Расчетно-пояснительная записка к курсовому проекту "Проектирование и исследование механизмов стенда для испытаний мотор колес" содержит 41 страницу машинописного текста, 20 рисунков, 11 таблиц.
В расчетно-пояснительной записке приведено: проектирование основного механизма двигателя, определение закона движения звена приведения, расчет коэффициента неравномерности, кинетостатический силовой расчет основного рычажного механизма, проектирование цилиндрической эвольвентной зубчатой передачи, проектирование однорядного планетарного механизма, проектирование кулачкового механизма.

Содержание

Оглавление стр.
Техническое задание на проектирование5
1.Определение закона движения механизма 10
1.1.Постановка задачи 10
1.2.Синтез основного механизма 10
1.2.1.Исходные данные 10
1.2.2.Определение размеров механизма 10
1.3.Определение кинематических передаточных функций 10
1.4.Построение индикаторной диаграммы 13
1.5.Построение диаграммы приведенных моментов 14
1.6.Построение диаграмм приведенных моментов15
1.7. Построение диаграмм работы сил сопротивления, движущей силы и суммарной работы. 18
1.8.Построение диаграмм кинетических энергий 19
1.9.
1.10
1.11
1.12
Определение приведенного момента инерции первой группы звеньев.
Определение закона движения
Расчет начальной кинетической энергии механизма
Выбор параметров маховика
20
20
21
21
2.Силовой расчет механизма 23
2.1. Исходные данные для силового расчета механизма 23
2.2.Построение планов скоростей и ускорений 23
2.2.1.Построение плана скоростей 23
2.2.2.Построение плана ускорений 24
2.3.Определение главных векторов и главных моментов сил инерции 25
2.4. Кинетостатический силовой расчет механизма 21
2.4.1. Группа звеньев 2-3 , 4-5 25
2.4.2.Звено 1 26
3.Проектирование цилиндрической эвольвентной зубчатой передачи и планетарного редуктора 28
3.1.Проектирование зубчатой передачи 28
3.1.1.Исходные данные для проектирования 28
3.1.2.Геометрический расчет зацепления 28
3.1.3.Выбор коэффициентов смещения 30
3.2.Проектирование планетарного редуктора 31
3.2.1.Исходные данные 31
3.2.2.Условия подбора чисел зубьев 31
3.2.3. Подбор чисел зубьев 32
4. Проектирование кулачкового механизма 34
4.1.Исходные данные для проектирования 34
4.2.Построение кинематических диаграмм 34
4.3.Определение основных размеров кулачкового механизма 37
4.4.Построение центрового и конструктивного профилей кулачка 39
4.5.Построение диаграммы углов давления 39
Заключение 40
Литература 41

Техническое задание

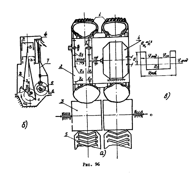
Стенд для обкатки мотор-колес (рис. 96 а) предназначен для обкатки мотор колес транспортных машин и проведения испытаний колесных редукторов.
Испытуемое колесо I с встроенным в него планетарным редуктором 2 (колеса Z1 - Z6) опирается на ролик 3, который с помощью гидравлической системы непрерывно поджимается к колесу с заданным усилием.
Колесо I приводится в движение от электродвигателя 4. При вращении колеса I ролик 3 также вращается, но в противоположном направлении. Чтобы создать момент сопротивления на колесе I, в контакт с роликом 3 вводится второе, идентичное первому, мотор-колесо 5, которое приторможено и создает на колесе I определенный крутящий момент сопротивления. Электродвигатель 4 питается от электрогенератора, приводимого в действие от четырехтактного двухцилиндрового двигателя, кривошипно-ползунный механизм которого (рис. 96 б) состоит из трех звеньев: кривошипа I, шатуна 2, поршня 3. Цикл работы четырехтактного двигателя осуществляется за два оборота коленчатого вала. Данные для построения индикаторной диаграммы работы этого двигателя приведены в таблице 96.2. Рабочий цикл второго цилиндра смещен относительно рабочего цикла на 180о. Механизм газораспределения двигателя состоит из кулачков 5, закрепленных на распределительном валу 6 (ось 0), и толкателей 7, воздействующих на впускные (или выпускные) клапаны 4. Кулачковый механизм должен обеспечивать заданный закон движения толкателя (рис. 96в).
Для вращения колес I с заданным числом оборотов между колесом I и электродвигателем 4 установлен планетарный редуктор 2 (см. рис. 96а). Запуск двигателя (рис96 б). начинается с нижней мертвой точки ( при φ1 = 0), т.е. с начала участка расширения в первом цилиндре (при ω1нач = 0)

Объем и содержание курсового проекта

  • Лист 1. Проектирование основного механизма двигателя и определение его закона движения
1. Определение основных размеров звеньев механизма по заданным условиям (средняя скорость поршня; число оборо­тов коленчатого вала; отношение длины шатуна к длине кривошипа).
2. Построение диаграммы изменения угловой скорости коленчатого вала двигателя за время одного цикла устано­вившегося режима и размеров и параметров маховика
Примечание 1. Веса звеньев и их моменты инерции даны ориентировочно.
2. Центры тяжестей поршней S3 и S3расположены соответственно в точках В и С. Центр тяжести коленчатого вала расположен на его оси вращения.
  • Лист 2. Силовой расчет основного механизма двигателя с учетом динамических нагрузок
1. Определение углового ускорения звена приведения по уравнению движения в дифференциальной форме (на осно­вании исследования, выполненного на листе 1 проекта) в положении механизма, соответствующее заданному углу j1.Определение линейных ускорений центров тяжести и угло­вых ускорении звеньев.
2. Построение картины силового нагружения механизма.
3. Определение сил и кинематических парах механизма.
4. Оценка точности расчетов, выполненных на листах 1 и 2 проекта, по уравнению моментов или уравнению сил для ведущего или ведомого звена механизма.
  • Лист 3. Проектирование стартерной зубчатой передачи и планетарного редуктора
1. Выполнение геометрического расчета эвольвентной зуб­чатой передачи
2. Построение схемы станочного зацепления при нарезании колеса с меньшим числом зубьев и профилирование зуба (включая галтель) методом огибания.
3. Вычерчивание схемы зацепления колес с указанием основных размеров и элементов колес и передачи.
4. Проектирование планетарною редуктора (подбор чисел зубьев) по заданному передаточному отношению i8-11 редуктора и числу сателлитов. Допустимое отклонение iред±5%. Колеса планетарною редуктора нулевые; модуль колес ра­мен 4 мм.
5. Определение передаточного отношения, линейных скоростей и чисел оборотов звеньев спроектированного редуктора графическим способом.
  • Лист 4. Проектирование кулачкового механизма привода выхлопного клапана.
1. Построение кинематических диаграмм движения толкателя (ускорения, скорости, перемещения), но заданному закону изменения ускорения толкателя (рис. 13-4а).
2. Определение основных размеров кулачкового механизма с центральным толкателем при наименьших габаритах с учетом максимально допустимого угла давления aДОП.
3. Построение профиля кулачка (центрового и конструктивного).
4. Построение диаграммы угла давления в функции угла поворота кулачка.

Исходные данные

Таблица 1.

ц/п
Наименование параметраОбозначениеЕдиница СИБ
1Средняя скорость поршняVсрм/сек6.5
2Отношения длинны шатуна к длине кривошипаlAB /lOA ;lAC /lOA--3.75
3Отношение расстояния от точки А до центра тяжести шатуна к длине шатунаlAS2 /lAB ;
lAS4 /lAC
--0,26
4Диаметр цилиндровdм0.14
5Частота вращения коленчатого вала двигателяω1 сек-1255
6Максимальное давление в цилиндре двигателя при номинальной нагрузкеPmaxМПа6.08
7Масса шатуна 2 двигателяm2Н4.2
8Масса поршня 3 двигателяM3Н6.2
9Момент инерции шатуна относительно оси, проходящей через его центр тяжестиI2S Кг*м20.0153
10Момент инерции коленчатого валаI`1Кг*м20.043
11Коэффициент неравномерности вращения коленчатого вала при х.д. двигателя -1/32
12Угловая координата кривошипа для силового расчета j1Град60
13Эффективная мощность двигателя при номинальной N 1кВт140
14Механический КПД двигателяη1-0.83
15Максимальный ход ролика толкателя (по дуге)hм0,021
16Приведенный к валу двигателя момент инерции вращающихся деталей мотор-колесIпр0Кг*м­­28.1
17Соотношения между ускорениями толкателяa1/ a2-2.5
15Угловая координата начала открытия выхлопного клапана (начала подъема толкателя)jподГрад75
16Угловая координата конца закрытия выхлопного клапана (рис. 13-4б) – конца спуска толкателяjспГрад42
17Максимально допустимый угол давления[q]Град35
21Передаточное отношение планетарного редуктораuред-22
22Число сателлитов в планетарном редуктореk-3

23
Модуль зубчатых колес
Число зубьев шестерни
Передаточное отношение зубчатой пары колесо-шестерня
mмм4
z1-13
u-1.7

Режим работыТак тыПеремещение поршня (в долях хода H)
00.050.10.20.30.4
0.5
0.60.70.80.91.0

Холост ой ход
I-0,018-0,018-0,018-0,018-0,018-0,018-0,018-0,018-0,018-0,018-0,018-0,018
II0.600.470.380.2550.1680.110.0650.0030.0020.0010,0008-0,018
III0.600.600.520.350.250.1850.1280.090.070.0550.050.04
IV0,0180,0180,0180,0180,0180,0180,0180,0180,0180,0180,0180,018

Чертежи

Лист 1 - Определение закона движения

Лист 2 - Силовой расчет

Лист 3 - Проектирование зубчатой передачи

Лист 4 - Проектирование кулачкового механизма

Характеристики курсовой работы

Учебное заведение
Семестр
Номер задания
Вариант
Просмотров
510
Качество
Идеальное компьютерное
Размер
2,84 Mb

Список файлов

Проектирование и исследование механизмов стенда для испытаний мотор-колес
Индикаторная диаграмма.xlsx
Кулачок.xlsx
Лист (1).cdw
Лист (2).cdw
Лист (3).cdw
Лист (4).cdw
Моменты инерции.xlsx
РПЗ - Маткад - Лист (1).xmcd
РПЗ - Маткад - Лист (2).xmcd
РПЗ - Маткад - Лист (3).xmcd
РПЗ - Маткад - Лист (4).xmcd
Титульный лист. Содержание.docx
Энергии и моменты силы.xlsx
Картинка-подпись
Вам все понравилось? Получите кэшбэк - 40 рублей на Ваш счёт при покупке. Поставьте оценку и напишите положительный комментарий к купленному файлу. После Вы получите деньги на ваш счет.

Комментарии

Нет комментариев
Стань первым, кто что-нибудь напишет!
Поделитесь ссылкой:
Цена: 5 000 2 490 руб.
Расширенная гарантия +3 недели гарантии, +10% цены
Рейтинг покупателей
5 из 5
Поделитесь ссылкой:
Сопутствующие материалы

Подобрали для Вас услуги

Вы можете использовать курсовую работу для примера, а также можете ссылаться на неё в своей работе. Авторство принадлежит автору работы, поэтому запрещено копировать текст из этой работы для любой публикации, в том числе в свою курсовую работу в учебном заведении, без правильно оформленной ссылки. Читайте как правильно публиковать ссылки в своей работе.
Свежие статьи
Популярно сейчас
Как Вы думаете, сколько людей до Вас делали точно такое же задание? 99% студентов выполняют точно такие же задания, как и их предшественники год назад. Найдите нужный учебный материал на СтудИзбе!
Ответы на популярные вопросы
Да! Наши авторы собирают и выкладывают те работы, которые сдаются в Вашем учебном заведении ежегодно и уже проверены преподавателями.
Да! У нас любой человек может выложить любую учебную работу и зарабатывать на её продажах! Но каждый учебный материал публикуется только после тщательной проверки администрацией.
Вернём деньги! А если быть более точными, то автору даётся немного времени на исправление, а если не исправит или выйдет время, то вернём деньги в полном объёме!
Да! На равне с готовыми студенческими работами у нас продаются услуги. Цены на услуги видны сразу, то есть Вам нужно только указать параметры и сразу можно оплачивать.
Отзывы студентов
Ставлю 10/10
Все нравится, очень удобный сайт, помогает в учебе. Кроме этого, можно заработать самому, выставляя готовые учебные материалы на продажу здесь. Рейтинги и отзывы на преподавателей очень помогают сориентироваться в начале нового семестра. Спасибо за такую функцию. Ставлю максимальную оценку.
Лучшая платформа для успешной сдачи сессии
Познакомился со СтудИзбой благодаря своему другу, очень нравится интерфейс, количество доступных файлов, цена, в общем, все прекрасно. Даже сам продаю какие-то свои работы.
Студизба ван лав ❤
Очень офигенный сайт для студентов. Много полезных учебных материалов. Пользуюсь студизбой с октября 2021 года. Серьёзных нареканий нет. Хотелось бы, что бы ввели подписочную модель и сделали материалы дешевле 300 рублей в рамках подписки бесплатными.
Отличный сайт
Лично меня всё устраивает - и покупка, и продажа; и цены, и возможность предпросмотра куска файла, и обилие бесплатных файлов (в подборках по авторам, читай, ВУЗам и факультетам). Есть определённые баги, но всё решаемо, да и администраторы реагируют в течение суток.
Маленький отзыв о большом помощнике!
Студизба спасает в те моменты, когда сроки горят, а работ накопилось достаточно. Довольно удобный сайт с простой навигацией и огромным количеством материалов.
Студ. Изба как крупнейший сборник работ для студентов
Тут дофига бывает всего полезного. Печально, что бывают предметы по которым даже одного бесплатного решения нет, но это скорее вопрос к студентам. В остальном всё здорово.
Спасательный островок
Если уже не успеваешь разобраться или застрял на каком-то задание поможет тебе быстро и недорого решить твою проблему.
Всё и так отлично
Всё очень удобно. Особенно круто, что есть система бонусов и можно выводить остатки денег. Очень много качественных бесплатных файлов.
Отзыв о системе "Студизба"
Отличная платформа для распространения работ, востребованных студентами. Хорошо налаженная и качественная работа сайта, огромная база заданий и аудитория.
Отличный помощник
Отличный сайт с кучей полезных файлов, позволяющий найти много методичек / учебников / отзывов о вузах и преподователях.
Отлично помогает студентам в любой момент для решения трудных и незамедлительных задач
Хотелось бы больше конкретной информации о преподавателях. А так в принципе хороший сайт, всегда им пользуюсь и ни разу не было желания прекратить. Хороший сайт для помощи студентам, удобный и приятный интерфейс. Из недостатков можно выделить только отсутствия небольшого количества файлов.
Спасибо за шикарный сайт
Великолепный сайт на котором студент за не большие деньги может найти помощь с дз, проектами курсовыми, лабораторными, а также узнать отзывы на преподавателей и бесплатно скачать пособия.
Популярные преподаватели
Добавляйте материалы
и зарабатывайте!
Продажи идут автоматически
6891
Авторов
на СтудИзбе
268
Средний доход
с одного платного файла
Обучение Подробнее
{user_main_secret_data}