Для студентов по предмету Теоретическая механикаЗадача 26Задача 26
2013-09-042013-09-04СтудИзба
Задача Д10: Задача 26 вариант 26
Описание
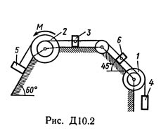
Механическая система состоит из однородных ступенчатых шкивов 1 и 2, обмотанных нитями, грузов 3 - 6, прикрепленных к этим нитям, и невесомого блока (рис. Д10.0 - Д10.9, табл. Д10). Система движется в вертикальной плоскости под действием сил тяжести и пары сил с моментом М, приложенной к одному из шкивов. Радиусы ступеней шкива 1 равны: R1 = 0,2 м, r1 = 0,1 м, а шкива 2 - R2 = 0,3 м, r2 = 0,15 м; их радиусы инерции относительно осей вращения равны соответственно ρ1 = 0,1 м и ρ2 = 0,2 м.
Пренебрегая трением, определить ускорение груза, имеющего больший вес; веса Р1, …, Р6 шкивов и грузов заданы в таблице в ньютонах. Грузы, веса которых равны нулю, на чертеже не изображать (шкивы 1, 2 изображать всегда как части системы).
![]()
Пренебрегая трением, определить ускорение груза, имеющего больший вес; веса Р1, …, Р6 шкивов и грузов заданы в таблице в ньютонах. Грузы, веса которых равны нулю, на чертеже не изображать (шкивы 1, 2 изображать всегда как части системы).


Характеристики решённой задачи
Предмет
Номер задания
Вариант
Теги
Просмотров
177
Размер
312,72 Kb
Список файлов

Зарабатывай на студизбе! Просто выкладывай то, что так и так делаешь для своей учёбы: ДЗ, шпаргалки, решённые задачи и всё, что тебе пригодилось.
Начать зарабатывать
Начать зарабатывать