Для студентов МФПУ «Синергия» по предмету Технология строительных процессовТехнология строительных процессов.ти (тест с ответами Синергия/МОИ/ МТИ /МОСАП)Технология строительных процессов.ти (тест с ответами Синергия/МОИ/ МТИ /МОСАП)
5,005496
2025-04-182025-04-18СтудИзба
Ответы к заданиям: Технология строительных процессов.ти (тест с ответами Синергия/МОИ/ МТИ /МОСАП)
Хит
Описание
1. Кто утверждает проект производства работ?
*Технический заказчик
*Проектная организация
*Генеральная подрядная организация
*Главный инженер генеральной подрядной организации
2. Что применяют для дисперсного армирования?
*Отдельные прутья, арматурные пряди, канаты
*Плоские арматурные каркасы или сетки
*Объемные арматурные каркасы
*Рубленую проволоку диаметром до 2,5 мм
3. Что не входит в состав ПОС?
*Строительный генеральный план
*Технико-экономические показатели
*Расчет временных зданий и сооружений
*Техника безопасности и охрана труда
4. Для чего применяют несъемную опалубку?
*Для возведения вертикальных конструкций зданий и сооружений постоянного сечения
*Для бетонирования крупноразмерных и массивных конструкций
*Для бетонирования замкнутых отдельно стоящих конструкций
*Для возведения конструкций без распалубливания, создания гидроизоляции, облицовки, утепления
5. Что относится к транспортным техническим средствам (орудиям труда)?
*Строительные машины и механизмы, которые непосредственно участвуют в выполнении строительных процессов
*Различного рода оснастка, без которой невозможно или неэффективно выполнение строительных процессов
*Различные средства для перевозки материалов и конструкций
6. Кто утверждает проектную документацию?
*Технический заказчик
*Проектная организация
*Генеральная подрядная организация
*Главный инженер генеральной подрядной организации
7. Какой этап является пятым в процессе установки перекрытий?
*Подготовительный этап
*Замешивание раствора
*Выравнивание плиты
*Анкеровка
8. Кто составляет проект производства работ?
*Технический заказчик
*Проектная организация
*Генеральная подрядная организация
*Главный инженер генеральной подрядной организации
9. Что обозначено цифрой «1» на схеме кондуктора для временного закрепления балок и ферм?
*Колонна
*Рама кондуктора
*Балка или ферма
*Зажимные винты
10. Что обозначено цифрой «2» на схеме кондуктора для временного закрепления балок и ферм?
*Колонна
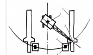
*Рама кондуктора
*Балка или ферма
*Зажимные винты
11. Что обозначено цифрой «3» на схеме кондуктора для временного закрепления балок и ферм?
*Колонна
*Рама кондуктора
*Балка или ферма
*Зажимные винты
12. Что обозначено цифрой «4» на схеме кондуктора для временного закрепления балок и ферм?
*Колонна
*Рама кондуктора
*Балка или ферма
*Зажимные винты
13. Какой этап является вторым в процессе установки перекрытий?
*Подготовительный этап
*Замешивание раствора
*Выравнивание плиты
*Анкеровка
14. Что применяют для линейного армирования?
*Отдельные прутья, арматурные пряди, канаты
*Плоские арматурные каркасы или сетки
*Объемные арматурные каркасы
*Рубленую проволоку диаметром до 2,5 мм
15. Что такое строительный процесс?
*Совокупность строительных процессов, выполняемых непосредственно на строительной площадке
*Совокупность рабочих операций, технологически связанных между собой и направленных на получение конечной строительной продукции
*Затраты труда (времени) для выполнения определенного объема работ
*Время, необходимое для создания единичной продукции заданного качества одним рабочим в условиях правильной организации труда и с соблюдением технологии выполнения процесса
16. Что обозначено цифрой «3» на схеме разбивки осей фундамента стаканного типа?
*Обноска
*Проволока
*Отвес
*Колышки
17. Что обозначено цифрой «5» на схеме разбивки осей фундамента стаканного типа?
*Обноска
*Проволока
*Отвес
*Колышки
18. Что обозначено цифрой «6» на схеме разбивки осей фундамента стаканного типа?
*Обноска
*Проволока
*Отвес
*Колышки
19. Что применяется для разравнивания грунтов, разработанных землеройными машинами?
*Экскаваторы одноковшовые
*Экскаваторы многоковшовые
*Тракторные скреперы
*Бульдозеры
20. Для какого типа свай характерно использование обсадной трубы из стали с башмаком на окончании, которая погружается в землю специальным механизмом, а при достижении проектной глубины засыпается песком?
*Буронабивная свайная конструкция с башмаком
*Пневмотрамбованная набивная свая
*Набивная свая из песка
*Грунтобетонная опора
21. Через сколько часов распалубливают вертикальные щиты фундаментов, колонн, стен, ригелей?
*8-72 ч
*10-36 ч
*5-56 ч
*15-45 ч
22. Какой тип фундамента применяется при строительстве индивидуальных домов из любых материалов?
*Незаглубленный
*Мелкозаглубленный Т-образного сечения
*Заглубленный прямоугольного сечения
*Заглубленный Т-образного сечения
23. Для чего применяют крупнощитовую опалубку?
*Для возведения вертикальных конструкций зданий и сооружений постоянного сечения
*Для бетонирования крупноразмерных и массивных конструкций
*Для бетонирования замкнутых отдельно стоящих конструкций
*Для возведения конструкций без распалубливания, создания гидроизоляции, облицовки, утепления
24. Что применяют для объемного армирования?
*Отдельные прутья, арматурные пряди, канаты
*Плоские арматурные каркасы или сетки
*Объемные арматурные каркасы
*Рубленую проволоку диаметром до 2,5 мм
25. Какой раздел не входит в состав технологической карты?
*Раздел «область применения»
*Раздел «операционный контроль качества работ»
*Раздел «нормативные документы»
*Раздел «охрана труда»
26. Что применяется для отрывки грунта при разработке всякого рода выемок и производстве вскрышных работ?
*Экскаваторы одноковшовые
*Экскаваторы многоковшовые
*Тракторные скреперы
*Бульдозер
27. Что такое система перевязки швов?
*Шов между соседними горизонтальными рядами
*Определенный порядок чередования ложковых и тычковых рядов
*Ряд кирпичной кладки, который выходит на внутреннюю поверхность
*Ряды, размещенные между внутренней и наружной верстами
28. Что на схеме «Разбивка осей траншеи и перенос отметок на ее дно» обозначено цифрой «1»?
*Визирка постоянная
*Визирка ходовая
*Обноска
29. Что на схеме «Разбивка осей траншеи и перенос отметок на ее дно» обозначено цифрой «3»?
*Визирка постоянная
*Визирка ходовая
*Обноска
30. Что не является исходными данными при выборе крана по техническим показателям?
*Габариты и объемно-планировочные решения здания
*Вес и размеры монтируемых элементов
*Погодные явления
*Принятые методы монтажа сооружения
31. Кто составляет проект организация строительства?
*Технический заказчик
*Проектная организация
*Генеральная подрядная организация
*Главный инженер генеральной подрядной организации
32. Для чего применяют скользящую опалубку?
*Для возведения вертикальных конструкций зданий и сооружений постоянного сечения *Для бетонирования крупноразмерных и массивных конструкций
*Для бетонирования замкнутых отдельно стоящих конструкций
*Для возведения конструкций без распалубливания, создания гидроизоляции, облицовки, утепления
33. Какой тип развития процессов во времени представлен на схеме?
*Последовательный
*Параллельный
*Поточный
34. Какой тип развития процессов во времени представлен на схеме?
*Последовательный
*Параллельный
*Поточный
35. Какой тип развития процессов во времени представлен на схеме?
*Последовательный
*Параллельный
*Поточный
36. Что применяется для разработки выемок, возведения насыпей, планировки площадок и других работ?
*Экскаваторы одноковшовые
*Экскаваторы многоковшовые
*Тракторные скреперы
*Бульдозеры
37. Какой тип фундамента применяется при строительстве каркасных деревянных домов, зданий из пенобетонных блоков, кирпичного одноэтажного дома?
*Незаглубленный
*Мелкозаглубленный Т-образного сечения
*Заглубленный прямоугольного сечения
*Заглубленный Т-образного сечения
38. Что такое горизонтальный шов?
*Шов между соседними горизонтальными рядами
*Ряд кирпичной кладки, который выходит на внутреннюю поверхность
*Ряды, размещенные между внутренней и наружной верстами
*Определенный порядок чередования ложковых и тычковых рядов
39. Что такое кляммеры?
*Деревянный кровельный материал в виде тонких дощечек
*Верхний элемент крыши
*Узкие полоски из обрезков кровельной стали
*Внутренний угол пересечения двух плоскостей крыши
40. Что обозначено цифрой «1» на схематичном изображении дизельмолота?
*Штанга
*Цилиндр
*Поршень
*Камера сгорания
41. Что обозначено цифрой «2» на схематичном изображении дизельмолота?
*Штанга
*Цилиндр
*Поршень
*Камера сгорания
42. Что обозначено цифрой «3» на схематичном изображении дизельмолота?
*Штанга
*Цилиндр
*Поршень
*Камера сгорания
43. Что обозначено цифрой «4» на схематичном изображении дизельмолота?
*Штанга
*Цилиндр
*Поршень
*Камера сгорания
44. Что такое внутренняя верста?
*Шов между соседними горизонтальными рядами
*Ряд кирпичной кладки, который выходит на внутреннюю поверхность
*Ряды, размещенные между внутренней и наружной верстами
*Определенный порядок чередования ложковых и тычковых рядов
45. Какое направление развития строительных процессов в пространстве представлено на схеме?
*Вертикально-восходящая
*Вертикально-нисходящая
*Горизонтально-восходящая
*Горизонтально-нисходящая
46. Какое направление развития строительных процессов в пространстве представлено на схеме?
*Вертикально-восходящая
*Вертикально-нисходящая
*Горизонтально-восходящая
*Горизонтально-нисходящая
47. Какое направление развития строительных процессов в пространстве представлено на схеме?
*Вертикально-восходящая
*Вертикально-нисходящая
*Горизонтально-восходящая
*Горизонтально-нисходящая
48. Какое направление развития строительных процессов в пространстве представлено на схеме?
*Вертикально-восходящая
*Вертикально-нисходящая
*Горизонтально-восходящая
*Горизонтально-нисходящая
49. Что такое кровля?
*Деревянный кровельный материал в виде тонких дощечек
*Верхний элемент крыши
*Узкие полоски из обрезков кровельной стали
*Внутренний угол пересечения двух плоскостей крыши
50. Для какого типа свай характерно опускание в подготовленную полость скважины обсадной трубы с чугунным башмаком, который свободно закрепляется на нижнем окончании?
*Буронабивная свайная конструкция с башмаком
*Пневмотрамбованная набивная свая
*Набивная свая из песка
*Грунтобетонная опора
51. Что применяется для отрывки траншей шириной по дну до 1,8 м и глубиной до 3,5 м, а также для отрывки котлованов под ленточные фундаменты?
*Экскаваторы одноковшовые
*Экскаваторы многоковшовые
*Тракторные скреперы
*Бульдозеры
52. Что обозначено цифрой «1» на схеме подъема колонны в вертикальное положение способом скольжения?
*Монтажный кран
*Точка строповки колонны
*Точка установки колонны
*Фундамент
53. Что обозначено цифрой «2» на схеме подъема колонны в вертикальное положение способом скольжения?
*Монтажный кран
*Точка строповки колонны
*Точка установки колонны
*Фундамент
54. Что обозначено цифрой «4» на схеме подъема колонны в вертикальное положение способом скольжения?
*Монтажный кран
*Точка строповки колонны
*Точка установки колонны
*Фундамент
55. Что обозначено цифрой «5» на схеме подъема колонны в вертикальное положение способом скольжения?
*Монтажный кран
*Точка строповки колонны
*Точка установки колонны
*Фундамент
56. Какая система перевязки швов образуется чередованием тычковых и ложковых рядов и отличается высокой прочностью кладки?
*Однорядная (цепная)
*Многорядная
*Трехрядная
*Смешанная
57. Какие размеры имеет утолщенный кирпич?
*250*120*65 мм
*250*120*88 мм
*288*138*63 мм
*288*138*88 мм
58. Что такое трудоемкость работ?
*Совокупность строительных процессов, выполняемых непосредственно на строительной площадке
*Совокупность рабочих операций, технологически связанных между собой и направленных на получение конечной строительной продукции
*Затраты труда (времени) для выполнения определенного объема работ
*Время, необходимое для создания единичной продукции заданного качества одним рабочим в условиях правильной организации труда и с соблюдением технологии выполнения процесса
59. Как можно классифицировать вибраторы по способу воздействия на бетонную смесь?
*Глубинные, поверхностные, наружные
*Электромеханические, электромагнитные, пневматические, гидравлические
*Колебательные, вращательные
*Низкочастотные, среднечастотные, высокочастотные
60. Как можно классифицировать вибраторы по виду используемой энергии?
*Глубинные, поверхностные, наружные
*Электромеханические, электромагнитные, пневматические, гидравлические
*Колебательные, вращательные
*Низкочастотные, среднечастотные, высокочастотные
61. Как можно классифицировать вибраторы по способу возбуждения колебаний?
*Глубинные, поверхностные, наружные
*Электромеханические, электромагнитные, пневматические, гидравлические
*Колебательные, вращательные
*Низкочастотные, среднечастотные, высокочастотные
62. Для какого типа свай характерно применение бурильной установки, оборудованной специальной штанги, а также размещение смесительного бура с установленными плоскостями в виде лопастей?
*Буронабивная свайная конструкция с башмаком
*Пневмотрамбованная набивная свая
*Набивная свая из песка
*Грунтобетонная опора
63. Какой тип фундамента применяется при строительстве каркасных одноэтажных домов при расположении грунтовых вод близко к поверхности земли?
*Незаглубленный
*Мелкозаглубленный Т-образного сечения
*Заглубленный прямоугольного сечения
*Заглубленный Т-образного сечения
64. Какого вида технологической карты не существует?
*Типовая, не привязанная к строящемуся объекту
*Типовая, привязанная к строящемуся объекту
*Рабочая, не привязанная к строящемуся объекту
*Рабочая, привязанная к строящемуся объекту
65. Что такое строительное производство?
*Совокупность строительных процессов, выполняемых непосредственно на строительной площадке
*Совокупность рабочих операций, технологически связанных между собой и направленных на получение конечной строительной продукции
*Затраты труда (времени) для выполнения определенного объема работ
*Время, необходимое для создания единичной продукции заданного качества одним рабочим в условиях правильной организации труда и с соблюдением технологии выполнения процесса
66. Для чего применяют блочную опалубку?
*Для возведения вертикальных конструкций зданий и сооружений постоянного сечения
*Для бетонирования крупноразмерных и массивных конструкций
*Для бетонирования замкнутых отдельно стоящих конструкций
*Для возведения конструкций без распалубливания, создания гидроизоляции, облицовки, утепления
67. Какая система перевязки швов является разновидностью многорядной и образуется чередованием трех ложковых рядов и одного тычкового?
*Однорядная (цепная)
*Многорядная
*Трехрядная
*Смешанная
68. Какие размеры имеет утолщенный кирпич модульных размеров?
*250*120*65 мм
*250*120*88 мм
*288*138*63 мм
*288*138*88 мм
69. Какое условие не является обязательным при устройство каменной кладки?
*Действующая нагрузка перпендикулярна плоскости постели
*В состав бригады должно входить не менее 6 человек
*Плоскости камней, имеющих общее ребро, должны быть перпендикулярны
*Вертикальные швы должны перекрываться постелями вышерасположенных камней
70. Какой тип фундамента применяется при строительстве многоквартирных жилых домов, зданий общественного назначения?
*Незаглубленный
*Мелкозаглубленный Т-образного сечения
*Заглубленный прямоугольного сечения
*Заглубленный Т-образного сечения
71. Какой этап является четвертым в процессе установки перекрытий?
*Подготовительный этап
*Замешивание раствора
*Выравнивание плиты
*Анкеровка
72. На каком расстоянии друг от друга устанавливают обноски на прямых участках для линейно-протяженных сооружений?
*20 м
*30 м
*40 м
*50 м
73. Что относится к основным техническим средствам (орудиям труда)?
*Строительные машины и механизмы, которые непосредственно участвуют в выполнении строительных процессов
*Различного рода оснастка, без которой невозможно или неэффективно выполнение строительных процессов
*Различные средства для перевозки материалов и конструкций
74. Что применяют для плоского армирования?
*Отдельные прутья, арматурные пряди, канаты
*Плоские арматурные каркасы или сетки
*Объемные арматурные каркасы
*Рубленую проволоку диаметром до 2,5 мм
75. Что такое норма времени?
*Совокупность строительных процессов, выполняемых непосредственно на строительной площадке
*Совокупность рабочих операций, технологически связанных между собой и направленных на получение конечной строительной продукции
*Затраты труда (времени) для выполнения определенного объема работ
*Время, необходимое для создания единичной продукции заданного качества одним рабочим в условиях правильной организации труда и с соблюдением технологии выполнения процесса
*Технический заказчик
*Проектная организация
*Генеральная подрядная организация
*Главный инженер генеральной подрядной организации
2. Что применяют для дисперсного армирования?
*Отдельные прутья, арматурные пряди, канаты
*Плоские арматурные каркасы или сетки
*Объемные арматурные каркасы
*Рубленую проволоку диаметром до 2,5 мм
3. Что не входит в состав ПОС?
*Строительный генеральный план
*Технико-экономические показатели
*Расчет временных зданий и сооружений
*Техника безопасности и охрана труда
4. Для чего применяют несъемную опалубку?
*Для возведения вертикальных конструкций зданий и сооружений постоянного сечения
*Для бетонирования крупноразмерных и массивных конструкций
*Для бетонирования замкнутых отдельно стоящих конструкций
*Для возведения конструкций без распалубливания, создания гидроизоляции, облицовки, утепления
5. Что относится к транспортным техническим средствам (орудиям труда)?
*Строительные машины и механизмы, которые непосредственно участвуют в выполнении строительных процессов
*Различного рода оснастка, без которой невозможно или неэффективно выполнение строительных процессов
*Различные средства для перевозки материалов и конструкций
6. Кто утверждает проектную документацию?
*Технический заказчик
*Проектная организация
*Генеральная подрядная организация
*Главный инженер генеральной подрядной организации
7. Какой этап является пятым в процессе установки перекрытий?
*Подготовительный этап
*Замешивание раствора
*Выравнивание плиты
*Анкеровка
8. Кто составляет проект производства работ?
*Технический заказчик
*Проектная организация
*Генеральная подрядная организация
*Главный инженер генеральной подрядной организации
9. Что обозначено цифрой «1» на схеме кондуктора для временного закрепления балок и ферм?
*Колонна
*Рама кондуктора
*Балка или ферма
*Зажимные винты
10. Что обозначено цифрой «2» на схеме кондуктора для временного закрепления балок и ферм?
*Колонна
*Рама кондуктора
*Балка или ферма
*Зажимные винты
11. Что обозначено цифрой «3» на схеме кондуктора для временного закрепления балок и ферм?
*Колонна
*Рама кондуктора
*Балка или ферма
*Зажимные винты
12. Что обозначено цифрой «4» на схеме кондуктора для временного закрепления балок и ферм?
*Колонна
*Рама кондуктора
*Балка или ферма
*Зажимные винты
13. Какой этап является вторым в процессе установки перекрытий?
*Подготовительный этап
*Замешивание раствора
*Выравнивание плиты
*Анкеровка
14. Что применяют для линейного армирования?
*Отдельные прутья, арматурные пряди, канаты
*Плоские арматурные каркасы или сетки
*Объемные арматурные каркасы
*Рубленую проволоку диаметром до 2,5 мм
15. Что такое строительный процесс?
*Совокупность строительных процессов, выполняемых непосредственно на строительной площадке
*Совокупность рабочих операций, технологически связанных между собой и направленных на получение конечной строительной продукции
*Затраты труда (времени) для выполнения определенного объема работ
*Время, необходимое для создания единичной продукции заданного качества одним рабочим в условиях правильной организации труда и с соблюдением технологии выполнения процесса
16. Что обозначено цифрой «3» на схеме разбивки осей фундамента стаканного типа?
*Обноска
*Проволока
*Отвес
*Колышки
17. Что обозначено цифрой «5» на схеме разбивки осей фундамента стаканного типа?
*Обноска
*Проволока
*Отвес
*Колышки
18. Что обозначено цифрой «6» на схеме разбивки осей фундамента стаканного типа?
*Обноска
*Проволока
*Отвес
*Колышки
19. Что применяется для разравнивания грунтов, разработанных землеройными машинами?
*Экскаваторы одноковшовые
*Экскаваторы многоковшовые
*Тракторные скреперы
*Бульдозеры
20. Для какого типа свай характерно использование обсадной трубы из стали с башмаком на окончании, которая погружается в землю специальным механизмом, а при достижении проектной глубины засыпается песком?
*Буронабивная свайная конструкция с башмаком
*Пневмотрамбованная набивная свая
*Набивная свая из песка
*Грунтобетонная опора
21. Через сколько часов распалубливают вертикальные щиты фундаментов, колонн, стен, ригелей?
*8-72 ч
*10-36 ч
*5-56 ч
*15-45 ч
22. Какой тип фундамента применяется при строительстве индивидуальных домов из любых материалов?
*Незаглубленный
*Мелкозаглубленный Т-образного сечения
*Заглубленный прямоугольного сечения
*Заглубленный Т-образного сечения
23. Для чего применяют крупнощитовую опалубку?
*Для возведения вертикальных конструкций зданий и сооружений постоянного сечения
*Для бетонирования крупноразмерных и массивных конструкций
*Для бетонирования замкнутых отдельно стоящих конструкций
*Для возведения конструкций без распалубливания, создания гидроизоляции, облицовки, утепления
24. Что применяют для объемного армирования?
*Отдельные прутья, арматурные пряди, канаты
*Плоские арматурные каркасы или сетки
*Объемные арматурные каркасы
*Рубленую проволоку диаметром до 2,5 мм
25. Какой раздел не входит в состав технологической карты?
*Раздел «область применения»
*Раздел «операционный контроль качества работ»
*Раздел «нормативные документы»
*Раздел «охрана труда»
26. Что применяется для отрывки грунта при разработке всякого рода выемок и производстве вскрышных работ?
*Экскаваторы одноковшовые
*Экскаваторы многоковшовые
*Тракторные скреперы
*Бульдозер
27. Что такое система перевязки швов?
*Шов между соседними горизонтальными рядами
*Определенный порядок чередования ложковых и тычковых рядов
*Ряд кирпичной кладки, который выходит на внутреннюю поверхность
*Ряды, размещенные между внутренней и наружной верстами
28. Что на схеме «Разбивка осей траншеи и перенос отметок на ее дно» обозначено цифрой «1»?
*Визирка постоянная
*Визирка ходовая
*Обноска
29. Что на схеме «Разбивка осей траншеи и перенос отметок на ее дно» обозначено цифрой «3»?
*Визирка постоянная
*Визирка ходовая
*Обноска
30. Что не является исходными данными при выборе крана по техническим показателям?
*Габариты и объемно-планировочные решения здания
*Вес и размеры монтируемых элементов
*Погодные явления
*Принятые методы монтажа сооружения
31. Кто составляет проект организация строительства?
*Технический заказчик
*Проектная организация
*Генеральная подрядная организация
*Главный инженер генеральной подрядной организации
32. Для чего применяют скользящую опалубку?
*Для возведения вертикальных конструкций зданий и сооружений постоянного сечения *Для бетонирования крупноразмерных и массивных конструкций
*Для бетонирования замкнутых отдельно стоящих конструкций
*Для возведения конструкций без распалубливания, создания гидроизоляции, облицовки, утепления
33. Какой тип развития процессов во времени представлен на схеме?
*Последовательный
*Параллельный
*Поточный
34. Какой тип развития процессов во времени представлен на схеме?
*Последовательный
*Параллельный
*Поточный
35. Какой тип развития процессов во времени представлен на схеме?
*Последовательный
*Параллельный
*Поточный
36. Что применяется для разработки выемок, возведения насыпей, планировки площадок и других работ?
*Экскаваторы одноковшовые
*Экскаваторы многоковшовые
*Тракторные скреперы
*Бульдозеры
37. Какой тип фундамента применяется при строительстве каркасных деревянных домов, зданий из пенобетонных блоков, кирпичного одноэтажного дома?
*Незаглубленный
*Мелкозаглубленный Т-образного сечения
*Заглубленный прямоугольного сечения
*Заглубленный Т-образного сечения
38. Что такое горизонтальный шов?
*Шов между соседними горизонтальными рядами
*Ряд кирпичной кладки, который выходит на внутреннюю поверхность
*Ряды, размещенные между внутренней и наружной верстами
*Определенный порядок чередования ложковых и тычковых рядов
39. Что такое кляммеры?
*Деревянный кровельный материал в виде тонких дощечек
*Верхний элемент крыши
*Узкие полоски из обрезков кровельной стали
*Внутренний угол пересечения двух плоскостей крыши
40. Что обозначено цифрой «1» на схематичном изображении дизельмолота?
*Штанга
*Цилиндр
*Поршень
*Камера сгорания
41. Что обозначено цифрой «2» на схематичном изображении дизельмолота?
*Штанга
*Цилиндр
*Поршень
*Камера сгорания
42. Что обозначено цифрой «3» на схематичном изображении дизельмолота?
*Штанга
*Цилиндр
*Поршень
*Камера сгорания
43. Что обозначено цифрой «4» на схематичном изображении дизельмолота?
*Штанга
*Цилиндр
*Поршень
*Камера сгорания
44. Что такое внутренняя верста?
*Шов между соседними горизонтальными рядами
*Ряд кирпичной кладки, который выходит на внутреннюю поверхность
*Ряды, размещенные между внутренней и наружной верстами
*Определенный порядок чередования ложковых и тычковых рядов
45. Какое направление развития строительных процессов в пространстве представлено на схеме?
*Вертикально-восходящая
*Вертикально-нисходящая
*Горизонтально-восходящая
*Горизонтально-нисходящая
46. Какое направление развития строительных процессов в пространстве представлено на схеме?
*Вертикально-восходящая
*Вертикально-нисходящая
*Горизонтально-восходящая
*Горизонтально-нисходящая
47. Какое направление развития строительных процессов в пространстве представлено на схеме?
*Вертикально-восходящая
*Вертикально-нисходящая
*Горизонтально-восходящая
*Горизонтально-нисходящая
48. Какое направление развития строительных процессов в пространстве представлено на схеме?
*Вертикально-восходящая
*Вертикально-нисходящая
*Горизонтально-восходящая
*Горизонтально-нисходящая
49. Что такое кровля?
*Деревянный кровельный материал в виде тонких дощечек
*Верхний элемент крыши
*Узкие полоски из обрезков кровельной стали
*Внутренний угол пересечения двух плоскостей крыши
50. Для какого типа свай характерно опускание в подготовленную полость скважины обсадной трубы с чугунным башмаком, который свободно закрепляется на нижнем окончании?
*Буронабивная свайная конструкция с башмаком
*Пневмотрамбованная набивная свая
*Набивная свая из песка
*Грунтобетонная опора
51. Что применяется для отрывки траншей шириной по дну до 1,8 м и глубиной до 3,5 м, а также для отрывки котлованов под ленточные фундаменты?
*Экскаваторы одноковшовые
*Экскаваторы многоковшовые
*Тракторные скреперы
*Бульдозеры
52. Что обозначено цифрой «1» на схеме подъема колонны в вертикальное положение способом скольжения?
*Монтажный кран
*Точка строповки колонны
*Точка установки колонны
*Фундамент
53. Что обозначено цифрой «2» на схеме подъема колонны в вертикальное положение способом скольжения?
*Монтажный кран
*Точка строповки колонны
*Точка установки колонны
*Фундамент
54. Что обозначено цифрой «4» на схеме подъема колонны в вертикальное положение способом скольжения?
*Монтажный кран
*Точка строповки колонны
*Точка установки колонны
*Фундамент
55. Что обозначено цифрой «5» на схеме подъема колонны в вертикальное положение способом скольжения?
*Монтажный кран
*Точка строповки колонны
*Точка установки колонны
*Фундамент
56. Какая система перевязки швов образуется чередованием тычковых и ложковых рядов и отличается высокой прочностью кладки?
*Однорядная (цепная)
*Многорядная
*Трехрядная
*Смешанная
57. Какие размеры имеет утолщенный кирпич?
*250*120*65 мм
*250*120*88 мм
*288*138*63 мм
*288*138*88 мм
58. Что такое трудоемкость работ?
*Совокупность строительных процессов, выполняемых непосредственно на строительной площадке
*Совокупность рабочих операций, технологически связанных между собой и направленных на получение конечной строительной продукции
*Затраты труда (времени) для выполнения определенного объема работ
*Время, необходимое для создания единичной продукции заданного качества одним рабочим в условиях правильной организации труда и с соблюдением технологии выполнения процесса
59. Как можно классифицировать вибраторы по способу воздействия на бетонную смесь?
*Глубинные, поверхностные, наружные
*Электромеханические, электромагнитные, пневматические, гидравлические
*Колебательные, вращательные
*Низкочастотные, среднечастотные, высокочастотные
60. Как можно классифицировать вибраторы по виду используемой энергии?
*Глубинные, поверхностные, наружные
*Электромеханические, электромагнитные, пневматические, гидравлические
*Колебательные, вращательные
*Низкочастотные, среднечастотные, высокочастотные
61. Как можно классифицировать вибраторы по способу возбуждения колебаний?
*Глубинные, поверхностные, наружные
*Электромеханические, электромагнитные, пневматические, гидравлические
*Колебательные, вращательные
*Низкочастотные, среднечастотные, высокочастотные
62. Для какого типа свай характерно применение бурильной установки, оборудованной специальной штанги, а также размещение смесительного бура с установленными плоскостями в виде лопастей?
*Буронабивная свайная конструкция с башмаком
*Пневмотрамбованная набивная свая
*Набивная свая из песка
*Грунтобетонная опора
63. Какой тип фундамента применяется при строительстве каркасных одноэтажных домов при расположении грунтовых вод близко к поверхности земли?
*Незаглубленный
*Мелкозаглубленный Т-образного сечения
*Заглубленный прямоугольного сечения
*Заглубленный Т-образного сечения
64. Какого вида технологической карты не существует?
*Типовая, не привязанная к строящемуся объекту
*Типовая, привязанная к строящемуся объекту
*Рабочая, не привязанная к строящемуся объекту
*Рабочая, привязанная к строящемуся объекту
65. Что такое строительное производство?
*Совокупность строительных процессов, выполняемых непосредственно на строительной площадке
*Совокупность рабочих операций, технологически связанных между собой и направленных на получение конечной строительной продукции
*Затраты труда (времени) для выполнения определенного объема работ
*Время, необходимое для создания единичной продукции заданного качества одним рабочим в условиях правильной организации труда и с соблюдением технологии выполнения процесса
66. Для чего применяют блочную опалубку?
*Для возведения вертикальных конструкций зданий и сооружений постоянного сечения
*Для бетонирования крупноразмерных и массивных конструкций
*Для бетонирования замкнутых отдельно стоящих конструкций
*Для возведения конструкций без распалубливания, создания гидроизоляции, облицовки, утепления
67. Какая система перевязки швов является разновидностью многорядной и образуется чередованием трех ложковых рядов и одного тычкового?
*Однорядная (цепная)
*Многорядная
*Трехрядная
*Смешанная
68. Какие размеры имеет утолщенный кирпич модульных размеров?
*250*120*65 мм
*250*120*88 мм
*288*138*63 мм
*288*138*88 мм
69. Какое условие не является обязательным при устройство каменной кладки?
*Действующая нагрузка перпендикулярна плоскости постели
*В состав бригады должно входить не менее 6 человек
*Плоскости камней, имеющих общее ребро, должны быть перпендикулярны
*Вертикальные швы должны перекрываться постелями вышерасположенных камней
70. Какой тип фундамента применяется при строительстве многоквартирных жилых домов, зданий общественного назначения?
*Незаглубленный
*Мелкозаглубленный Т-образного сечения
*Заглубленный прямоугольного сечения
*Заглубленный Т-образного сечения
71. Какой этап является четвертым в процессе установки перекрытий?
*Подготовительный этап
*Замешивание раствора
*Выравнивание плиты
*Анкеровка
72. На каком расстоянии друг от друга устанавливают обноски на прямых участках для линейно-протяженных сооружений?
*20 м
*30 м
*40 м
*50 м
73. Что относится к основным техническим средствам (орудиям труда)?
*Строительные машины и механизмы, которые непосредственно участвуют в выполнении строительных процессов
*Различного рода оснастка, без которой невозможно или неэффективно выполнение строительных процессов
*Различные средства для перевозки материалов и конструкций
74. Что применяют для плоского армирования?
*Отдельные прутья, арматурные пряди, канаты
*Плоские арматурные каркасы или сетки
*Объемные арматурные каркасы
*Рубленую проволоку диаметром до 2,5 мм
75. Что такое норма времени?
*Совокупность строительных процессов, выполняемых непосредственно на строительной площадке
*Совокупность рабочих операций, технологически связанных между собой и направленных на получение конечной строительной продукции
*Затраты труда (времени) для выполнения определенного объема работ
*Время, необходимое для создания единичной продукции заданного качества одним рабочим в условиях правильной организации труда и с соблюдением технологии выполнения процесса
УЧЕБНЫЕ МАТЕРИАЛЫ
1 Учебные материалы
ТЕМА 1. ОСНОВНЫЕ ПОНЯТИЯ И ПОЛОЖЕНИЯ
ТЕМА 2. ПРОЕКТИРОВАНИЕ СТРОИТЕЛЬНЫХ ТЕХНОЛОГИЙ
ТЕМА 3. ТЕХНОЛОГИЯ РАЗРАБОТКИ ГРУНТА
ТЕМА 4. ТЕХНОЛОГИЯ УСТРОЙСТВА СВАЙНЫХ ФУНДАМЕНТОв
ТЕМА 5. ТЕХНОЛОГИЯ УСТРОЙСТВА ФУНДАМЕНТОВ МЕЛКОГО ЗАЛОЖЕНИЯ
ТЕМА 6. ТЕХНОЛОГИЯ КАМЕННОЙ КЛАДКИ
ТЕМА 7. ТЕХНОЛОГИЯ МОНОЛИТНОГО БЕТОНА И ЖЕЛЕЗОБЕТОНА
ТЕМА 8. ТЕХНОЛОГИЯ МОНТАЖА СБОРНЫХ ЖЕЛЕЗОБЕТОННЫХ КОНСТРУКЦИЙ
ТЕМА 9. ТЕХНОЛОГИЯ МОНТАЖА МЕТАЛЛИЧЕСКИХ КОНСТРУКЦИЙ
ТЕМА 10. ТЕХНОЛОГИЯ УСТРОЙСТВА ЗАЩИТНЫХ ПОКРЫТИЙ
ТЕМА 11. ТЕХНОЛОГИЯ УСТРОЙСТВА ОТДЕЛОЧНЫХ ПОКРЫТИЙ
1 Учебные материалы
ТЕМА 1. ОСНОВНЫЕ ПОНЯТИЯ И ПОЛОЖЕНИЯ
ТЕМА 2. ПРОЕКТИРОВАНИЕ СТРОИТЕЛЬНЫХ ТЕХНОЛОГИЙ
ТЕМА 3. ТЕХНОЛОГИЯ РАЗРАБОТКИ ГРУНТА
ТЕМА 4. ТЕХНОЛОГИЯ УСТРОЙСТВА СВАЙНЫХ ФУНДАМЕНТОв
ТЕМА 5. ТЕХНОЛОГИЯ УСТРОЙСТВА ФУНДАМЕНТОВ МЕЛКОГО ЗАЛОЖЕНИЯ
ТЕМА 6. ТЕХНОЛОГИЯ КАМЕННОЙ КЛАДКИ
ТЕМА 7. ТЕХНОЛОГИЯ МОНОЛИТНОГО БЕТОНА И ЖЕЛЕЗОБЕТОНА
ТЕМА 8. ТЕХНОЛОГИЯ МОНТАЖА СБОРНЫХ ЖЕЛЕЗОБЕТОННЫХ КОНСТРУКЦИЙ
ТЕМА 9. ТЕХНОЛОГИЯ МОНТАЖА МЕТАЛЛИЧЕСКИХ КОНСТРУКЦИЙ
ТЕМА 10. ТЕХНОЛОГИЯ УСТРОЙСТВА ЗАЩИТНЫХ ПОКРЫТИЙ
ТЕМА 11. ТЕХНОЛОГИЯ УСТРОЙСТВА ОТДЕЛОЧНЫХ ПОКРЫТИЙ
Список вопросов
Что обозначено цифрой «2» на схеме подъема колонны в вертикальное положение способом скольжения?

Какое направление развития строительных процессов в пространстве представлено на схеме?

Какой тип фундамента применяется при строительстве индивидуальных домов из любых материалов?
Что на схеме «Разбивка осей траншеи и перенос отметок на ее дно» обозначено цифрой «1»?
![]()

Что обозначено цифрой «3» на схеме разбивки осей фундамента стаканного типа?
![]()

Какой тип развития процессов во времени представлен на схеме?
![]()

Что применяют для объемного армирования?
Что такое норма времени?
На каком расстоянии друг от друга устанавливают обноски на прямых участках для линейно-протяженных сооружений?
Что относится к транспортным техническим средствам (орудиям труда)?
Какой этап является вторым в процессе установки перекрытий?
Какой тип фундамента применяется при строительстве каркасных одноэтажных домов при расположении грунтовых вод близко к поверхности земли?
Что обозначено цифрой «2» на схематичном изображении дизельмолота?
![]()

Для какого типа свай характерно опускание в подготовленную полость скважины обсадной трубы с чугунным башмаком, который свободно закрепляется на нижнем окончании?
Для какого типа свай характерно использование обсадной трубы из стали с башмаком на окончании, которая погружается в землю специальным механизмом, а при достижении проектной глубины засыпается песком?
Что такое строительное производство?
Что обозначено цифрой «4» на схематичном изображении дизельмолота?
![]()

Что обозначено цифрой «1» на схеме кондуктора для временного закрепления балок и ферм?
![]()

Какое условие не является обязательным при устройство каменной кладки?
Какие размеры имеет утолщенный кирпич модульных размеров?
Для чего применяют несъемную опалубку?
Какой раздел не входит в состав технологической карты?
Какой этап является четвертым в процессе установки перекрытий?
Кто утверждает проектную документацию?
Какое направление развития строительных процессов в пространстве представлено на схеме?
![]()

Что не входит в состав ПОС?
Кто составляет проект производства работ?
Что относится к основным техническим средствам (орудиям труда)?
Что применяется для разравнивания грунтов, разработанных землеройными машинами?
Для какого типа свай характерно применение бурильной установки, оборудованной специальной штанги, а также размещение смесительного бура с установленными плоскостями в виде лопастей?
Что обозначено цифрой «3» на схематичном изображении дизельмолота?
![]()

Что такое горизонтальный шов?
Как можно классифицировать вибраторы по виду используемой энергии?
Что применяется для отрывки грунта при разработке всякого рода выемок и производстве вскрышных работ?
Что обозначено цифрой «5» на схеме разбивки осей фундамента стаканного типа?
![]()

Для чего применяют крупнощитовую опалубку?
Что на схеме «Разбивка осей траншеи и перенос отметок на ее дно» обозначено цифрой «3»?
![]()

Какой тип фундамента применяется при строительстве многоквартирных жилых домов, зданий общественного назначения?
Что такое кляммеры?
Что такое трудоемкость работ?
Что обозначено цифрой «6» на схеме разбивки осей фундамента стаканного типа?
![]()

Что такое система перевязки швов?
Какая система перевязки швов образуется чередованием тычковых и ложковых рядов и отличается высокой прочностью кладки?
Что не является исходными данными при выборе крана по техническим показателям?
Что применяется для отрывки траншей шириной по дну до 1,8 м и глубиной до 3,5 м, а также для отрывки котлованов под ленточные фундаменты?
Кто составляет проект организация строительства?
Для чего применяют скользящую опалубку?
Какой тип развития процессов во времени представлен на схеме?
![]()

Что такое внутренняя верста?
Через сколько часов распалубливают вертикальные щиты фундаментов, колонн, стен, ригелей?
Что обозначено цифрой «2» на схеме кондуктора для временного закрепления балок и ферм?
![]()

Кто утверждает проект производства работ?
Какое направление развития строительных процессов в пространстве представлено на схеме?
![]()

Как можно классифицировать вибраторы по способу возбуждения колебаний?
Как можно классифицировать вибраторы по способу воздействия на бетонную смесь?
Какая система перевязки швов является разновидностью многорядной и образуется чередованием трех ложковых рядов и одного тычкового?
Что обозначено цифрой «3» на схеме кондуктора для временного закрепления балок и ферм?
![]()

Для чего применяют блочную опалубку?
Что применяется для разработки выемок, возведения насыпей, планировки площадок и других работ?
Какой тип развития процессов во времени представлен на схеме?
![]()

Что применяют для дисперсного армирования?
Какие размеры имеет утолщенный кирпич?
Какое направление развития строительных процессов в пространстве представлено на схеме?

Что обозначено цифрой «1» на схеме подъема колонны в вертикальное положение способом скольжения?

Что применяют для линейного армирования?
Что обозначено цифрой «4» на схеме подъема колонны в вертикальное положение способом скольжения?

Какой этап является пятым в процессе установки перекрытий?
Какого вида технологической карты не существует?
Что такое кровля?
Что обозначено цифрой «1» на схематичном изображении дизельмолота?
![]()

Что обозначено цифрой «5» на схеме подъема колонны в вертикальное положение способом скольжения?

Какой тип фундамента применяется при строительстве каркасных деревянных домов, зданий из пенобетонных блоков, кирпичного одноэтажного дома?
Что применяют для плоского армирования?
Что такое строительный процесс?
Что обозначено цифрой «4» на схеме кондуктора для временного закрепления балок и ферм?
![]()

Какой тип фундамента применяется при строительстве индивидуальных домов из любых материалов?
Характеристики ответов (шпаргалок) к заданиям
Тип
Коллекция: Ответы (шпаргалки) к заданиям
Учебное заведение
Просмотров
218
Качество
Идеальное компьютерное
Количество вопросов

❓ Как копировать вопросы во время теста в Синергии?

Если нужен другой вариант работы или отдельная задача из любой работы, пишите в комментарии
Комментарии

unreal777x: ну значит нету смысла у вас еще что то приобретать
Перед покупкой надо запустить тест и сверьте подходят ли эти ответы именно Вам

tddd: Вы покупаете ответы не на конкретно ваш тест, а ответы на вопросы, которые в описании указаны
ну значит нету смысла у вас еще что то приобретать

unreal777x: В МТИ сейчас сдавал Технологические процессы в строительстве, там другие вопросы, не один не подошел.
Вы покупаете ответы не на конкретно ваш тест, а ответы на вопросы, которые в описании указаны

tddd: Где именно?
В МТИ сейчас сдавал Технологические процессы в строительстве, там другие вопросы, не один не подошел.

unreal777x: вообще другие вопросы
Где именно?

Отзыв
вообще другие вопросы