Для студентов МГТУ им. Н.Э.Баумана по предмету Сопротивление материаловЗадача 5.3Задача 5.3
4,915453
2023-03-182023-03-18СтудИзба
Задача 5.3 вариант 27
Описание
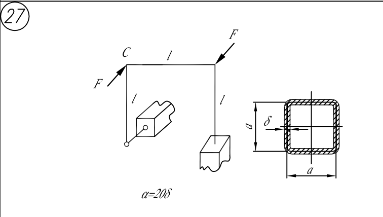
Задание с сайта РК5 Задание 5-3 "Статически неопределимые задачи изгиба" Задача 3 Лист 2. Исходные данные и оформление представлено на фото ниже:
Файлы условия, демо
Характеристики решённой задачи
Предмет
Учебное заведение
Семестр
Номер задания
Вариант
Теги
Просмотров
14
Качество
Идеальное компьютерное
Размер
195,42 Kb
Список файлов
4s2-5.pdf
Комментарии
Нет комментариев
Стань первым, кто что-нибудь напишет!
МГТУ им. Н.Э.Баумана
vVv

















