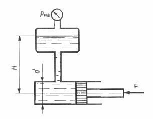
Для студентов по предмету Механика жидкости и газа (МЖГ или Гидравлика)Определить показания мановакуумметра рмв, если к штоку приложена сила F=0,05 кН, его диаметр d=120 мм, высота H=2 м, плотность ρ=800 кг/м3.Определить показания мановакуумметра рмв, если к штоку приложена сила F=0,05 кН, его диаметр d=120 мм, высота H=2 м, плотность ρ=800 кг/м3.
5,00518106
2023-12-072023-12-07СтудИзба
Определить показания мановакуумметра рмв, если к штоку приложена сила F=0,05 кН, его диаметр d=120 мм, высота H=2 м, плотность ρ=800 кг/м3.
Описание
Определить показания мановакуумметра рмв, если к штоку приложена сила F=0,05 кН, его диаметр d=120 мм, высота H=2 м, плотность ρ=800 кг/м3.

Характеристики решённой задачи
Программы
Просмотров
2
Качество
Идеальное компьютерное
Размер
63,24 Kb
Список файлов
Задача.docx
