Для студентов по предмету Механика жидкости и газа (МЖГ или Гидравлика)Задача 2-2Задача 2-2
5,00512
2023-01-282023-01-28СтудИзба
Задача 2: Задача 2-2 вариант 2
Описание
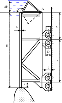
Затвор плотины высотой H=6 м и шириной B=30 м имеет поворотный сегментный клапан, который может увеличивать высоту подпора воды еще на ΔH=1,5 м.
Определить:
1) Горизонтальную силу давления воды на обшивку затвора при опущенном (Pг) и поднятом (Р3) клапане.
2) Расстояние х между катковыми тележками, при котором нагрузки на тележки будут одинаковыми, когда сегментный клапан опущен (размер α=0,2 м).
3) Какое необходимо усилие, чтобы стронуть затвор с поднятым клапаном? Собственный вес затвора G=150 т; внешний диаметр катков D=0,6 м; коэффициент трения качения k=0,01 см; диаметр цапф d=0,3 м; коэффициент трения скольжения в цапфах f=0,15; b=0,1 м; угол α=120°.

Файлы условия, демо
Характеристики решённой задачи
Номер задания
Вариант
Программы
Теги
Просмотров
120
Качество
Идеальное компьютерное
Размер
126,77 Kb
Список файлов
Задача 1.docx
