Главная » Учебные материалы » Механика жидкости и газа (МЖГ или Гидравлика) » Решения задач » Несколько классов/семестров » Кольцевая щель между двумя цилиндрами d =192 мм и D = 200 мм залита трансформаторным маслом ρм =915 кг/м3. Внутренний цилиндр вращается равномерно с частотой n = 110 мин-1. Определить касательные напряжения в жидкости, если момент, приложенный к внут
Для студентов по предмету Механика жидкости и газа (МЖГ или Гидравлика)Кольцевая щель между двумя цилиндрами d =192 мм и D = 200 мм залита трансформаторным маслом ρм =915 кг/м3. Внутренний цилиндр вращается равномерно с чКольцевая щель между двумя цилиндрами d =192 мм и D = 200 мм залита трансформаторным маслом ρм =915 кг/м3. Внутренний цилиндр вращается равномерно с ч
5,0055
2018-01-30СтудИзба

Кольцевая щель между двумя цилиндрами d =192 мм и D = 200 мм залита трансформаторным маслом ρм =915 кг/м3. Внутренний цилиндр вращается равномерно с частотой n = 110 мин-1. Определить касательные напряжения в жидкости, если момент, приложенный к внут

Описание

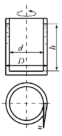
Кольцевая щель между двумя цилиндрами d =192 мм и D = 200 мм залита трансформаторным маслом ρм =915 кг/м3. Внутренний цилиндр вращается равномерно с частотой n = 110 мин-1. Определить касательные напряжения в жидкости, если момент, приложенный к внутреннему цилиндру, М = 0,06 Н⋅м, а высота столба жидкости в щели между цилиндрами h = 100 мм. Трением основания внутреннего цилиндра пренебречь.

Подробное решение с пояснениями в word13.

Характеристики решённой задачи

Программы
Просмотров
756
Качество
Идеальное компьютерное
Размер
37,14 Kb

Список файлов

17499-16554-1517316274-zadacha.docx
Картинка-подпись

Комментарии

Нет комментариев
Стань первым, кто что-нибудь напишет!
Поделитесь ссылкой:
Цена: 79 руб.
Расширенная гарантия +3 недели гарантии, +10% цены
Рейтинг покупателей
5 из 5
Поделитесь ссылкой:
Сопутствующие материалы
Сосуд заполнен слоями воды и масла (ρм = 800кг/м3) одинаковой высоты h= 1м. Определить время опорожнения сосуда, если диаметр отверстия d = 2 см, площадь горизонтального сечения сосуда Ω= 1 м2.
Насос подаёт воду в водонапорную башню по трубопроводу длиной l = 30 м, диаметром d = 5 см. Манометрическое давление, которое создает насос, р = 5,2 бар. Вода движется по трубопроводу со скоростью υ = 2,6 м/с. Определить, на какую высоту поднимется ж
По дну водоема на глубине Н = 10 м проложен трубопровод диаметром D = 500 мм, по которому под избыточным давлением ри=1,0 МПа перекачивается нефть (ρн=880 кг/м3). Определить усилие, разрывающее трубопровод в плоскости 1-1.
К крышке цилиндрического резервуара диаметром D = 2,0 м подсоединён пьезометр диаметром d = 6 см, высота жидкости в котором h = 2,0 м. Определить силы гидростатического давления жидкости на дно и верхнюю крышку, если Н = 1 м, а плотность жидкости ρ =
Определить потерю давления в диффузоре с начальным d=10 мм и конечным D=20 мм диаметрами, если вязкость жидкости ν=1 Ст; плотность ρ=900 кг/м3; расход Q=1 л/с; угол диффузора α=5°. При решении задачи считать, что в любом сечении диффузора существует
Определить потери напора по длине при равномерном движении жидкости по трубопроводу со средней скоростью υcp=0,4 м/с, если коэффициент кинематической вязкости жидкости ν=0,4∙10-4 м2/с, диаметр трубопровода d=100 мм, его длина l=1000м.

Подобрали для Вас услуги

-30%
-40%
-30%
Вы можете использовать решённую задачу для примера, а также можете ссылаться на неё в своей работе. Авторство принадлежит автору работы, поэтому запрещено копировать текст из этой работы для любой публикации, в том числе в свою задачу в учебном заведении, без правильно оформленной ссылки. Читайте как правильно публиковать ссылки в своей работе.
Свежие статьи
Популярно сейчас
А знаете ли Вы, что из года в год задания практически не меняются? Математика, преподаваемая в учебных заведениях, никак не менялась минимум 30 лет. Найдите нужный учебный материал на СтудИзбе!
Ответы на популярные вопросы
Да! Наши авторы собирают и выкладывают те работы, которые сдаются в Вашем учебном заведении ежегодно и уже проверены преподавателями.
Да! У нас любой человек может выложить любую учебную работу и зарабатывать на её продажах! Но каждый учебный материал публикуется только после тщательной проверки администрацией.
Вернём деньги! А если быть более точными, то автору даётся немного времени на исправление, а если не исправит или выйдет время, то вернём деньги в полном объёме!
Да! На равне с готовыми студенческими работами у нас продаются услуги. Цены на услуги видны сразу, то есть Вам нужно только указать параметры и сразу можно оплачивать.
Отзывы студентов
Ставлю 10/10
Все нравится, очень удобный сайт, помогает в учебе. Кроме этого, можно заработать самому, выставляя готовые учебные материалы на продажу здесь. Рейтинги и отзывы на преподавателей очень помогают сориентироваться в начале нового семестра. Спасибо за такую функцию. Ставлю максимальную оценку.
Лучшая платформа для успешной сдачи сессии
Познакомился со СтудИзбой благодаря своему другу, очень нравится интерфейс, количество доступных файлов, цена, в общем, все прекрасно. Даже сам продаю какие-то свои работы.
Студизба ван лав ❤
Очень офигенный сайт для студентов. Много полезных учебных материалов. Пользуюсь студизбой с октября 2021 года. Серьёзных нареканий нет. Хотелось бы, что бы ввели подписочную модель и сделали материалы дешевле 300 рублей в рамках подписки бесплатными.
Отличный сайт
Лично меня всё устраивает - и покупка, и продажа; и цены, и возможность предпросмотра куска файла, и обилие бесплатных файлов (в подборках по авторам, читай, ВУЗам и факультетам). Есть определённые баги, но всё решаемо, да и администраторы реагируют в течение суток.
Маленький отзыв о большом помощнике!
Студизба спасает в те моменты, когда сроки горят, а работ накопилось достаточно. Довольно удобный сайт с простой навигацией и огромным количеством материалов.
Студ. Изба как крупнейший сборник работ для студентов
Тут дофига бывает всего полезного. Печально, что бывают предметы по которым даже одного бесплатного решения нет, но это скорее вопрос к студентам. В остальном всё здорово.
Спасательный островок
Если уже не успеваешь разобраться или застрял на каком-то задание поможет тебе быстро и недорого решить твою проблему.
Всё и так отлично
Всё очень удобно. Особенно круто, что есть система бонусов и можно выводить остатки денег. Очень много качественных бесплатных файлов.
Отзыв о системе "Студизба"
Отличная платформа для распространения работ, востребованных студентами. Хорошо налаженная и качественная работа сайта, огромная база заданий и аудитория.
Отличный помощник
Отличный сайт с кучей полезных файлов, позволяющий найти много методичек / учебников / отзывов о вузах и преподователях.
Отлично помогает студентам в любой момент для решения трудных и незамедлительных задач
Хотелось бы больше конкретной информации о преподавателях. А так в принципе хороший сайт, всегда им пользуюсь и ни разу не было желания прекратить. Хороший сайт для помощи студентам, удобный и приятный интерфейс. Из недостатков можно выделить только отсутствия небольшого количества файлов.
Спасибо за шикарный сайт
Великолепный сайт на котором студент за не большие деньги может найти помощь с дз, проектами курсовыми, лабораторными, а также узнать отзывы на преподавателей и бесплатно скачать пособия.
Популярные преподаватели
Добавляйте материалы
и зарабатывайте!
Продажи идут автоматически
6863
Авторов
на СтудИзбе
271
Средний доход
с одного платного файла
Обучение Подробнее
{user_main_secret_data}