ДЗ 1: Расчёт линейных цепей постоянного тока вариант 50
Описание

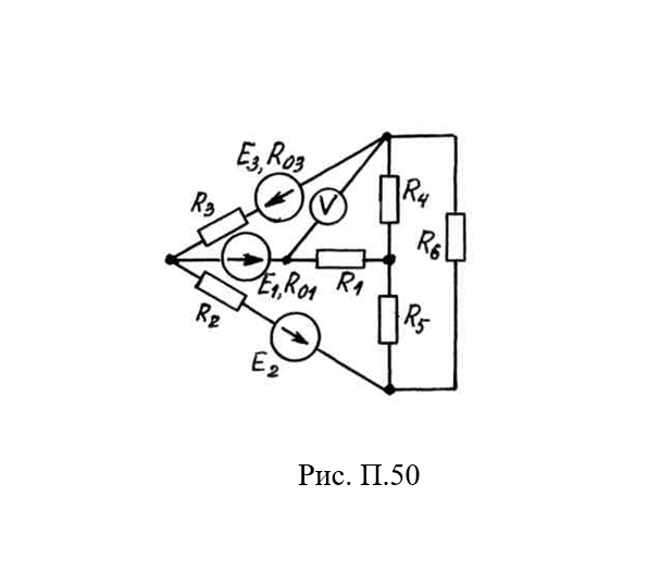
Е1 | Е2 | Е3 | R01 | R02 | R03 | R1 | R2 | R3 | R4 | R5 | R6 |
5 | 30 | 16 | 0,4 | — | 0,7 | 6 | 4 | 3 | 2 | 5 | 3 |
1. Содержание домашнего задания. Выбор исходных данных
1.1. В соответствии с номером варианта домашнего задания, нарисовать заданную схему и выписать исходные числовые данные из таблицы, приведенной в приложении 1.
1.2. Для заданной схемы составить систему уравнений по законам Кирхгофа, подставить в нее числовые значения, соответствующие рассматриваемому варианту задания, и, используя компьютер, определить все токи в ветвях схемы.
1.3. Записать уравнение баланса мощностей для исходной схемы, Подставить известные числовые значения и оценить относительную погрешность расчета.
1.4. Для исходной схемы составить систему уравнений по методу контурных токов, подставить числовые значения и, используя компьютер, определить все токи в ветвях исходной схемы.
1.5. Преобразовать исходную электрическую цепь в эквивалентную, заменив пассивный треугольник резисторов R4, R5, R6 эквивалентной звездой. Начертить полученную цепь с эквивалентной звездой и показать на ней токи.
Рассчитать полученную цепь, используя метод узловых потенциалов (метод двух узлов). Определить все токи, соответствующие первоначальной схеме.
1.6. Определить ток в резисторе R6 методом эквивалентного
генератора. Сопоставить полученное значение этого тока с результатами расчета его другими методами.
1.7. Определить показание вольтметра, указанного в исходной схеме.
1.8. Рассчитать и построить потенциальную диаграмму для
внешнего контура исходной схемы.
1.9. Сопоставить рассмотренные методы расчета электрических цепей, сделать соответствующие выводы.
МГТУ им. Н.Э.Баумана


















